LEMON Manuals: Even more car manuals for everyone: 1960-2025
Home >> Honda >> 2012 >> Odyssey EX >> Repair and Diagnosis >> Steering >> Power Steering >> Steering System >> Pump Overhaul >> Exploded View >> Reassembly
April 5, 2026: LEMON Manuals is launched! Read the announcement.

Exploded View: Reassembly

  1. 17. Install the new pump seal (A) (with its grooved side facing in) into the pump housing (B) by hand, then drive it in using the driver handle (C) and the attachment (D) until the pump seal is fully seated in the pump housing. Do not apply more than 1, 370 N (140 kgf, 308 lbf) of pressure.
    Fig 1: Installing Pump Seal Into Pump Housing
    G06970598Courtesy of AMERICAN HONDA MOTOR CO., INC.
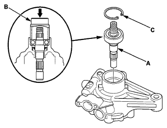
  2. 18. Position the driveshaft (A) in the pump housing, then press it in with the appropriate size socket (B) as shown.
    Fig 2: Pressing Driveshaft Using Socket
    G06970599Courtesy of AMERICAN HONDA MOTOR CO., INC.
  3. 19. Install the 40 mm snap ring (C) with its radiused edge facing out.
  4. 20. Coat the new 23.8 mm O-ring (A) with power steering fluid, then position it on the bottom (B) of the pump housing.
    Fig 3: Identifying O-Ring Power Steering Fluid Applying Area
    G06970600Courtesy of AMERICAN HONDA MOTOR CO., INC.
  5. 21. Coat the new cover seal (A) and new 13.0 mm O-rings (B) with power steering fluid, then position them into the grooves on the cover (C).
    Fig 4: Identifying Cover Seal And O-Ring Power Steering Fluid Applying Area
    G06970601Courtesy of AMERICAN HONDA MOTOR CO., INC.
  6. 22. Install the outer case (A) by aligning the slot (B) inside the outer case with the pump cover roll pin set hole (C).
    Fig 5: Identifying Alignment Slot On Outer Case And Pump Cover Set Hole
    G06970602Courtesy of AMERICAN HONDA MOTOR CO., INC.
  7. 23. Insert the roll pin (D) into the slots between the cam ring and outer case, then push the roll pin into the set hole.
  8. 24. Install the cam ring (A) by aligning the slot (B) with the slot (C) in the outer case.
    Fig 6: Installing Cam Ring
    G06970603Courtesy of AMERICAN HONDA MOTOR CO., INC.
  9. 25. Insert the roll pin (D) into the slots between the cam ring and outer case, then push the roll pin into the set hole (E).
  10. 26. Apply power steering fluid to the new rubber seal (F) (black), and install it in the slot (G) of the cam ring.
  11. 27. Apply power steering fluid to the new slipper seal (H) (white), and install it on top of the rubber seal you just installed.
  12. 28. Install the rotor (A) into the cam ring (B).
    Fig 7: Identifying Vanes Round End Contact With Sliding Surface Of Cam Ring
    G06970604Courtesy of AMERICAN HONDA MOTOR CO., INC.
  13. 29. Set the 11 vanes (C) in the grooves in the rotor. Make sure that the round ends (D) of the vanes are in contact with the sliding surface of the cam ring.
  14. 30. Place the side plate (A) on the cam ring, and align the roll pin set hole (B) with the roll pin (C).
    Fig 8: Identifying O-Ring Power Steering Fluid Applying Area
    G06970605Courtesy of AMERICAN HONDA MOTOR CO., INC.
  15. 31. Coat the new 57.2 mm O-ring (D) with power steering fluid, then position it into the groove on the side plate.
  16. 32. Install the pump housing (A) over the cover assembly (B).
    Fig 9: Identifying Pump Housing And Cover Assembly
    G06970606Courtesy of AMERICAN HONDA MOTOR CO., INC.
  17. 33. Align the bolt holes in the cover (A) with the threaded holes in the pump housing. Install the flange bolts loosely first, then torque the flange bolts to the specified torque alternating in two or more steps.
    Fig 10: Pump Assembly Cover Mounting Bolts With Torque Specification
    G06970607Courtesy of AMERICAN HONDA MOTOR CO., INC.
  18. 34. Push in the cam ring (A) from the pump housing cap hole (B) with a flat-tip screwdriver to make sure the cam ring is fully seated against the outer case.
    Fig 11: Pushing Cam Ring From Pump Housing Cap Hole
    G06970608Courtesy of AMERICAN HONDA MOTOR CO., INC.
  19. 35. Install the pump preload spring (A) in the pump housing.
    Fig 12: Pump Housing Cap, Pump Preload Spring With O-Ring Power Steering Fluid Applying Area And Torque Specifications
    G06970609Courtesy of AMERICAN HONDA MOTOR CO., INC.
  20. 36. Coat the new 12.7 mm O-ring (B) with power steering fluid, and install it on the pump housing cap (C).
  21. 37. Install the pump housing cap on the pump housing, and tighten it to the specified torque.
  22. 38. Install the flow control valve spring (A) in the pump housing.
    Fig 13: Flow Control Valve, Control Valve Spring And O-Ring With PSF Applying Area And Torque Specifications
    G06970610Courtesy of AMERICAN HONDA MOTOR CO., INC.
  23. 39. Coat the flow control valve (B) with power steering fluid, and install it in the pump housing.
  24. 40. Coat the new 16.7 mm O-ring (C) with power steering fluid, and install it on the flow control valve cap (D).
  25. 41. Install the pressure control valve cap on the pump housing, and tighten it to the specified torque.
  26. 42. Coat the new 14.8 mm O-ring (A) with power steering fluid, and install it on the inlet joint (B).
    Fig 14: Inlet Joint And O-Ring With PSF Applying Area With Torque Specifications
    G06970611Courtesy of AMERICAN HONDA MOTOR CO., INC.
  27. 43. Install the inlet joint on the pump housing.
  28. 44. Install the pulley (A), then loosely install the pulley nut (B). Hold the steering pump in a vise with soft jaws (C). Be careful not to damage the pump housing with the jaws of a vise.
    Fig 15: Installing Pulley With Torque Specifications
    G06970612Courtesy of AMERICAN HONDA MOTOR CO., INC.
  29. 45. Hold the pulley with the pulley holder, and tighten the pulley nut to the specified torque.
  30. 46. Check that the power steering pump turns smoothly by turning the pulley by hand. If it turns hard, loosen the four flange bolts on the pump cover, then retighten them in the same manner as in step  33. Retest. If the power steering pump is still hard to turn, replace the power steering pump.
  31. 47. Install the power steering pump (see PUMP REPLACEMENT  ).