LEMON Manuals: Even more car manuals for everyone: 1960-2025
Home >> Honda >> 2012 >> Odyssey EX >> Repair and Diagnosis >> Steering >> Power Steering >> Steering System >> Steering Gearbox Overhaul >> Exploded View >> Disassembly
April 5, 2026: LEMON Manuals is launched! Read the announcement.

Exploded View: Disassembly

  1. Remove the steering gearbox (see STEERING GEARBOX REMOVAL AND INSTALLATION  ).
  2. Remove both tie-rod ends from the rack ends.
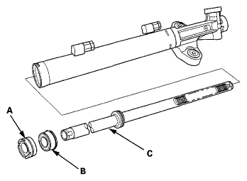
  3. Drill a 4.0 mm (0.158 in) diameter hole about 2.5-3.0 mm (0.098-0.118 in) in depth in the staked points (A) on the end plug (B) and the gearbox housing (C).
    Fig 1: Drilling Hole In Staked Points On End Plug And Gearbox Housing
    G06970525Courtesy of AMERICAN HONDA MOTOR CO., INC.
  4. Remove the end plug (A) from the gearbox housing, then remove the nut (B) from the pinion shaft end.
    Fig 2: Identifying End Plug And Nut
    G06970526Courtesy of AMERICAN HONDA MOTOR CO., INC.
  5. Remove the boot bands (A) and tie-rod clips (B). Pull the boot away from the ends of the steering gearbox. Repeat this step for the other side.
    Fig 3: Removing Boot Band
    G06970527Courtesy of AMERICAN HONDA MOTOR CO., INC.
  6. Hold the gearbox housing using a C-clamp (A) and wooden blocks (B) to a work bench as shown. Do not clamp the cylinder part of the gearbox housing in a vise.
    Fig 4: Holding Gearbox Housing Using C-Clamp And Wooden Blocks
    G06970528Courtesy of AMERICAN HONDA MOTOR CO., INC.
  7. Unbend the lock washer (A).
    Fig 5: Unbending Lock Washer
    G06970529Courtesy of AMERICAN HONDA MOTOR CO., INC.
  8. Hold the flat surface sections (A) of the steering rack (B) with one wrench, and unscrew both rack ends (C) with another wrench. Be careful not to damage the rack surface with the wrench.
    Fig 6: Unscrewing Rack Ends Using Wrench
    G06970530Courtesy of AMERICAN HONDA MOTOR CO., INC.
  9. Remove the lock washer (D). Repeat steps  7 thru 9 for the other side.
  10. Loosen the locknut (A), then remove the rack guide screw (B).
    Fig 7: Identifying Rack Guide, Spring And Lock Nut
    G06970531Courtesy of AMERICAN HONDA MOTOR CO., INC.
  11. Remove the spring (C) and the rack guide (D) from the gearbox housing.
  12. Remove the cylinder lines (A) from the steering gearbox housing (B).
    NOTE: Use a second wrench when loosening the cylinder lines to avoid damage to the fittings on the steering gearbox.
    Fig 8: Removing Cylinder Lines From Steering Gearbox Housing
    G06970532Courtesy of AMERICAN HONDA MOTOR CO., INC.
  13. Remove the connector A, the connector B, and the O-rings (C) from the steering gearbox.
    Fig 9: Identifying Steering Gearbox Connectors And O-Rings
    G06970533Courtesy of AMERICAN HONDA MOTOR CO., INC.
  14. Drain the fluid from the cylinder fittings by slowly moving the steering rack back and forth.
  15. Remove the flange bolts, the valve body unit (A), and gasket (B) from the gearbox housing. Check that the valve turns smoothly by turning the pinion shaft. If any play or roughness is felt, replace the valve body unit with a new part.
    Fig 10: Identifying Valve Body Unit And Gasket
    G06970534Courtesy of AMERICAN HONDA MOTOR CO., INC.
  16. Wrap the vinyl tape (A) over the splines on the pinion shaft, then separate the valve housing (B) from the pinion shaft/sleeve (C) and valve oil seal (D).
    Fig 11: Identifying Valve Housing, Pinion Shaft/Sleeve, Valve Oil Seal And Vinyl Tape Wrapping Over Splines Of Pinion Shaft
    G06970535Courtesy of AMERICAN HONDA MOTOR CO., INC.
  17. Turn the rack stop (A) counterclockwise until the end (B) of the circlip (C) sticks out from the hole (D) in the cylinder housing. Then turn it clockwise to remove the circlip.
    Fig 12: Turning Rack Stop Counterclockwise
    G06970536Courtesy of AMERICAN HONDA MOTOR CO., INC.
  18. Remove the rack stop (A), rack bushing (B), and steering rack (C) from the steering gearbox.
    Fig 13: Identifying Rack Stop, Rack Bushing And Steering Rack
    G06970537Courtesy of AMERICAN HONDA MOTOR CO., INC.
  19. Remove the O-ring (A) and cylinder end seal (B) from the rack bushing (C).
    Fig 14: Identifying O-Ring, Cylinder End Seal And Rack Bushing
    G06970538Courtesy of AMERICAN HONDA MOTOR CO., INC.
  20. Carefully pry the piston seal ring (A) and O-ring (B) off the rack piston. Be careful not to damage the inside of the seal ring groove and piston edges when removing the seal ring.
    Fig 15: Removing Piston Seal Ring And O-Ring
    G06970539Courtesy of AMERICAN HONDA MOTOR CO., INC.
  21. Insert the driver handle (A) and driver head (B), and carefully place them on the cylinder end seal (C) as shown. Make sure that the driver head is securely positioned on the cylinder end seal.
    Fig 16: Inserting Driver Handle And Driver Head
    G06970540Courtesy of AMERICAN HONDA MOTOR CO., INC.
  22. Install the bearing separator (D) on the gearbox housing. Set the steering gearbox in a press so the gearbox housing points upward, then push out the cylinder end seal by pressing on the end of the driver handle and driver head.
  23. Remove the steering gearbox from the press, and set a driver extension (A) on the driver handle (B). Place the steering gearbox in a press, then remove the cylinder end seal (C) from the gearbox housing by pressing on the end of the extension.

    Note these items when pressing the cylinder end seal:

    • Keep the tool straight to avoid damaging the cylinder wall. Check the tool angle, and correct it if necessary, when removing the cylinder end seal.
    • Use a press to remove the cylinder end seal. Do not try to remove the seal by striking the tool; striking the tool would break the cylinder end seal, and the seal would remain in the gearbox housing.
      Fig 17: Setting Driver Extension On Driver Handle
      G06970541Courtesy of AMERICAN HONDA MOTOR CO., INC.