LEMON Manuals: Even more car manuals for everyone: 1960-2025
Home >> Honda >> 2012 >> Odyssey V6-3.5L >> Repair and Diagnosis >> Heating and Air Conditioning >> Refrigerator >> Service and Repair >> Cool Box Control Switch Replacement (With Climate Control)
April 5, 2026: LEMON Manuals is launched! Read the announcement.

Cool Box Control Switch Replacement (With Climate Control)




Cool Box Control Switch Replacement

1. Remove the center lower console Dashboard Center Lower Console Removal/Installation.

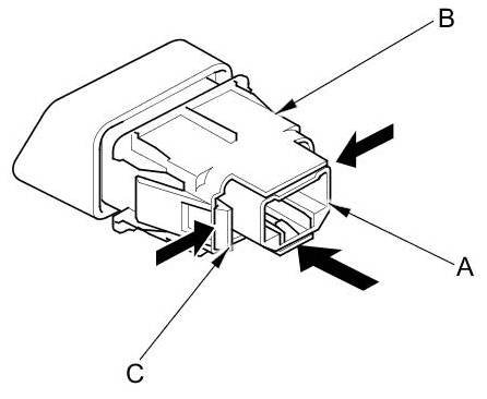
2. Remove the cool box control switch (A) from the center console, then disconnect the connector (B).






3. Push the cool box control switch (A) from the holder (B) by pushing the tabs (C).






4. While pushing the tabs (A) with a flat-tip screwdriver, and remove the holder (B) from the cool box control switch.





5. Remove the bulbs (C).

6. Install the cool box control switch in the reverse order of removal.