LEMON Manuals: Even more car manuals for everyone: 1960-2025
Home >> Honda >> 2012 >> Odyssey V6-3.5L >> Repair and Diagnosis >> Powertrain Management >> Computers and Control Systems >> Transmission Position Sensor/Switch >> Service and Repair >> Transmission Range Switch Replacement (5-Speed A/T)
April 5, 2026: LEMON Manuals is launched! Read the announcement.

Transmission Range Switch Replacement (5-Speed A/T)




Transmission Range Switch Replacement

1. Remove the air intake scoop.

2. Do the battery removal procedure.

3. Remove the air cleaner Service and Repair.

4. Remove the intake air duct.

5. Remove the main under-hood fuse box.

6. Remove the battery base.

7. Remove the spring clip (A) and the control pin (B), then separate the shift cable end (C) from the selector control lever (D).





8. Remove the nuts securing the shift cable bracket (E).

9. Check the bushing (F) in the shift cable end for proper fit and wear. If the bushing is loose or worn, replace the shift cable Shift Cable Replacement (5-Speed A/T).

10. Disconnect the transmission range switch connector.

11. Pry the lock tab of the lock washer (A) on the selector control lever (B), and remove the nut (C), the lock washer, the spring washer (D), and the selector control lever.





12. Pry the lock tabs of the lock washer (E) on the transmission range switch (F), hold the selector control shaft (G) with a 6.0 mm wrench, and loosen the locknut (H).

13. Remove the locknut and the lock washer, then remove the transmission range switch (two bolts).

14. With a 6 mm wrench, turn the selector control shaft counterclockwise (viewed from the shaft end) to the P position. Then turn the selector control shaft clockwise two clicks to the N position.






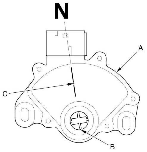
15. Set the transmission range switch (A) to the N position, by turning the selector control shaft hub (B) of the switch until it aligns with N position line (C).






16. Install the transmission range switch (A) gently over the selector control shaft (B), and install the bolts loosely.






17. Install a new lock washer (A) over the selector control shaft (B) by aligning the indicator tab (C) of the lock washer with the N positioning line (D) on the transmission range switch (E), and install the locknut (F).






18. Push the locknut (A) against the transmission housing to seat the transmission range switch into the selector control shaft, and tighten the locknut to 18 Nm (1.8 kg-m, 13 lb-ft) while holding the selector control shaft (B) with a 6 mm wrench (C), then bend the lock tabs (D) of the lock washer against the locknut.





19. Tighten the bolts (E) securing the transmission range switch to 12 Nm (1.2 kg-m, 9 lb-ft).

20. Install the control lever (A), the spring washer (B), a new lock washer (C), and the locknut (D) on the selector control shaft (E). Bend the lock tab of the lock washer against the locknut.






21. Check the connectors for corrosion, dirt, or oil, and clean or repair if necessary, then connect the connector securely.

22. Apply molybdenum grease to the center of the bushing on the shift cable end. Attach the shift cable end to the selector control lever, then insert the control pin into the selector control lever hole through the shift cable end, and secure the control pin with the spring clip.

23. Secure the shift cable bracket with the nuts.

24. Install the battery base.

25. Install the main under-hood fuse box.

26. Install the intake air duct.

27. Install the air cleaner Service and Repair.

28. Do the battery installation procedure.

29. Install the air intake scoop.

30. Turn the ignition switch to ON (II). Move the shift lever through all positions, and verify the transmission range switch matches with the A/T gear position indicator.

31. Check that the engine only starts in P and N.

32. Check that the back-up lights come on when the shift lever is in R.

33. Allow the front wheels to rotate freely, then start the engine, and check the shift lever operation.