LEMON Manuals: Even more car manuals for everyone: 1960-2025
Home >> Honda >> 2012 >> Odyssey V6-3.5L >> Repair and Diagnosis >> Transmission and Drivetrain >> Automatic Transmission/Transaxle >> Shift Interlock >> Service and Repair >> Shift Lock Release/Release Spring Replacement (5-Speed A/T)
April 5, 2026: LEMON Manuals is launched! Read the announcement.

Shift Lock Release/Release Spring Replacement (5-Speed A/T)




Shift Lock Release/Release Spring Replacement

NOTE: Do not wipe off the special grease applied to the area of the shift lever marked with an asterisk (*) when you disassemble or assemble it.

1. Remove the shift lever assembly Shift Lever Removal (5-Speed A/T).

2. Remove the shift lever knob Shift Lever Knob And Shift Lever Knob Cover Replacement (5-Speed A/T).

3. Remove the A/T gear position indicator panel light socket (A) from the indicator panel (B).





4. Remove the A/T gear position indicator panel assembly by expanding the four lock tabs (C) from the shift lever assembly (D).

5. Remove the harness wire tie (A), and disconnect the D3 switch connector (B).






6. Remove the A/T gear position indicator panel assembly (A), the shift lever ring (B), and the D3 switch (C) from the shift lever assembly.






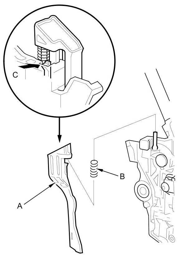
7. Remove the shift lock release (A) and release spring (B) by pressing the lock tab (C).






8. Replace the shift lock release and the release spring.

9. Install the shift lock release spring and the shift lock release.

10. Install the A/T gear position indicator panel assembly (A), the shift lever ring (B), and the D3 switch (C) to the shift lever assembly.






11. Connect the D3 switch connector (A). Route the D3 switch harness (B) and the A/T gear position indicator panel light harness (C) along with the shift lever assembly, and tie the harnesses at the guide (D) with the harness wire tie (E)






12. Install the A/T gear position indicator panel assembly (A) on the shift lever assembly by aligning the four lock tabs (B).





13. Install the A/T gear position indicator panel light socket (C) in the indicator panel.

14. Install the shift lever knob Shift Lever Knob And Shift Lever Knob Cover Replacement (5-Speed A/T).

15. Install the shift lever assembly Shift Lever Removal (5-Speed A/T).