LEMON Manuals: Even more car manuals for everyone: 1960-2025
Home >> Honda >> 2012 >> Pilot 2WD V6-3.5L >> Repair and Diagnosis >> Body and Frame >> Locks >> Keyless Entry >> Testing and Inspection >> Component Tests and General Diagnostics >> Keyless/Power Door Locks/Security System (MICU And Door Multiplex Control Unit) Input Test
April 5, 2026: LEMON Manuals is launched! Read the announcement.

Keyless/Power Door Locks/Security System (MICU And Door Multiplex Control Unit) Input Test




Keyless/Power Door Locks/Security System (MICU and Door Multiplex Control Unit) Input Test

NOTE: Before testing, troubleshoot the multiplex integrated control unit first, using B-CAN System Diagnosis Test Mode A Troubleshooting - B-CAN System Diagnosis Test Mode A, and make sure the lighting system works properly.

MICU

1. Turn the ignition switch to LOCK (0).

2. Remove the driver's dashboard lower cover Driver's Dashboard Lower Cover Removal/Installation.

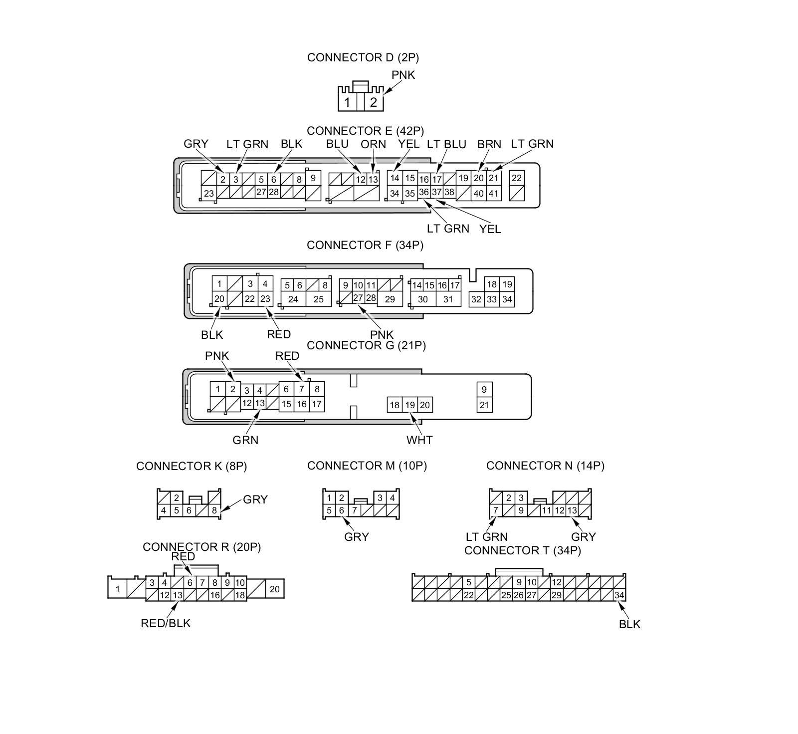
3. Disconnect under-dash fuse/relay box connectors D, E, F, G, K, M, N, R, and T.

NOTE: All connector views are shown from the wire side of female terminals.






4. Inspect the connector and socket terminals to be sure they are all making good contact.

- If the terminals are bent, loose, or corroded, repair them as necessary and recheck the system.
- If the terminals look OK, go to step 5.

5. With the connectors still disconnected, do the following input tests.

- If any test indicates a problem, find and correct the cause, then recheck the system.
- If all the input tests prove OK, go to step 6.

NOTE: Before testing, make sure the No. 29 (20 A) fuse in the under-dash fuse/relay box.






6. Reconnect the connectors to the under-dash fuse/relay box, and do the following input tests.

- If any test indicates a problem, find and correct the cause, then recheck the system.
- If all the input tests prove OK, go to step 7.










Door Multiplex Control Unit

7. Turn the ignition switch to LOCK (0).

8. Remove the power window master switch Power Window Master Switch Replacement.

9. Disconnect the 37P connector from the power window master switch.






10. Inspect the connector and socket terminals to be sure they are all making good contact.

- If the terminals are bent, loose, or corroded, repair them as necessary and recheck the system.
- If the terminals look OK, go to step 11.

11. With the connector still disconnected, do the following input test.

- If any test indicates a problem, find and correct the cause, then recheck the system.
- If the input test proves OK, go to step 12.





12. Reconnect the 37P connector to the door multiplex control unit, and do the following input tests.

- If any test indicates a problem, find and correct the cause, then recheck the system.
- If all the input tests prove OK, go to step 13.






Front Passenger's Power Window Switch

13. Turn the ignition switch to LOCK (0).

14. Remove the front passenger's power window switch Front Passenger's Power Window Switch Replacement.

15. Disconnect the 37P connector from the front passenger's power window switch.





16. Inspect the connector and socket terminals to be sure they are all making good contact.

- If the terminals are bent, loose, or corroded, repair them as necessary and recheck the system.
- If the terminals look OK, go to step 17.

17. Reconnect the 37P connector to the front passenger's power window switch, and do the following input tests.

- If any test indicates a problem, find and correct the cause, then recheck the system.
- If the input test proves OK, go to step 18.





18. If multiple failures are found on more than one control unit, replace the under-dash fuse/relay box (includes the MICU) Under-Dash Fuse/Relay Box Removal And Installation. If input failures are related to a particular control unit, replace the control unit.