LEMON Manuals: Even more car manuals for everyone: 1960-2025
Home >> Honda >> 2012 >> Ridgeline RT >> Repair and Diagnosis >> Transmission >> Automatic Trans >> Automatic Transmission >> Transfer Assembly >> Inspection
April 5, 2026: LEMON Manuals is launched! Read the announcement.

Transfer Assembly: Inspection

NOTE: To prevent damage to the transfer housing, always use soft jaws or equivalent materials between the transfer housing and a vise.

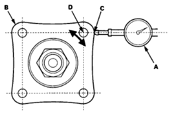
Transfer Gear Backlash Measurement 

  1. Set a dial indicator (A) on the transfer companion flange (B); position the dial indicator tip (C) on the direct extension of the bolt hole canter (D).
    Fig 1: Measuring Transfer Gear Backlash
    G06629219Courtesy of AMERICAN HONDA MOTOR CO., INC.
  2. Measure the transfer gear backlash.

    Standard: 0.06-0.17 mm (0.002-0.007 in) 

    Total Starting Torque Measurement 

  3. Secure the transfer housing (A) in a bench vise (B) with soft jaws.
    Fig 2: Measuring Total Starting Torque
    G06629220Courtesy of AMERICAN HONDA MOTOR CO., INC.
  4. Rotate the transfer companion flange several times to seat the tapered roller bearings.
  5. Measure the staring torque at the companion flange (C) using a torque wrench (D) and a socket (E).

    Standard: 3.20-4.16 N.m (32.6-42.4 kgf.cm, 28.3-36.8 lbf.in) 

  6. If the starting torque is out of standard, disassemble the transfer assembly and repair it.