LEMON Manuals: Even more car manuals for everyone: 1960-2025
Home >> Honda >> 2012 >> Ridgeline RTL >> Repair and Diagnosis >> Body & Frame >> Windows >> Glass >> Back Window Glass Run Channel Replacement
April 5, 2026: LEMON Manuals is launched! Read the announcement.

Back Window Glass Run Channel Replacement

NOTE:
  • Put on gloves to protect your hands.
  • Take care not to bend or scratch the trim or the panels.
  1. Remove the back window middle glass (see BACK WINDOW MIDDLE GLASS REPLACEMENT ).
  2. Carefully cut the glass run channel (A) on the middle glass areas (B) with a utility knife (C), and then pull out the glass run channel from the top and bottom groove areas of the back window molding (D). Take care not to damage the molding.
    Fig 1: Cutting Glass Run Channel On Middle Glass Areas With Knife
    G05965596Courtesy of AMERICAN HONDA MOTOR CO., INC.
  3. Check the molding for damage, and replace if necessary.
  4. Scrape out the remaining glass run channels (A) with a knife or similar tool from the grooves (B) in the middle glass areas of the back window molding (C).
    Fig 2: Scraping Out Remaining Glass Run Channels
    G05965597Courtesy of AMERICAN HONDA MOTOR CO., INC.
  5. Clean the molding bonding surface with a shop towel dampened in isopropyl alcohol. After cleaning, keep oil, grease and water from getting on the clean surface.
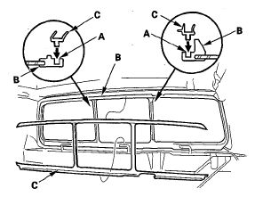
  6. Apply a light coat of primer to the groove areas (A) of the back window molding (B). Install the glass run channel (C) to the top and bottom groove areas of the molding, and then attach the glass run channel to the middle glass areas of the molding with structural adhesive (3M DP8005).
    Fig 3: Installing Glass Run Channel To Top And Bottom Groove Areas Of Molding
    G05965598Courtesy of AMERICAN HONDA MOTOR CO., INC.
  7. Remove the excess adhesive with a shop towel dampened with isopropyl alcohol.
  8. Reinstall all removed parts.