LEMON Manuals: Even more car manuals for everyone: 1960-2025
Home >> Honda >> 2012 >> Ridgeline V6-3.5L >> Repair and Diagnosis >> Relays and Modules >> Relays and Modules - Restraints and Safety Systems >> Air Bag Control Module >> Service and Repair
April 5, 2026: LEMON Manuals is launched! Read the announcement.

Air Bag Control Module: Service and Repair




SRS Unit Replacement

Removal

1. Do the battery terminal disconnection procedure Procedures, then wait at least 3 minutes before starting work.

2. Remove the driver's and passenger's console side trim.

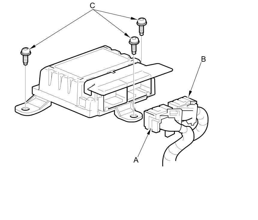
3. '09-11 models: Disconnect SRS unit connector A (28P) and SRS unit connector B (28P).

'12 models: Disconnect SRS unit connector A (39P) and SRS unit connector B (39P).

NOTE: '12 model: The SRS unit connectors have lever locks. Release the locks before disconnecting the connectors.

'09-11 models





'12 model





4. Remove the TORX bolts (C) using a TORX T30 bit, then pull out the SRS unit.

Installation

1. '09-11 models: Install the SRS unit (A) with new TORX bolts (B) using a TORX T30 bit, then connect the connectors (C) to the SRS unit; push them into position until they click.

NOTE: Be sure the SRS unit is sitting squarely against its bracket before torquing the TORX bolts.

'12 models: Install the SRS unit (A) with new TORX bolts (B) using a TORX T30 bit, then connect the SRS connectors (C) to the SRS unit; push them into position until they click and the lever locks are fully secured.

NOTE: Be sure the SRS unit is sitting squarely against its bracket before torquing the TORX bolts.

'09-11 models





'12 model





2. Install the driver's and passenger's console side trim.

3. Do the battery terminal reconnection procedure Procedures.

4. Do the ODS unit initialization Programming and Relearning.

5. Check the operation of the ODS unit with the HDS Component Tests and General Diagnostics.

6. Confirm proper SRS operation: Turn the ignition switch to ON (II), and check that the SRS indicator comes on for about 6 seconds and then goes off.