LEMON Manuals: Even more car manuals for everyone: 1960-2025
Home >> Honda >> 2012 >> Ridgeline V6-3.5L >> Repair and Diagnosis >> Specifications >> Mechanical Specifications >> Engine >> Cylinder Head Assembly >> System Specifications >> Torque & Sequence
April 5, 2026: LEMON Manuals is launched! Read the announcement.

Torque & Sequence




Cylinder Head

Torque the cylinder head bolts in sequence to 30 Nm (3.1 kg-m, 22 lb-ft) using a beam-type torque wrench. When using a preset click-type torque wrench, be sure to torque slowly and do not over tighten. If a bolt makes any noise while you are torquing it, loosen the bolt and retighten it from the first step.

FRONT






REAR






After torquing, tighten all cylinder head bolts in two steps (90 ° per step) using the sequence shown in step 11. If you are using a new cylinder head bolt, tighten the bolt an extra 90 °.

NOTE: Remove the cylinder head bolt if you tightened it beyond the specified angle, and go back to step 7 of the procedure. Do not loosen it back to the specified angle.






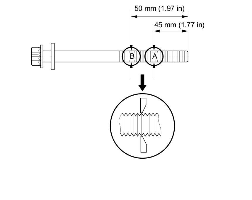
Bolt Re-Usability

Measure the diameter of each cylinder head bolt at point A and point B.






If either diameter is less than 10.6 mm (0.417 in), replace the cylinder head bolt.

Camshaft Bearing Cap Torque & Sequence




Front

Tighten each bolt two turns at a time in the sequence shown to ensure that the rockers do not bind on the valves.














Rear

Tighten each bolt two turns at a time in the sequence shown to ensure that the rockers do not bind on the valves.














Intake Manifold Specifications

Exhaust Manifold Specifications

Camshaft Gear/Sprocket Specifications