LEMON Manuals: Even more car manuals for everyone: 1960-2025
Home >> Honda >> 2013 >> CR-Z Base, Standard Trans >> Repair and Diagnosis (Single Page) >> Heating, Ventilation & A/C (HVAC) >> HVAC Control Systems >> Climate Control >> System Description >> A/C Pressure Sensor >> Notes
April 5, 2026: LEMON Manuals is launched! Read the announcement.

A/C Pressure Sensor: Notes

The A/C pressure sensor converts A/C pressure into electrical signals to the ECM/PCM.

A/C SENSOR OUTPUT VOLTAGE SPECIFICATION

A/C System Pressure(1) Sensor Output Voltage (V out) System Operation HDS PGM-FI Data List
Abnormally low pressure: Below 196 kPa (2.00 kgf/cm2 , 28.4 psi) Below 0.685 V The ECM/PCM disengages the compressor clutch. The radiator and A/C condenser fans operate based on engine coolant temperature. FAN HIGH CONTROL: ON, OFF
FAN LOW CONTROL: ON, OFF
A/C PRESSURE SENSOR: V, kPa (kgf/cm2 )
Normal operating pressure:
  • Above 196 kPa (2.00 kgf/cm2 , 28.4 psi)
  • Below 1, 230 kPa (12.54 kgf/cm2 , 178.4 psi)
0.686 V to 1.944 V The ECM/PCM cycles the compressor clutch based on cooling demand. The radiator and A/C condenser fans operate at low speed unless the engine coolant temperature exceeds 206°F (97°C).
High operating pressure:
  • Above 1, 230 kPa (12.54 kgf/cm2 , 178.4 psi)
  • Below 3, 138 kPa (32.00 kgf/cm2 , 455.1 psi)
1.945 V to 4.575 V The ECM/PCM cycles the compressor clutch based on cooling demand. The radiator and A/C condenser fans operate at high speed.
Abnormally high pressure: More than 3, 138 kPa (32.00 kgf/cm2 , 455.1 psi) Above 4.575 V The ECM/PCM disengages the compressor clutch. The radiator and A/C condenser fans operate based on engine coolant temperature.
(1) The A/C system pressure can be monitored in the HDS PGM-FI Data List

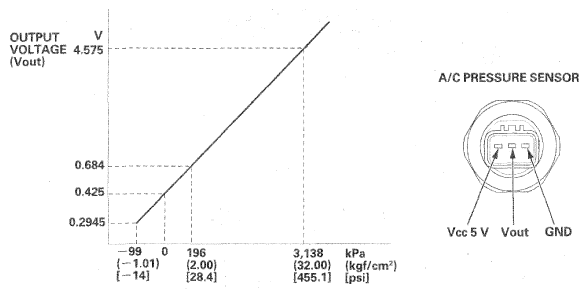
The response of the A/C pressure sensor is shown in the graph.

Fig 1: A/C Pressure Sensor Ouptput Voltage Graph
G06953609Courtesy of AMERICAN HONDA MOTOR CO., INC.