LEMON Manuals: Even more car manuals for everyone: 1960-2025
Home >> Honda >> 2013 >> CR-Z Base, Standard Trans >> Repair and Diagnosis >> External Pages >> Different variant/trim >> Section 1 (CVT) >> A/T Gear Position Indicator >> Transmission Range Switch Replacement
April 5, 2026: LEMON Manuals is launched! Read the announcement.

Transmission Range Switch Replacement

WARNING: This page is about a different variant/trim than selected.
  1. Apply the parking brake, and move the shift lever to N.
  2. Remove the air cleaner (see AIR CLEANER ELEMENT INSPECTION/REPLACEMENT ).
  3. Disconnect the transmission range switch 8P connector (A), and remove the control shaft cover (B).
    Fig 1: Locating Transmission Range Switch 8P Connector And Control Shaft Cover
    G06951127Courtesy of AMERICAN HONDA MOTOR CO., INC.
  4. Remove the transmission range switch (C).
  5. Make sure the selector control shaft is in the N position. If necessary, move the shift lever from P to N.
    NOTE: Do not use the selector control shaft to adjust the shift position. If the selector control shaft tips are squeezed together it will cause a faulty signal or position due to play between the selector control shaft and the transmission range switch.
    Fig 2: Moving Shift Lever From P To N
    G06951128Courtesy of AMERICAN HONDA MOTOR CO., INC.
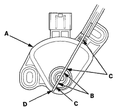
  6. Set a new transmission range switch (A) to the N position, align the cutouts (B) on the rotary-frame with the neutral positioning cutouts (C) on the transmission range switch. Then put a 2.0 mm (0.079 in) feeler gauge blade (D) in the cutouts to hold the transmission range switch in the N position.
    NOTE: Be sure to use a 2.0 mm (0.079 in) feeler gauge blade or equivalent to hold the transmission range switch in the N position.
    Fig 3: Identifying Feeler Gauge Blade In Cutouts
    G06951129Courtesy of AMERICAN HONDA MOTOR CO., INC.
  7. Install the transmission range switch (A) gently on the selector control shaft (B) while holding it in the N position with the 2.0 mm (0.079 in) feeler gauge blade (C).
    Fig 4: Installing Transmission Range Switch On Selector Control Shaft While Holding It In N Position
    G06951130Courtesy of AMERICAN HONDA MOTOR CO., INC.
  8. Tighten the bolts (A) on the transmission range switch while you continue to hold the N position with the 2.0 mm (0.079 in) feeler gauge blade (B). Do not move the transmission range switch when tightening the bolts. Then remove the 2.0 mm (0.079 in) feeler gauge blade.
    Fig 5: Locating Transmission Range Switch Bolts With Torque Specifications
    G06951131Courtesy of AMERICAN HONDA MOTOR CO., INC.
  9. Install the selector control shaft cover (A) on the transmission range switch (B).
    Fig 6: Locating Selector Control Shaft Cover And Transmission Range Switch Components
    G06951132Courtesy of AMERICAN HONDA MOTOR CO., INC.
  10. Check the connector for rust, dirt, or oil, clean or repair if necessary, then connect the transmission range switch 8P connector (C) securely.
  11. Turn the ignition switch to ON (II). Move the shift lever through all positions, and check the transmission range switch synchronization with the A/T gear position indicator.
  12. Check that the engine will start with the shift lever in P and N, and will not start in any other shift lever position.
  13. Check that the back-up lights come on when the shift lever is in R.
  14. Raise the vehicle on a lift, or apply the parking brake, block the rear wheels, and raise the front of the vehicle. Make sure it is securely supported, and allow the front wheels to rotate freely.
  15. Start the engine, and check the shift lever operation.
  16. Install the air cleaner (see AIR CLEANER ELEMENT INSPECTION/REPLACEMENT ).