LEMON Manuals: Even more car manuals for everyone: 1960-2025
Home >> Honda >> 2013 >> Fit Base, Automatic Trans >> Repair and Diagnosis (Single Page) >> Accessories & Equipment >> Infotainment >> Navigation System >> Audio-Navigation Unit Removal/Installation
April 5, 2026: LEMON Manuals is launched! Read the announcement.

Audio-Navigation Unit Removal/Installation

SRS components are located in this area. Review the SRS component location COMPONENT LOCATION INDEX and the precautions and procedures PRECAUTIONS AND PROCEDURES in the SRS section before doing repairs or service.

NOTE:
  • Before replacing the audio-navigation unit, back-up the customer data using system diagnostic mode Save Users Memory under the functional setup (see FUNCTIONAL SETUP  ).
  • If the audio-navigation unit is replaced or disconnected, Map Matching must be done (see MAP MATCHING  ).
  • Put on gloves to protect your hands.
  • Take care not to scratch the dashboard and related parts.
  • Lay a workshop towel under the parts when working on them to protect the face panel from scratches or other damage.
  • Do not work in a dusty or dirty place.
  • Discharge static electricity from your body before and during the work.
  • Do not work with dirty hands.
  • Do not touch the terminal connector of the flat plate cable with your bare hands. (If you have touched it, wipe it off thoroughly.)
  • Eject the disc before removing the audio-navigation unit to prevent damaging the CD/DVD player's load mechanism.
  • If you are replacing the audio-navigation unit, write down the audio presets (if possible), then enter them into the new audio-navigation unit.
  1. Make sure you have the 4-digit anti-theft code for the navigation system.
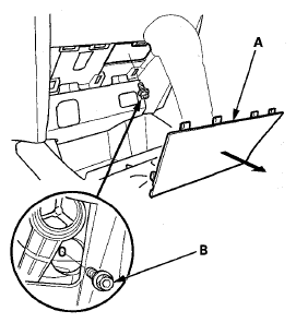
  2. Remove the center lower cover (A).
    Fig 1: Removing Center Lower Cover
    G08083233Courtesy of AMERICAN HONDA MOTOR CO., INC.
  3. Move the recirculation control lever to FRESH to ease access, then remove the mounting bolt (B).
  4. Open the dashboard upper tray lid. Insert a flat-tip screwdriver in the groove (A), then pull the screwdriver shaft up slightly.
    Fig 2: Inserting Flat-Tip Screwdriver In Groove
    G08083234Courtesy of AMERICAN HONDA MOTOR CO., INC.
  5. Pull the center panel (A) out and disconnect the connectors, then remove the center panel/audio-navigation unit assembly.
    NOTE: When you disconnect audio-navigation unit connector A, while pushing the tab (B), pull the lever (C) up and disconnect the connector.
    Fig 3: Removing Center Panel Out
    G08083235Courtesy of AMERICAN HONDA MOTOR CO., INC.
  6. Remove the screws, brackets (A), and the audio-navigation unit (B) from the center panel (C).
    NOTE: If you are replacing the audio-navigation unit, remove the SD module from the audio-navigation unit and install it into the replacement audio-navigation unit (see AUDIO-NAVIGATION UNIT REMOVAL/INSTALLATION  ).
    Fig 4: Identifying Audio-Navigation Unit Replacement Components With Torque Specifications
    G08083236Courtesy of AMERICAN HONDA MOTOR CO., INC.
  7. Install the audio-navigation unit in the reverse order of removal, and make sure all connectors are secure.
  8. Check any official Honda service website for more service information about the navigation system.
  9. Enter the new navigation anti-theft code, then enter the radio presets.
  10. Park the vehicle outside, and do the GPS initialization (see GPS INITIALIZATION  ).
  11. Give the new navigation anti-theft code to the customer.