LEMON Manuals: Even more car manuals for everyone: 1960-2025
Home >> Honda >> 2013 >> Fit Base, Automatic Trans >> Repair and Diagnosis >> Engine Mechanical >> Auxiliary Emission Control Systems >> EVAP System >> EVAP Canister Replacement
April 5, 2026: LEMON Manuals is launched! Read the announcement.

EVAP Canister Replacement

  1. Raise the vehicle on a lift.
  2. Except LX (A/T model): Remove the fuel tank cover (A)
    Fig 1: Fuel Tank Cover With Torque Specifications
    G05953272Courtesy of AMERICAN HONDA MOTOR CO., INC.
  3. LX (A/T model): Remove the floor under cover assembly (A).
    Fig 2: Floor Under Cover Assembly With Torque Specifications
    G05953273Courtesy of AMERICAN HONDA MOTOR CO., INC.
  4. Remove the hoses (A), and disconnect the fuel sub-harness 6P connector (B).
    Fig 3: Hoses & Fuel Sub-Harness 6P Connector With Torque Specifications
    G05953274Courtesy of AMERICAN HONDA MOTOR CO., INC.
  5. Remove the bolts (A).
    Fig 4: EVAP Canister Bolts With Torque Specifications
    G05953275Courtesy of AMERICAN HONDA MOTOR CO., INC.
  6. Remove the EVAP canister assembly (B).
  7. Disconnect the FTP sensor connector (C), the hose (D), and the clips (E).
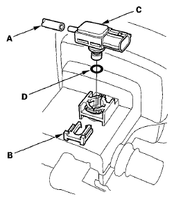
  8. Disconnect the hose (A), remove the retainer (B) and remove the FTP sensor (C).
    NOTE: When installing the FTP sensor, use a new O-ring (D).
    Fig 5: Identifying Hose, Retainer, FTP Sensor & O-Ring
    G05953276Courtesy of AMERICAN HONDA MOTOR CO., INC.
  9. Install the parts in the reverse order of removal.