LEMON Manuals: Even more car manuals for everyone: 1960-2025
Home >> Honda >> 2013 >> Insight Base >> Repair and Diagnosis >> Accessories & Equipment >> Entertainment Systems >> Audio System >> Speaker Test/Replacement >> Tweeter
April 5, 2026: LEMON Manuals is launched! Read the announcement.

Speaker Test/Replacement: Tweeter

NOTE:
  • Be careful not to damage the tweeter grille and the dashboard.
  • When prying with a flat-tip screwdriver, wrap it with protective tape to prevent damage.
  1. Carefully pry the tweeter grille (A) out of the dashboard.
    Fig 1: Identifying Tweeter Grille And 2P Connector
    G08095038Courtesy of AMERICAN HONDA MOTOR CO., INC.
  2. Disconnect the 2P connector (B) from the tweeter.
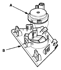
  3. Remove the tweeter (A) from the tweeter grille (B).
    Fig 2: Identifying Tweeter And Tweeter Grille
    G08095039Courtesy of AMERICAN HONDA MOTOR CO., INC.
  4. Check the capacitor condition. If any malfunction is found, replace the tweeter.
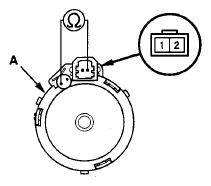
  5. Measure the resistance between the tweeter (A) terminal No. 2 and the outside terminal of the capacitor. There should be about 4 ft.
    Fig 3: Measuring Resistance Between Tweeter Terminal No. 2 And Outside Terminal Of Capacitor
    G08095040Courtesy of AMERICAN HONDA MOTOR CO., INC.
  6. If the resistance is not as specified, replace the tweeter.
  7. Install the tweeter in the reverse order of removal.