LEMON Manuals: Even more car manuals for everyone: 1960-2025
Home >> Honda >> 2013 >> Insight Base >> Repair and Diagnosis >> External Pages >> Different car >> Section 64 (Keyless/Power Door Locks/Security System) >> Transmitter Test >> Without HDS
April 5, 2026: LEMON Manuals is launched! Read the announcement.

Without HDS

WARNING: This page is about a different car, the 2011 Honda Insight and 2010 Honda Insight. However, it is still accessible from the selected car via links, so may be relevant.
  1. Start the engine.
  2. Press the transmitter lock or unlock button at least 10 times to reset the transmitter.
    • If the locks work, the transmitter is OK.
    • If the locks don't work, go to step 3.
  3. Open the transmitter, and check for water damage.
    • If you find any water damage, replace the transmitter and register the new transmitter.
    • If there is no water damage, go to step 4.
    Fig 1: Exploded View Of Transmitter
    G06431541Courtesy of AMERICAN HONDA MOTOR CO., INC.
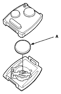
  4. Replace the transmitter battery (A) with a new one, and try to lock and unlock the doors with the transmitter by pressing the lock or unlock button at least 10 times.
    • If the doors lock and unlock, the transmitter is OK.
    • If the doors don't lock and unlock, go to step 5.
    Fig 2: Identifying Transmitter Battery
    G06431542Courtesy of AMERICAN HONDA MOTOR CO., INC.
  5. Reprogram and register the transmitter (see IMMOBILIZER KEY REGISTRATION ), then try to lock and unlock the doors.
    • If the doors lock and unlock, the transmitter is OK.
    • If the doors don't lock and unlock, substitute a known-good transmitter, and recheck. If the doors still do not lock and unlock, replace the immobilizer-keyless control unit.