LEMON Manuals: Even more car manuals for everyone: 1960-2025
Home >> Honda >> 2013 >> Insight Base >> Repair and Diagnosis >> Hybrid/Electric Powertrain >> Testing and Diagnosis >> IMA System >> Battery Module Removal/Installation
April 5, 2026: LEMON Manuals is launched! Read the announcement.

Battery Module Removal/Installation

IMA components are located in this area. The IMA is a high-voltage system. You must be familiar with the IMA system before working on or around it. Make sure you have read the IMA service precautions before doing repairs or service (see SERVICE PRECAUTIONS ).

  1. Make sure the ignition switch is in LOCK (0).
  2. Do the 12 volt battery terminal disconnection procedure (see USING THE GR8 BATTERY DIAGNOSTIC STATION ).
  3. Remove the IPU case (see IPU CASE REMOVAL/INSTALLATION ).
  4. Remove the IPU module front air duct (A).
    Fig 1: Identifying IPU Module Front Air Duct
    G08092953Courtesy of AMERICAN HONDA MOTOR CO., INC.
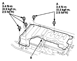
  5. Remove the bolts (A), the IPU frames (B), and the ground bolt (C).
    Fig 2: IPU Frames And Ground Bolt With Torque Specifications
    G08092954Courtesy of AMERICAN HONDA MOTOR CO., INC.
  6. Disconnect the connectors (A, B, C).
    Fig 3: Identifying IPU Wire Harness With Connectors
    G08092955Courtesy of AMERICAN HONDA MOTOR CO., INC.
  7. Remove the IPU wire harness (D).
  8. Disconnect MCM connector (A).
    Fig 4: Identifying MCM Connector
    G08092956Courtesy of AMERICAN HONDA MOTOR CO., INC.
  9. Remove the bolts (A, B) and the PCU busplate (C).
    Fig 5: PCU Busplate And Mounting Bolts With Torque Specifications
    G08092957Courtesy of AMERICAN HONDA MOTOR CO., INC.
  10. Remove the bolts (A) and the PCU cover (B).
    Fig 6: PCU Cover And Mounting Bolts With Torque Specifications
    G08092958Courtesy of AMERICAN HONDA MOTOR CO., INC.
  11. Disconnect the MCM connectors (A).
    Fig 7: MCM, Connectors And Bolts With Torque Specifications
    G08092959Courtesy of AMERICAN HONDA MOTOR CO., INC.
  12. Remove the bolts (B) and the MCM (C).
  13. Remove the bolts (A) and the terminal cover (B).
    Fig 8: Terminal Cover And Mounting Bolts With Torque Specifications
    G08092960Courtesy of AMERICAN HONDA MOTOR CO., INC.
  14. Disconnect the phase motor current sensor connector (A).
    Fig 9: Phase Motor Current Sensor, Connector And Mounting Bolts With Torque Specifications
    G08092961Courtesy of AMERICAN HONDA MOTOR CO., INC.
  15. Remove the bolts (B, C) and the phase motor current sensor (D).
  16. Remove the bolts (A, B) and the PCU wire harness (C).
    Fig 10: PCU Wire Harness And Mounting Bolts With Torque Specifications
    G08092962Courtesy of AMERICAN HONDA MOTOR CO., INC.
  17. Remove the bolts (A) and the MPI module (B).
    Fig 11: MPI Module And Mounting Bolts With Torque Specifications
    G08092963Courtesy of AMERICAN HONDA MOTOR CO., INC.
  18. Install the parts in the reverse order of removal.
  19. Do the 12 volt battery terminal reconnection procedure (see USING THE GR8 BATTERY DIAGNOSTIC STATION ).