LEMON Manuals: Even more car manuals for everyone: 1960-2025
Home >> Honda >> 2013 >> Insight EX >> Repair and Diagnosis (Single Page) >> Engine Performance >> System >> Fuel And Emissions Systems >> General Troubleshooting Information >> CKP Pattern Clear/CKP Pattern Learn >> Substituting the PCM
April 5, 2026: LEMON Manuals is launched! Read the announcement.

Substituting the PCM

Special Tools Required 

Any one of the above updating tools can be used.

NOTE:
  • Use this procedure when you have to substitute a known-good PCM during troubleshooting procedures.
  • Make sure the HDS/iN workstation or the MVCI has the latest HDS software version.
  1. Connect the HDS to the data link connector (DLC) (A) located under the driver's side of the dashboard.
    Fig 1: Identifying Data Link Connector (DLC)
    G08092146Courtesy of AMERICAN HONDA MOTOR CO., INC.
  2. Turn the ignition switch to ON (II).
  3. Make sure the HDS communicates with the PCM and other vehicle systems. If it doesn't, go to the DLC circuit troubleshooting (see DLC CIRCUIT TROUBLESHOOTING ).

    If you are returning from DLC circuit troubleshooting, skip steps 4 and  5, then the clean the throttle body after substituting the PCM.

  4. Select the INSPECTION MENU with the HDS.
  5. Select the ETCS TEST, then select the TP POSITION CHECK, and follow the screen prompts.
    NOTE: If the TP POSITION CHECK indicates FAILED, continue this procedure.
  6. Turn the ignition switch to LOCK (0).
  7. Jump the SCS line with the HDS.
  8. Remove the PCM cover (A), then go to step 9 (KC model) or step  10 (except KC model).
    Fig 2: Identifying PCM Cover
    G08092147Courtesy of AMERICAN HONDA MOTOR CO., INC.
  9. Remove the bracket (A).
    Fig 3: PCM Bracket And Bolts With Torque Specifications
    G08092148Courtesy of AMERICAN HONDA MOTOR CO., INC.
  10. Remove the bolts (D).
    Fig 4: PCM Mounting Bolts With Torque Specifications
    G08092149Courtesy of AMERICAN HONDA MOTOR CO., INC.
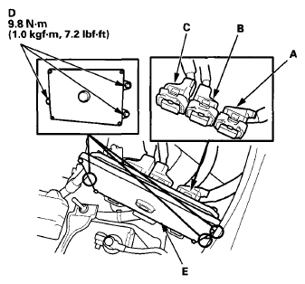
  11. Disconnect PCM connectors A, B, and C, then remove the PCM (E).
    NOTE: PCM connectors A, B, and C have symbols (A=□, B=↑ , C=◦) embossed on them for identification.
  12. Install a known-good PCM in the reverse order of removal.
  13. Turn the ignition switch to ON (II).
    NOTE: DTC P0630 (VIN Not Programmed or Mismatch) may be stored because the VIN has not been programmed into the PCM; ignore it, and continue this procedure.
  14. Manually input the VIN to the PCM with the HDS.
  15. Select the IMMOBI SYSTEM with the HDS.
  16. Enter the immobilizer PCM code that you got from the iN, and use the PCM replacement procedure in the IMMOBI MENU of the HDS; it allows you to start the engine.
  17. If the TP POSITION CHECK failed in step  5, clean the throttle body (see THROTTLE BODY TEST ).
  18. Reset the PCM with the HDS.
  19. Update the PCM if it does not have the latest software (see PCM UPDATE ).
  20. Do the PCM idle learn procedure (see PCM IDLE LEARN PROCEDURE ).
    NOTE: If the IMA battery level indicator displays no level, start the engine, and hold it between 3, 500 and 4, 000 rpm without load (in P or N) until the level in the indicator is half full.
  21. Do the CKP pattern clear/CKP pattern learn procedure.
  22. Do the start clutch control calibration procedure (see START CLUTCH PRESSURE CONTROL CALIBRATION PROCEDURES ).