LEMON Manuals: Even more car manuals for everyone: 1960-2025
Home >> Honda >> 2013 >> Odyssey EX >> Repair and Diagnosis >> Engine Performance >> Engine Control Systems >> Active Control Engine Mount (ACM) System >> General Troubleshooting Information >> How to Troubleshoot Circuits at the Engine Mount Control Unit
April 5, 2026: LEMON Manuals is launched! Read the announcement.

How to Troubleshoot Circuits at the Engine Mount Control Unit

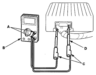
  1. Connect one side of the patch cords terminals (A), to a commercially available digital multimeter (B), and connect the other side of the terminals (C) to a commercially available banana jack (Pomona Electronics Tool No. 3563 or equivalent) (D).
    Fig 1: Identifying Patch Cords Terminals Connection With Digital Multimeter And Other Terminals To Banana Jack
    G06966303Courtesy of AMERICAN HONDA MOTOR CO., INC.
  2. Using the wire insulation as a guide for the contoured tip of the backprobe adapter, gently slide the tip into the connector from the wire side until it touches the end of the wire terminal.
  3. If you cannot get to the wire side of the connector or the wire side is sealed (A), disconnect the connector, and probe the terminals (B) from the terminal side. Do not force the probe into the connector.
    NOTE: Do not puncture the insulation on a wire. Punctures can cause poor or intermittent electrical connections.
    Fig 2: Identifying Sealed Wire Side And Terminals Of Terminal Side
    G06966304Courtesy of AMERICAN HONDA MOTOR CO., INC.