LEMON Manuals: Even more car manuals for everyone: 1960-2025
Home >> Honda >> 2013 >> Ridgeline RT >> Repair and Diagnosis (Single Page) >> Electrical >> Body Electrical >> Fuse/Relay Boxes >> Connector To Fuse/Relay Box Index >> Under-Dash Fuse/Relay Box
April 5, 2026: LEMON Manuals is launched! Read the announcement.

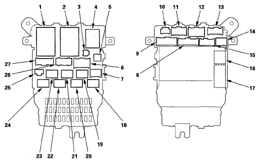
Under-Dash Fuse/Relay Box

Fig 1: Identifying Under-Dash Fuse/Relay Box
G05968616Courtesy of AMERICAN HONDA MOTOR CO., INC.
UNDER-DASH FUSE/RELAY BOX TERMINAL AND SOCKET REFERENCE CHART

Socket Ref Terminal Connects to
A 6 6 Ignition switch harness (see IGNITION SWITCH HARNESS )
A/F sensor relay 20 4  
B 12 6 Right engine compartment wire harness (see RIGHT ENGINE COMPARTMENT WIRE HARNESS )
C 11 12 Right engine compartment wire harness (see RIGHT ENGINE COMPARTMENT WIRE HARNESS )
D 13 17 Right engine compartment wire harness (see RIGHT ENGINE COMPARTMENT WIRE HARNESS )
E 8 16 Floor wire harness (see FLOOR WIRE HARNESS (LEFT BRANCH) )
F 9 14 Floor wire harness (see FLOOR WIRE HARNESS (LEFT BRANCH) )
G 14 6 Not used
H 15 14 Floor wire harness (see FLOOR WIRE HARNESS (LEFT BRANCH) )
Ignition coil relay 23 4  
J 27 21 Driver's door subharness (see DRIVER'S DOOR WIRE HARNESS )
K 26 12 Driver's door subharness (see DRIVER'S DOOR WIRE HARNESS )
M 25 3 MICU service check connector
N 2 45 Dashboard wire harness (see DASHBOARD WIRE HARNESS (LEFT BRANCH) )
P (MICU) 17 30 Dashboard wire harness (see DASHBOARD WIRE HARNESS (LEFT BRANCH) )
PGM-FI main relay 1 (Fl MAIN) 21 4  
PGM-FI main relay 2 (FUEL PUMP) 24 4  
Power window relay 22 4  
Q (MICU) 16 14 Floor wire harness (see FLOOR WIRE HARNESS (LEFT BRANCH) )
R (MES connector) 3 2 Dashboard wire harness (see DASHBOARD WIRE HARNESS (LEFT BRANCH) )
Rear accessory power socket relay 19 4  
S 5 2 Dashboard wire harness (see DASHBOARD WIRE HARNESS (LEFT BRANCH) )
Starter cut relay 18 4  
T 7 6 Optional connector
Turn signal/hazard relay 4 6  
W 10 5 Roof wire harness (see ROOF WIRE HARNESS )
X 1 39 Dashboard wire harness (see DASHBOARD WIRE HARNESS (LEFT BRANCH) )