LEMON Manuals: Even more car manuals for everyone: 1960-2025
Home >> Honda >> 2013 >> Ridgeline RT >> Repair and Diagnosis >> Accessories & Equipment >> Communication Devices >> Multiplex Integrated Control System >> MICU Input Test
April 5, 2026: LEMON Manuals is launched! Read the announcement.

MICU Input Test

NOTE: Check the No. 22 (120 A), No. 23 (60 A), No. 15 (40 A) fuse in the under-hood fuse/relay box before troubleshooting.
  1. Before troubleshooting the MICU, troubleshoot the multiplex integrated control system first, using B-CAN System Diagnosis Test mode A (see TROUBLESHOOTING - B-CAN SYSTEM DIAGNOSIS TEST MODE A ).
  2. Turn the ignition switch to LOCK (0).
  3. Remove the left front door sill trim and left kick panel (see TRIM REMOVAL/INSTALLATION - DOOR AREAS ).
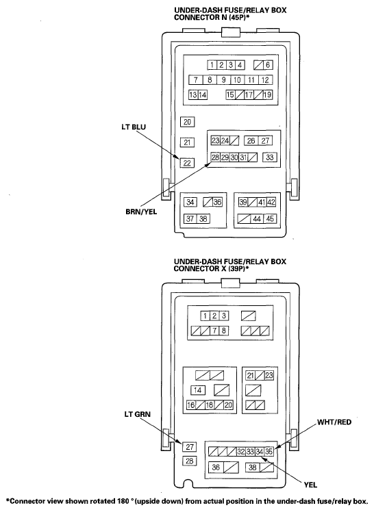
  4. Disconnect the under-dash fuse/relay box connectors D, E, H, J, K, N, P, W and X.
    NOTE: All connector views are wire side of female terminals.
    Fig 1: Identifying Under-Dash Fuse/Relay Box Connectors Terminals (1 Of 2)
    G05968648Courtesy of AMERICAN HONDA MOTOR CO., INC.
    Fig 2: Identifying Under-Dash Fuse/Relay Box Connectors Terminals (2 Of 2)
    G05968649Courtesy of AMERICAN HONDA MOTOR CO., INC.
  5. Inspect the connector and socket terminals to be sure they are all making good contact.
    • If the terminals are bent, loose or corroded, repair them as necessary, and recheck the system.
    • If the terminals look OK, Go to step 6.
  6. With the connectors still disconnected from the under-dash fuse/relay box, do these input tests at the following connector(s).
    • If any test indicates a problem, find and correct the cause, then recheck the system.
    • If all the input tests prove OK, Go to step 7.
    WIRE TEST CONDITION REFERENCE CHART

    Cavity Wire Test condition Test: Desired result Possible cause if desired result is not obtained
    P7 WHT/BLK Under all conditions Attach to ground:
    The ignition key light should come on.
    • Blown No. 7 (7.5 A) fuse in the under-dash fuse/relay box
    • Faulty LED
    • An open in the wire
    W4 BLU/RED Interior lights switch in the middle position, all doors closed Attach to ground:
    The individual map lights should come on.
    • Blown No. 6 (10 A) fuse in the under-dash fuse/relay box
    • Faulty map light
    • An open in the wire
    D11 BLU Under all conditions Check for continuity between terminal D11 and relay control module connector J (10P) terminal No. 8:
    There should be continuity.
    An open or high resistance in the wire
    Relay control module connector J (10P) disconnected Check for continuity to ground:
    There should be no continuity.
    A short to ground in the wire
    J4 BRN/BLK Under all conditions Check for continuity between terminal J4 and power window master switch connector (23P) terminal No. 16:
    There should be continuity.
    An open or high resistance in the wire
    Power window master switch (Door multiplex control unit) connector (23P) disconnected Check for continuity to ground:
    There should be no continuity.
    A short to ground in the wire
    N22 LT BLU Under all conditions Check for continuity between terminal N22 and HVAC control unit connector (30P) terminal No. 11 (or climate control unit connector (30P) terminal No. 30):
    There should be continuity.
    An open or high resistance in the wire
    HVAC control unit (or climate control unit) connector (30P) disconnected Check for continuity to ground:
    There should be no continuity.
    A short to ground in the wire
    N28 BRN/YEL Under all conditions Check for continuity between terminal N28 and gauge control module connector B (14P) terminal No. 6:
    There should be continuity.
    An open or high resistance in the wire
    Gauge control module connector B (14P) disconnected Check for continuity to ground:
    There should be no continuity.
    A short to ground in the wire
    X27 LT GRN Under all conditions Check for continuity between terminal X27 and combination switch connector (12P) terminal No. 3:
    There should be continuity.
    An open or high resistance in the wire
    Combination switch connector (12P) disconnected Check for continuity to ground:
    There should be no continuity.
    A short to ground in the wire
    X18 YEL Under all conditions Check for continuity between terminal X18 and HandsFreeLink control unit connector (28P) terminal No. 18:
    There should be no continuity.
    An open or high resistance in the wire
    HandsFreeLink control unit connector (28P) disconnected Check for continuity to ground:
    There should be no continuity.
    A short to ground in the wire
  7. Reconnect the connectors to the under-dash fuse/relay box, and do sure these input tests at the following connectors on the under-dash fuse/relay box.
WIRE TEST CONDITION REFERENCE CHART

Cavity Wire Test condition Test: Desired result Possible cause if desired result is not obtained
E9
.
H9
BLK In all ignition switch positions Measure the voltage to ground:
There should be less than 0.2 V.
  • Poor ground (G501)
  • An open or high resistance in the ground wire
P1 BLK In all ignition switch positions Measure the voltage to ground:
There should be less than 0.2 V.
  • Poor ground (G403)
  • An open or high resistance in the ground wire
D6
.
J9
.
X34
YEL Ignition switch ON (II) Measure the voltage to ground:
There should be battery voltage.
  • Blown No. 21 (7.5 A) fuse in the under-dash fuse/relay box
  • An open or high resistance in the wire
K5
.
X35
WHT/RED Under all conditions Measure the voltage to ground:
There should be battery voltage.
  • Blown No. 7 (7.5 A) fuse in the under-dash fuse/relay box
  • An open or high resistance in the wire