LEMON Manuals: Even more car manuals for everyone: 1960-2025
Home >> Honda >> 2015 >> Civic SE >> Repair and Diagnosis (Single Page) >> Engine Performance >> Engine Control Systems >> Engine Control System & Engine Mechanical - Testing & Troubleshooting (Except Hybrid) >> Description >> VTEC/VTC System Description - Control (K24Z7)
April 5, 2026: LEMON Manuals is launched! Read the announcement.

VTEC/VTC System Description - Control (K24Z7)

VTEC 

Based on the vehicle speed signal, engine speed signal, engine load signal, throttle position signal, and engine coolant temperature signal sent from various sensors, the engine control module (ECM) determines what the lift amount should be and controls the ON/OFF of the rocker arm oil control solenoid. The ECM generates and determines the control amount based on signals from various sensors to subject the rocker arm oil control solenoid to a feedback control.

GHH15980Courtesy of HONDA, U.S.A., INC.

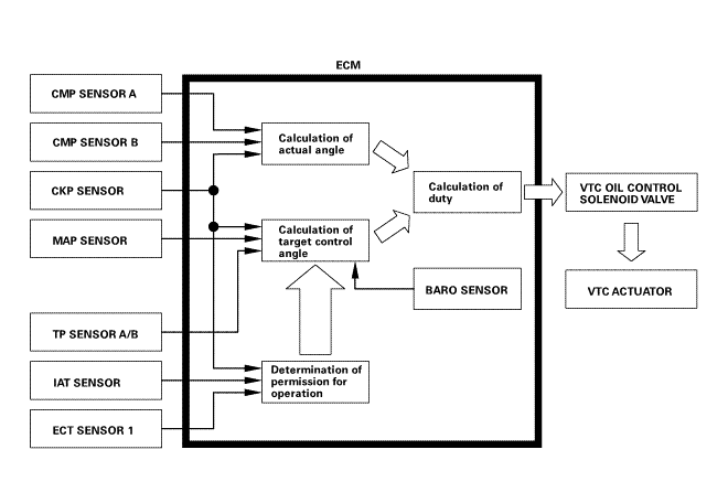
VTC 

The VTC system diagram is as follows. The ECM advances or retards the valve timing based on the data from various sensors, and performs feedback-control to the VTC oil control solenoid valve.

GHH15981Courtesy of HONDA, U.S.A., INC.