LEMON Manuals: Even more car manuals for everyone: 1960-2025
Home >> Honda >> 2015 >> Fit EX, Standard Trans >> Repair and Diagnosis (Single Page) >> Engine Performance >> Engine Control Systems >> Engine Control System & Engine Mechanical - Testing & Troubleshooting >> Description >> VTEC / VTC System Description - VTEC
April 5, 2026: LEMON Manuals is launched! Read the announcement.

VTEC / VTC System Description - VTEC

Overview 

This system improves fuel efficiency and reduces exhaust emissions at all levels of engine speed, vehicle speed, and engine load. The VTEC system changes the cam profile to correspond to engine speed. It maximizes torque at low engine speed and output at high engine speed. The low lift cam is used at low engine speeds, and the high lift cam is used at high engine speeds. The rocker arm oil control solenoid switches the intake valve side of the VTEC system on and off; the solenoid is controlled by the PCM.

Valve Timing Operation Image 

GHH81056Courtesy of HONDA, U.S.A., INC.

Construction 

VTEC is composed of the VTEC camshaft, the VTEC rocker arm, and the rocker arm oil control valve.

VTEC Camshaft 

The intake camshaft is structured so that each cylinder has a low lift cam lobe and a high lift cam lobe separately.

GHH81057Courtesy of HONDA, U.S.A., INC.

VTEC Rocker Arm 

The intake rocker arm is composed of the primary, the mid, and the secondary rocker arms. The inner side of the primary rocker arm has a stopper piston and a return spring. The inner side of the mid and the secondary rocker arm have a VTEC switching piston in each rocker arm.

GHH81058Courtesy of HONDA, U.S.A., INC.

Rocker Arm Oil Control Valve 

The rocker arm oil control valve is integrated with the solenoid valve and the spool valve, and it is installed on the cylinder head. When the rocker arm oil control solenoid turns ON or OFF depending on a signal from the PCM to switch, the hydraulic pressure subjects the rocker arm oil control spool valve to an ON/OFF control. By switching the ON/OFF of the valve, the hydraulic pressure applied to the VTEC switching piston in the rocker arms is controlled.

GHH81059Courtesy of HONDA, U.S.A., INC.

Rocker Arm Oil Pressure Switch (USA and Canada models and Mexico models CVT) 

The rocker arm oil pressure switch attached to the rocker arm oil control valve monitors the hydraulic pressure condition and the statuses of the rocker arm oil control spool valve.

GHH81060Courtesy of HONDA, U.S.A., INC.

Control 

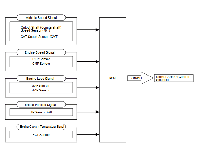
Based on the vehicle speed signal, engine speed signal, engine load signal, throttle position signal, and engine coolant signal sent from various sensors, the PCM determines what the lift amount should be and controls the ON/OFF of the rocker arm oil control solenoid.

GHH81061Courtesy of HONDA, U.S.A., INC.

Operation 

The hydraulic pressure from the oil pump and the rocker arm oil control valve is sent into the primary rocker arm and the secondary rocker arm via each oil port on the intake rocker shaft to operate the VTEC system.

At low engine speed 

At low engine speed, the rocker arm oil control solenoid is turned off by the PCM. Oil pressure from the rocker arm oil control valve does not enter the intake rocker shaft. Each rocker arm is separated by a return spring, and the primary and secondary rocker arms are lifted by the low lift cam lobe.

GHH81062Courtesy of HONDA, U.S.A., INC.

At high engine speed 

At high engine speed, the rocker arm oil control solenoid is turned on by the PCM. Oil pressure from the rocker arm oil control valve enters the intake rocker shaft, and it moves the VTEC switching piston in the primary rocker arm. This causes the VTEC switching piston to slide into the secondary rocker arm, locking the rocker arms together. Both rocker arms are lifted by the high lift cam lobe.

GHH81063Courtesy of HONDA, U.S.A., INC.