LEMON Manuals: Even more car manuals for everyone: 1960-2025
Home >> Honda >> 2015 >> Fit EX-L >> Repair and Diagnosis (Single Page) >> Accessories & Equipment >> Anti-Theft Systems >> Security System & Keyless Entry System - Service Information >> Removal And Installation >> Keyless Access Control Unit Removal And Installation >> Removal And Installation
April 5, 2026: LEMON Manuals is launched! Read the announcement.

Removal And Installation

NOTE:  If the keyless access control unit is replaced, do the immobilizer-keyless control unit registration . If the original keyless access control unit is installed, confirm that all systems work properly.

  1. Gauge Control Module - Remove
  2. Keyless Access Control Unit - Remove
    GHH83190Courtesy of HONDA, U.S.A., INC.
    1. Disconnect the connectors (A)

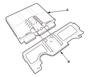
    2. Remove the keyless access control unit (B).

    GHH83191Courtesy of HONDA, U.S.A., INC.
    3. Remove the keyless access control unit (A) from the bracket (B).
  3. All Removed Parts - Install
      1. Install the parts in the reverse order of removal.
  4. Keyless Access System - Register