LEMON Manuals: Even more car manuals for everyone: 1960-2025
Home >> Honda >> 2015 >> Pilot EX, FWD >> Repair and Diagnosis >> External Pages >> Different car >> Section 79 (Navigation System) >> Forced Starting of Display >> Special Tools Required
April 5, 2026: LEMON Manuals is launched! Read the announcement.

Special Tools Required

WARNING: This page is about a different car, the 2011 Honda Pilot, 2010 Honda Pilot, and 2009 Honda Pilot. However, it is still accessible from the selected car via links, so may be relevant.

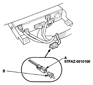
SCS Service Connector 07PAZ-0010100

  1. Turn the ignition switch to LOCK (0).
  2. Raise the driver's seat all the way up, then move it all the way forward.
  3. Connect the SCS service connector (A) to the navigation service connector (B) located behind the navigation unit.
    Fig 1: Identifying SCS Service Connector & Navigation Service Connector
    G05967199Courtesy of AMERICAN HONDA MOTOR CO., INC.
  4. Turn the ignition switch to ON (II).
  5. Check that the diagnosis menu for the picture diagnosis starts up, and then changes to the system link menu.
    NOTE: If the display fails to display the system link screen, refer to no picture is displayed (see SYMPTOM TROUBLESHOOTING  ).