LEMON Manuals: Even more car manuals for everyone: 1960-2025
Home >> Honda >> 2016 >> CR-V Touring, AWD >> Repair and Diagnosis (Single Page) >> Accessories & Equipment >> Anti-Theft Systems >> Security System / Keyless Entry System - Testing & Troubleshooting >> Description >> Keyless/Power Door Locks/Security System Description - Control/Function
April 5, 2026: LEMON Manuals is launched! Read the announcement.

Keyless/Power Door Locks/Security System Description - Control/Function

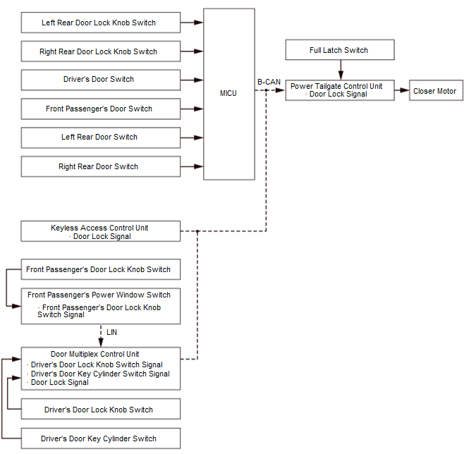
Door Lock Control 

The door lock control function allows the MICU to detect the status of various switch signals and control each actuator in order to lock and unlock the doors.

GHH51309Courtesy of HONDA, U.S.A., INC.

Tailgate Control (Without Power Tailgate) 

The tailgate control function allows the MICU to detect the status of various switch signals and control tailgate release actuator in order to lock and unlock tailgate.

GHH51310Courtesy of HONDA, U.S.A., INC.

Tailgate Control (With Power Tailgate) 

The tailgate control function allows the MICU to detect the status of various switch signals and sends the signals to the power tailgate control unit. The power tailgate control unit controls the power tailgate closer unit to lock or unlock the tailgate.

GHH51311Courtesy of HONDA, U.S.A., INC.

Keyless Door Lock Control 

The keyless transmitter or the remote can transmit a lock or unlock signal to the immobilizer-keyless control unit or the keyless access control unit, which sends the keyless request to the MICU using the B-CAN network, then the MICU controls the door lock actuator by B-CAN signal and various switch signal. The customization menu can also set the timer value.

GHH51312Courtesy of HONDA, U.S.A., INC.

Keyless Door Lock Control (Tailgate (Without Power Tailgate)) 

The keyless transmitter or the remote can transmit a lock or unlock signal to the immobilizer-keyless control unit or the keyless access control unit, which sends the keyless request to the MICU using the B-CAN network, then the MICU controls the tailgate release actuator by B-CAN signal and various switch signal.

GHH51313Courtesy of HONDA, U.S.A., INC.

Keyless Door Lock Control (Tailgate (With Power Tailgate)) 

The remote can transmit a lock or unlock signal to the keyless access control unit, which sends the keyless request to the MICU using the B-CAN network, then the MICU controls the tailgate release actuator by B-CAN signal and various switch signal.

GHH51314Courtesy of HONDA, U.S.A., INC.

Key Lockout Prevent Function 

The lockout function observes the key switch signal input. If the input is "ON" (key insert to the ignition switch or key present in the vehicle), the system will not lock the doors. If the driver manually locks and closes the doors with a key in the ignition switch or remote in the vehicle (input ON), the MICU energizes the driver's door lock actuator and unlocks the driver's door.

GHH51315Courtesy of HONDA, U.S.A., INC.

Automatic Door Lock/Unlock Control 

The automatic door lock/unlock control function allows the MICU to detect the status of B-CAN signals and various switch signals and controls each actuator in order to automatically lock/unlock the doors.

GHH51316Courtesy of HONDA, U.S.A., INC.

Automatic Door Lock Function: 

Automatic Door Unlock Function: 

Customizing Function: 

The locking method can be set as non-link, link to vehicle speed, link to shift position/mode, or link to ignition switch or engine start/stop switch by the customizing function. For more information about customize options, refer to the Owner's manual.

Keyless Answer Back Control 

When using the keyless transmitter or the remote, the MICU provides an answer back function to alert the operator that the MICU received a lock or unlock command from the keyless transmitter or the remote. When the MICU receives a lock signal, it sends the turn signal light signals once. When the MICU receives an unlock signal, the MICU sends the turn signal light signal two times.

GHH51317Courtesy of HONDA, U.S.A., INC.

When the MICU receives a lock signal, the MICU sends signals once to the turn signal lights, and the horns or the keyless buzzer will sound once when you press the Lock button again within 5 seconds.

GHH51318Courtesy of HONDA, U.S.A., INC.

When the MICU receives an unlock signal, the MICU sends signals two times to the turn signal lights.

GHH51319Courtesy of HONDA, U.S.A., INC.

Security Control 

When the security alarm is set, the MICU sends the security set signal using the B-CAN.

GHH51320Courtesy of HONDA, U.S.A., INC.

Security system operating term 

Start setting
  • Lock the door using a mechanical key
  • Lock the door by using the remote or the keyless transmitter
  • Lock the door by pressing the door outer handle lock switch while having the remote
  • Operate a keyless relock
Cancellation
  • Unlock the door using a mechanical key (For some models)
  • Unlock the door by using the remote or the keyless transmitter
  • Unlock the door by smart function
  • Press the engine start/stop switch button while having the remote
Setting conditions (related systems are normally operated)
  • Door switch OFF (Door close)
  • Tailgate latch switch OFF (Tailgate closed)*1
  • Full latch switch OFF (Built into the power tailgate closer unit) (Tailgate closed)*2
  • Driver's door key cylinder switch OFF
  • Security hood switch ON (Hood close)
  • Vehicle OFF (LOCK) mode
  • Ignition key switch OFF*3
  • The remote is outside of the vehicle*4
Start the alarm When any of the monitoring switch signal inputs are received without the signal for cancelling setting
Cancel the alarm Compliant with the conditions for cancelling setting

*1: Without power tailgate

*2: With power tailgate

*3: Without keyless access system

*4: With keyless access system

Security Setting 

When the security alarm is set, the MICU sends the security set signal using the B-CAN. When the gauge control module receives a security set signal from the MICU, the security indicator flashes at a slower pace to indicate the system has armed.

GHH51321Courtesy of HONDA, U.S.A., INC.

Security Alarm 

With the security system armed, manually opening the hood or the tailgate or moving the door lock knob to the unlock position activates the security alarm. Alternatively, the security alarm sounds, the headlights low beam, the parking lights, the taillights, the license plate lights, and the side marker lights blink, repeating this alarm (one cycle is 120 seconds). Even if you remove the 12 volt battery, the alarming state cannot be changed. The alarm starts again when reinstalling the 12 volt battery.

GHH51322Courtesy of HONDA, U.S.A., INC.

Answer Back Control 

When using the keyless transmitter or the remote, the MICU provides an answer back function to alert the operator that the MICU received a lock or unlock command from the keyless transmitter or the remote. When the MICU receives a lock signal, it sends the turn signal light signals once. When the MICU receives an unlock signal, the MICU sends the turn signal light signal two times.

GHH51323Courtesy of HONDA, U.S.A., INC.

When the MICU receives a lock signal, the MICU sends signals once to the turn signal lights, and the horns or the keyless buzzer will sound once when you press the Lock button again within 5 seconds.

GHH51324Courtesy of HONDA, U.S.A., INC.

When the MICU receives an unlock signal, the MICU sends signals two times to the turn signal lights.

GHH51325Courtesy of HONDA, U.S.A., INC.