LEMON Manuals: Even more car manuals for everyone: 1960-2025
Home >> Honda >> 2016 >> Pilot EX, AWD >> Repair and Diagnosis >> Engine Performance >> Engine Control Systems >> Engine Control System / Engine Mechanical - Service Information >> Removal And Installation >> PCM (6-Speed A/T), ('16-'18 9-Speed A/T) >> Installation
April 5, 2026: LEMON Manuals is launched! Read the announcement.

PCM (6-Speed A/T), ('16-'18 9-Speed A/T): Installation

NOTE: 

  1. PCM - Install
    Fig 1: PCM With Torque Specifications
    GHH308609Courtesy of HONDA, U.S.A., INC.
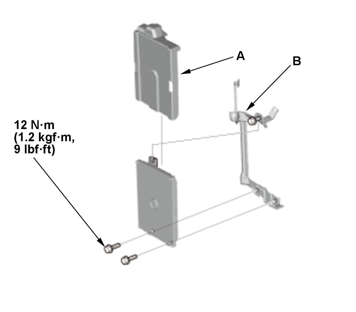
    1. Install the cover (A) and the bracket (B).
    Fig 2: PCM Cover And Bracket (B) With Torque Specifications
    GHH308610Courtesy of HONDA, U.S.A., INC.
    2. Install the PCM assembly (D).

    3. Connect PCM connectors A, B, and C.

    NOTE:  PCM connectors A, B, and C have symbols (A=□, B=Δ, C=◦) embossed on them for identification.

    4. Install the connector (E), and the harness holder (F).

  2. Front Bulkhead Cover - Install
  3. SCS - Open
    1. Exit the SCS mode with the HDS.

    Procedure After Replacing PCM 

  4. VIN - Input
    1. Turn the vehicle to the ON mode.

    NOTE:  DTC P0630 VIN Not Programmed or Mismatch may be stored because the VIN has not been programmed into the PCM; ignore it, and continue this procedure.

    2. Manually input the VIN to the PCM with the HDS.

  5. WRITE DATA (Engine Oil Life and Starter Counter) - Select (USA and Canada Models)
    NOTE:  If the READ DATA (engine oil life and starter counter) failed in "READ DATA (Engine Oil Life and Starter Counter) - Select", skip this procedure.

    1. Select the REPLACE PCM MENU, then select WRITE DATA, and follow the screen prompts.

  6. Other Procedures for PCM Replacement - Do (USA and Canada Models)
    1. If the READ DATA (engine oil life) failed in "READ DATA (Engine Oil Life and Starter Counter) - Select",
    replace the engine oil and
    the engine oil filter .
  7. Keyless Access System - Registration
  8. DTC - Clear
    1. Clear the Pending or Confirmed DTCs with the HDS.
  9. PCM - Update
  10. PCM - Idle Learn
  11. CKP Pattern - Clear/Learn