LEMON Manuals: Even more car manuals for everyone: 1960-2025
Home >> Honda >> 2017 >> CR-V EX-L, AWD >> Repair and Diagnosis (Single Page) >> Body & Frame >> Door Locks >> Security System / Keyless Entry System - Testing & Troubleshooting (Except Hybrid) >> Description And Operation >> Keyless/Power Door Locks/Security System >> Keyless/Power Door Locks/Security System Description
April 5, 2026: LEMON Manuals is launched! Read the announcement.

Keyless/Power Door Locks/Security System Description

Overview 

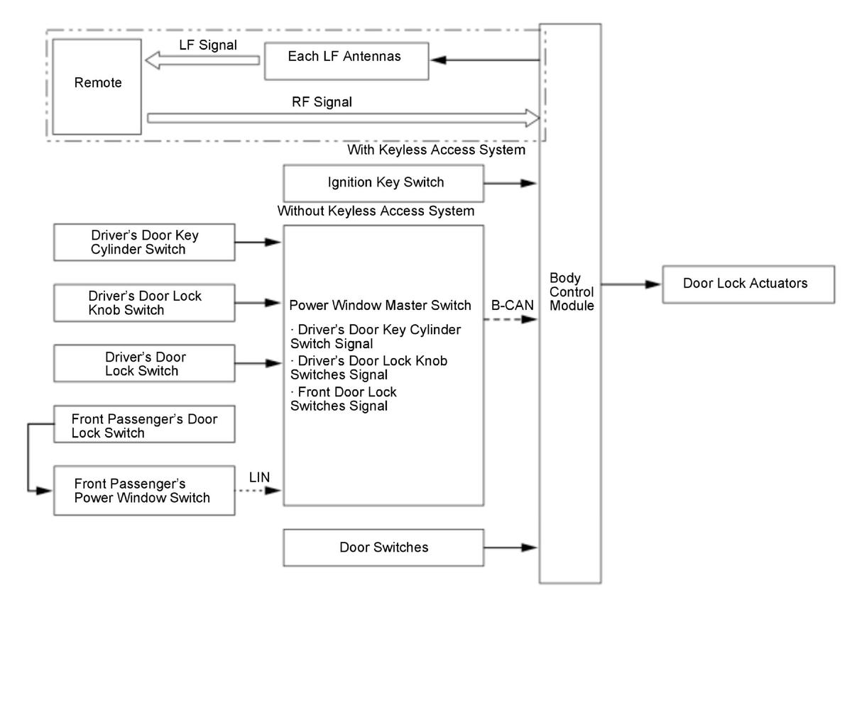
Keyless Entry System 

The keyless entry system allows you to press the LOCK button to lock all the doors. When you press the UNLOCK button once, only the driver's door unlocks. The other doors will unlock when you press the button a second time. (Depending on the settings all the doors may unlock, when you press the button the first time). The doors will not lock with the transmitter if a door is not fully closed, or if the vehicle is turned to the ON mode.

When the switch for the interior light is in the DOOR position, it comes on when the UNLOCK button is pressed.If a door is not opened, the light goes off and the doors will relock in about 30 seconds. If the doors are locked with the transmitter within 30 seconds, the light goes off immediately.

Door Lock Control 

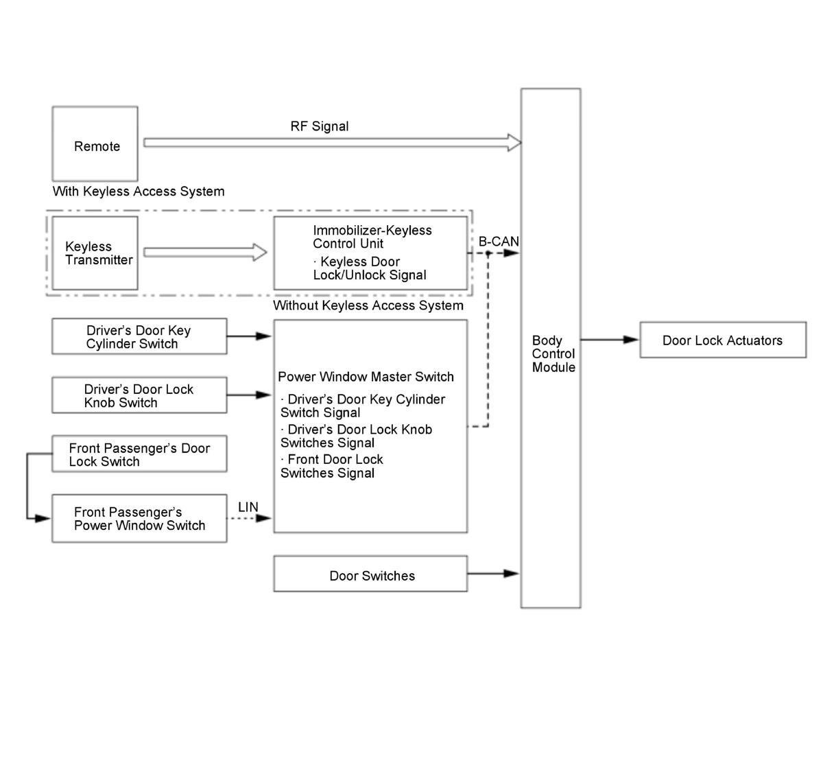
The door lock control function allows the body control module to detect the status of various switch signals and controls each actuator in order to lock and unlock the doors.

The system has three circuits between door lock actuators and the body control module to improve safety of the system. One is for the driver's door lock actuator, and others are for the left rear door lock actuator and the passenger's side door lock actuators. The door lock actuator circuit has two fuses. When one fuse is blown, another fuse in the same circuit must be checked.

GHH430598Courtesy of HONDA, U.S.A., INC.

Tailgate Release Control (Without power tailgate) 

The body control module activates the tailgate release actuator by operating the tailgate outer handle switch when the vehicle speed is less than 2 km/h (1.2 mph). The tailgate can be unlocked by the tailgate outer handle switch operation without having the remote if all the doors are unlocked.

GHH430599Courtesy of HONDA, U.S.A., INC.

Tailgate Control (With Power Tailgate) 

The tailgate control function allows the body control module to detect the status of various switch signals and sends the signals to the power tailgate control unit. The power tailgate control unit controls the power tailgate closer unit to lock or unlock the tailgate.

GHH430600Courtesy of HONDA, U.S.A., INC.

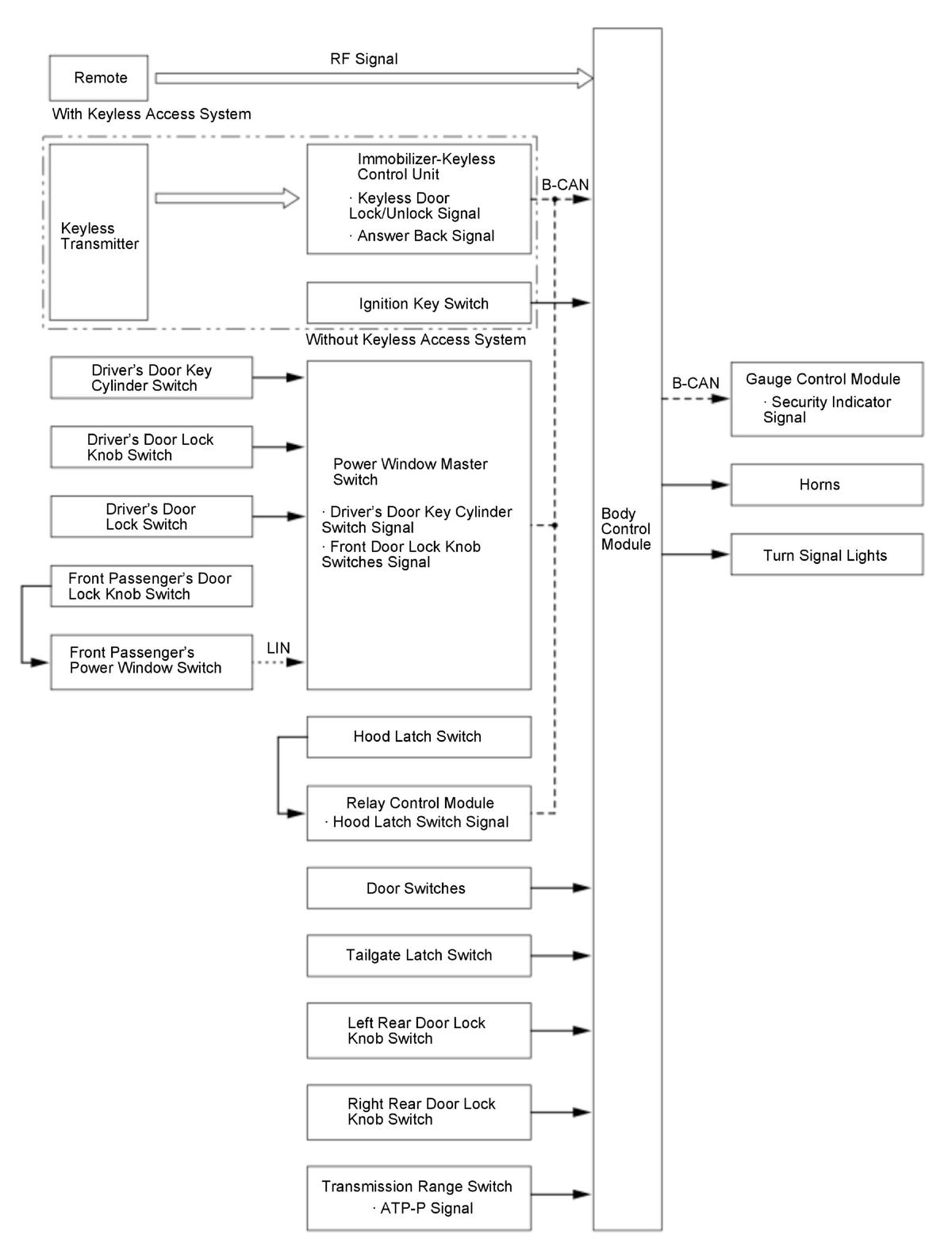
Keyless Door Lock Control 

The keyless transmitter or the remote can transmit a lock or unlock signal to the immobilizer-keyless control unit or the body control module. The body control module then controls the door lock actuator by the B-CAN signal and various other switch signals. The relock timer value can be set under the customization menu.

GHH430601Courtesy of HONDA, U.S.A., INC.

Keyless Door Lock Control (Tailgate) 

The keyless transmitter or the remote can transmit a lock or unlock signal to the immobilizer-keyless control unit or the body control module, which sends the keyless request to the body control module using the B-CAN network. The control unit then controls the tailgate release function by a B-CAN signal and various other switch signals.

GHH430602Courtesy of HONDA, U.S.A., INC.

Automatic Door Lock/Unlock Control (For some models) 

The automatic door lock/unlock control function allows the body control module to detect the status of B-CAN signals and various switch signals and controls each actuator in order to automatically lock/unlock the doors.

Automatic Door Lock Function: 

Automatic Door Unlock Function: 

Customizing Function: 

The locking method can be set to non-link, link to vehicle speed, link to shift position/mode, or link to ignition switch or engine start/stop switch by the customizing function. For more information about customize options, refer to the Owner's Manual.

Key Lockout Prevent Function 

The body control module monitors whether or not there is a remote in the vehicle or a key inserted into the ignition key cylinder. If the remote is in the vehicle or the key is inserted into the ignition key cylinder, the body control module energizes the door lock actuator and unlocks the door.

GHH430603Courtesy of HONDA, U.S.A., INC.

Security Control 

When the security alarm is set, the body control module sends the security set signal using the B-CAN.

GHH430604Courtesy of HONDA, U.S.A., INC.

Security system operating term 

Start setting
  • Lock the door using a mechanical key
  • Lock the door by using the keyless transmitter *1 or the remote *2
  • Lock the door by pressing the door outer handle lock sensor while having the remote *2
  • Operate a keyless relock
Cancellation
  • Unlock the door by using the mechanical key
  • Unlock the door by using the keyless transmitter *1 or the remote *2
  • Unlock the door by smart function *2
  • Press the engine start/stop switch while having the remote
Setting conditions (related systems are normally operated)
  • Door switch OFF (Door close)
  • Door unlock knob switch OFF (Lock)
  • Tailgate latch switch *3 or full latch switch *4 OFF (Tailgate close)
  • Driver's door key cylinder switch OFF
  • Hood latch switch ON (Hood close)
  • Vehicle OFF (LOCK) mode
  • Shift P position/mode
Start the alarm When any of the monitoring switch signal inputs are received without the signal for cancelling setting
Cancel the alarm Compliant with the conditions for cancelling setting

*1: Without keyless access system

*2: With keyless access system

*4: Without power tailgate

*5: With power tailgate

Security Setting 

When the security alarm is set, the body control module sends the security set signal using the B-CAN. When the gauge control module receives a security set signal from the body control module, the security indicator flashes at a slower pace to indicate the system has armed.

GHH430605Courtesy of HONDA, U.S.A., INC.

Security Alarm 

With the security system armed, manually opening the hood, the tailgate, moving the door lock knob to the unlock position, or shift to other than the P position/mode activates the security alarm. During activation, the horn sounds, the turn signal lighs blink, repeating this alarm (one cycle is 120 seconds). Even if you remove the 12 volt battery, the alarming state cannot be changed. The alarm starts again when reinstalling the 12 volt battery.

GHH430606Courtesy of HONDA, U.S.A., INC.

Answer Back Control 

When using the remote, the body control module provides an answer back function to alert the customer that the body control module received a lock or unlock command from the remote or the immobilizer-keyless control unit. When the body control module receives a lock signal, the body control module outputs once to turn on the turn signal lights, and the keyless buzzer will sound. When the body control module receives an unlock signal, the body control module outputs two times to turn on the turn signal lights, and the keyless buzzer will sound.

GHH430607Courtesy of HONDA, U.S.A., INC.

When the body control module receives a lock signal, the body control module sends signals once to the turn signal lights, and the keyless buzzer will sound once when you press the lock button again within 5 seconds.

GHH430608Courtesy of HONDA, U.S.A., INC.

When the body control module receives an unlock signal, the body control module sends signals two times to the turn signal lights.

GHH430609Courtesy of HONDA, U.S.A., INC.