LEMON Manuals: Even more car manuals for everyone: 1960-2025
Home >> Honda >> 2017 >> Civic LX-P >> Repair and Diagnosis (Single Page) >> Accessories & Equipment >> Anti-Theft Systems >> Security System / Keyless Entry System - Gen Info & Troubleshooting >> Description & Operation >> Keyless/Power Door Locks/Security System Description - Control/Function (2/4-door)
April 5, 2026: LEMON Manuals is launched! Read the announcement.

Keyless/Power Door Locks/Security System Description - Control/Function (2/4-door)

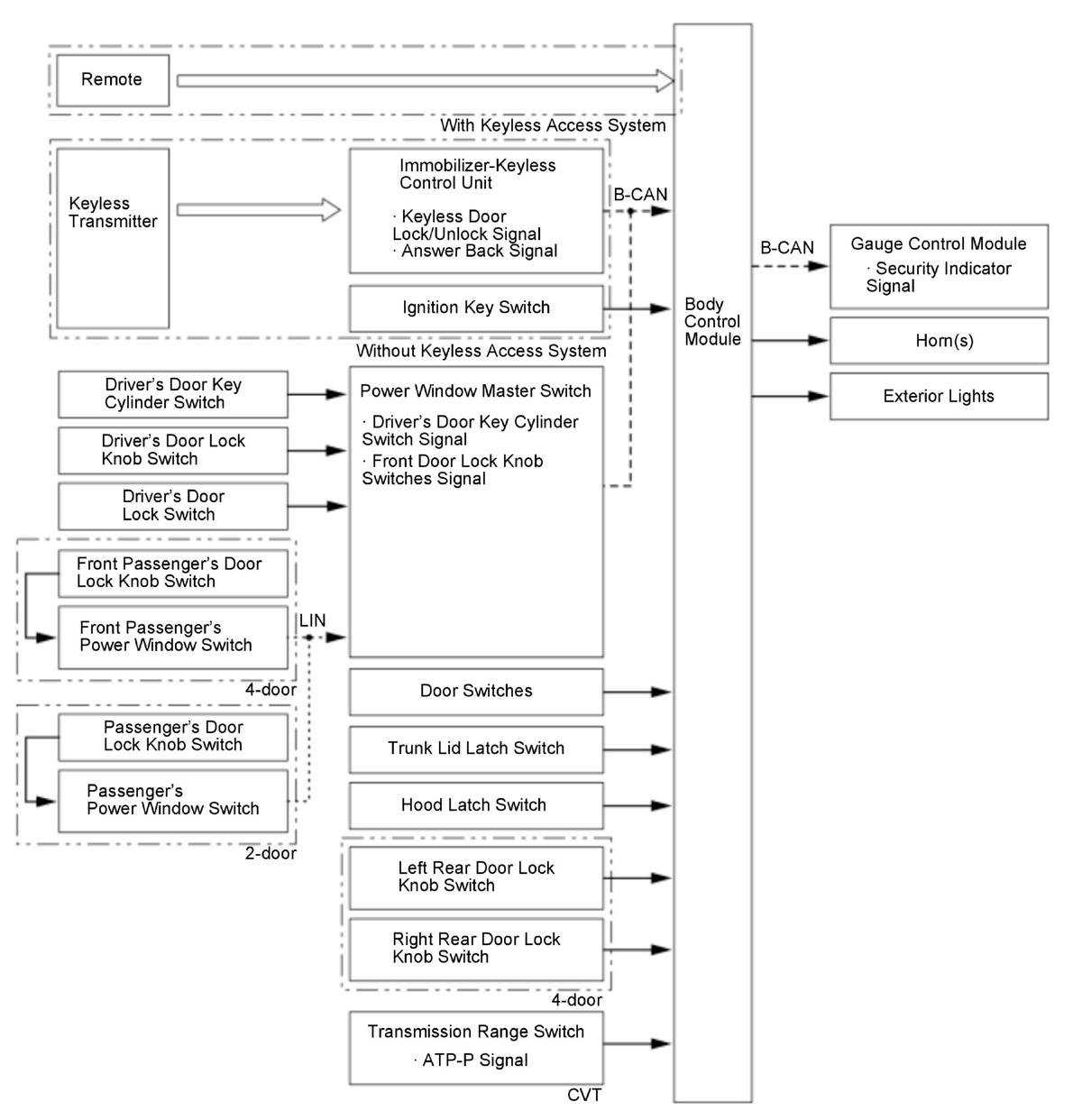
Door Lock Control 

The door lock control function allows the body control module to detect the status of various switch signals and control each actuator in order to lock and unlock the doors.

The system has three circuits between door lock actuators and the body control module to improve safety of the system. One is for the driver's door lock actuator, and others are for the left rear door lock actuator and passenger's side door lock actuators. The door lock actuator circuit has two fuses. When one fuse is blown, another fuse in the same circuit must be checked.

GHH411831Courtesy of HONDA, U.S.A., INC.

Trunk Lid Control 

The trunk lid control function allows the body control module to detect the status of various switch signals and control the trunk lid release actuator in order to lock and unlock the trunk.

GHH411832Courtesy of HONDA, U.S.A., INC.

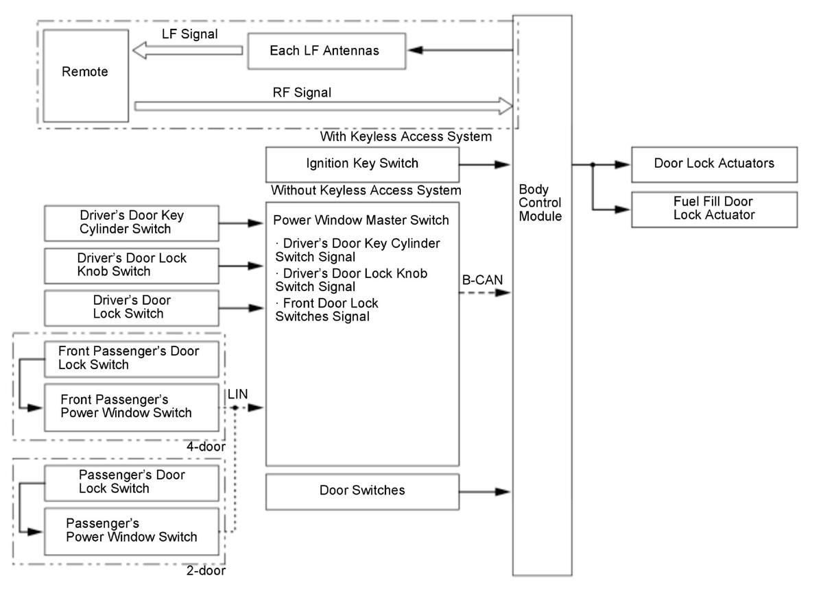
Keyless Door Lock Control 

The keyless transmitter or the remote can transmit a lock or unlock signal to the immobilizer-keyless control unit or the body control module, then the body control module controls the door lock actuator by the B-CAN signal and various switch signal. The customization menu can also set the relock timer value.

GHH411833Courtesy of HONDA, U.S.A., INC.

Keyless Door Lock Control (Trunk Lid) 

The keyless transmitter *1 or the remote *2 can transmit an unlock signal to the immobilizer keyless control unit *1 or the body control module *2, then the body control module controls the trunk lid release actuator.

*1: Without keyless access system

*2: With keyless access system

GHH411834Courtesy of HONDA, U.S.A., INC.

Key Lockout Prevent Function 

The body control module monitors whether or not there is a remote in the vehicle or if there is a key inserted to the ignition key cylinder. If the remote is in the vehicle or if the key is inserted to the ignition key cylinder, the system will not lock the doors. If the driver manually locks and closes the doors with the remote in the vehicle or if the key is inserted to the ignition key cylinder, the body control module energizes the driver's door lock actuator and unlocks the driver's door.

GHH411835Courtesy of HONDA, U.S.A., INC.

Automatic Door Lock/Unlock Control 

The automatic door lock/unlock control function allows the body control module to detect the status of B-CAN signals and various switch signals and controls each actuator in order to automatically lock/unlock the doors.

Automatic Door Lock Function: 

Automatic Door Unlock Function: 

Customizing Function: 

The locking method can be set as non-link, link to vehicle speed, link to shift position/mode, or link to ignition switch or engine start/stop switch by the customizing function. For more information about customize options, refer to the Owner's manual.

Security Control 

When the security alarm is set, the body control module sends the security set signal using the B-CAN.

GHH411836Courtesy of HONDA, U.S.A., INC.

Security system operating term 

Start setting
  • Lock the door using a mechanical key
  • Lock the door by using the keyless transmitter *1 or the remote *2
  • Lock the door by pressing the door outer handle lock switch while having the remote *2
  • Operate a keyless relock
Cancellation
  • Unlock the door by using the keyless transmitter *1 or the remote *2
  • Unlock the door by smart function *2
  • Press the engine start/stop switch button while having the remote
Setting conditions (related systems are normally operated)
  • Door switch OFF (Door close)
  • Door unlock knob switch OFF (Lock)
  • Trunk lid latch switch OFF (Trunk close)
  • Driver's door key cylinder switch OFF
  • Hood latch switch ON (Hood close)
  • Vehicle OFF (LOCK) mode
  • Shift P position/mode (CVT)
Start the alarm When any of the monitoring switch signal inputs are received without the signal for cancelling setting
Cancel the alarm Compliant with the conditions for cancelling setting

*1: Without keyless access system

*2: With keyless access system

Security Setting 

When the security alarm is set, the body control module sends the security set signal using the B-CAN. When the gauge control module receives a security set signal from the body control module, the security indicator flashes at a slower pace to indicate the system has armed.

GHH411837Courtesy of HONDA, U.S.A., INC.

Security Alarm 

With the security system armed, manually opening the hood, the trunk, moving the door lock knob to the unlock position, or shifting to other than the P position/mode activates the security alarm. Alternatively, the security alarm sounds, the headlights low beam, the front parking lights, the taillights, the license plate light, and the side marker lights blink, repeating this alarm (one cycle is 120 seconds). Even if you remove the 12 volt battery, the alarming state cannot be changed. The alarm starts again when reinstalling the 12 volt battery.

GHH411838Courtesy of HONDA, U.S.A., INC.

Answer Back Control 

When using the remote, the body control module provides an answer back function to alert the customer that the body control module received a lock or unlock command from the remote or the immobilizer-keyless control unit. When the body control module receives a lock signal, the body control module outputs once to turn on the turn signal lights, and the horn or the keyless buzzer to sound. When the body control module receives an unlock signal, the body control module outputs two times to turn on the turn signal lights, and the horn or the keyless buzzer to sound.

GHH411839Courtesy of HONDA, U.S.A., INC.

When the body control module receives a lock signal, the body control module sends signals once to the turn signal lights, and the horn or the keyless buzzer will sound once when you press the lock button again within 5 seconds.

GHH411840Courtesy of HONDA, U.S.A., INC.

When the body control module receives an unlock signal, the body control module sends signals two times to the turn signal lights.

GHH411841Courtesy of HONDA, U.S.A., INC.