LEMON Manuals: Even more car manuals for everyone: 1960-2025
Home >> Honda >> 2017 >> Civic LX-P >> Repair and Diagnosis (Single Page) >> Body & Frame >> Exterior/Interior Trim >> Exterior Panels / Trim - Testing & Troubleshooting >> Input Test >> Wipers/Washers (Body Control Module and Windshield Wiper Control Unit) Input Test (5-door) (2017 2018 2019 2020 2021)
April 5, 2026: LEMON Manuals is launched! Read the announcement.

Wipers/Washers (Body Control Module and Windshield Wiper Control Unit) Input Test (5-door) (2017 2018 2019 2020 2021)

NOTE: 

*1: CVT

*2: M/T

*3: Except K20C1 engine

*4: K20C1 engine

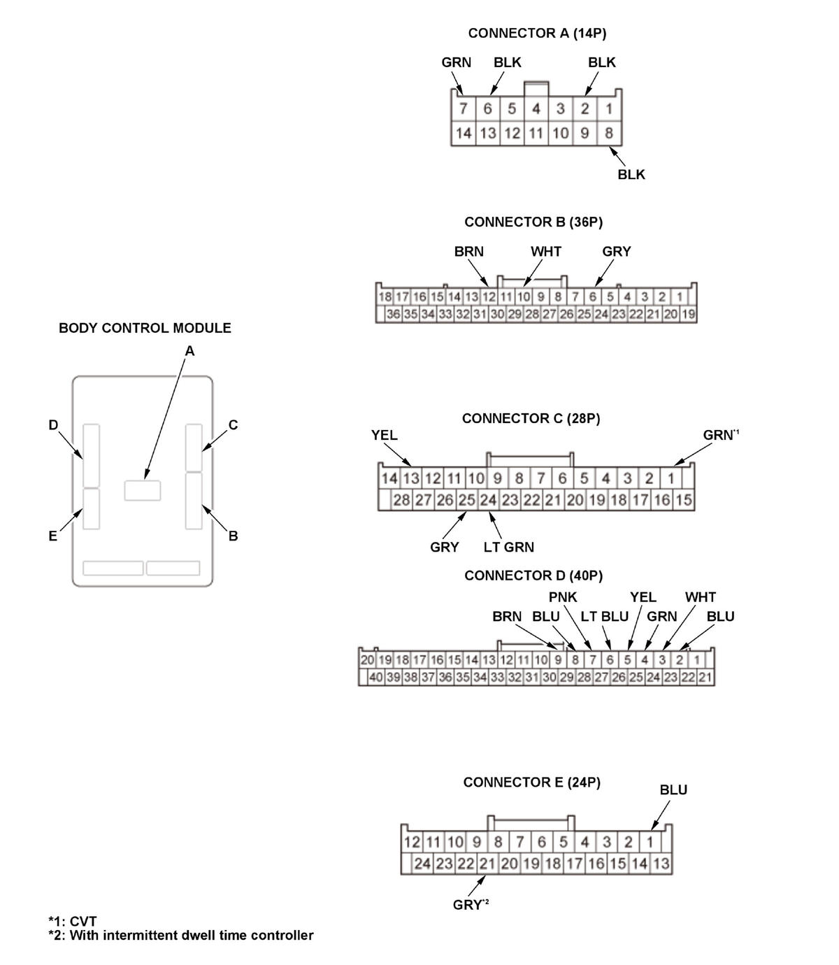
Body Control Module 

1. Turn the vehicle to the OFF (LOCK) mode.

2. Disconnect body control module connectors A, B, C, D, and E.

NOTE:  All connector views are shown from the wire side of the female terminals.

GHH407560Courtesy of HONDA, U.S.A., INC.

3. Inspect the connectors and socket terminals to be sure they are all making good contact:

4. With the connectors still disconnected, do the following input tests:

Cavity Wire Test condition Test: Desired result Possible cause if desired result is not obtained
A7 GRN Vehicle ON mode Connect terminal to ground with a jumper wire:
The rear window wiper motor should run.
  • Blown No. B3 (10 A) fuse in the under-dash fuse/relay box
  • Faulty rear window wiper motor
  • Poor ground (G603) or an open in the ground wire
  • An open or high resistance in the wire
B10 WHT Disconnect the windshield wiper control unit/motor 6P connector Check for continuity between terminal B10 and windshield wiper control unit/motor 6P connector terminal No. 3:
There should be continuity
An open or high resistance in the wire
B6 GRY Under all conditions Connect to ground with a jumper wire:
The windshield/rear window washer motor should run.
  • Blown No. A6 (15 A) fuse in the under-hood fuse/relay box
  • Faulty rear window washer motor relay
  • Faulty windshield/rear window washer motor
  • An open or high resistance in the wire
B12 BRN Under all conditions Connect to ground with a jumper wire:
The windshield/rear window washer motor should run.
  • Blown No. A6 (15 A) fuse in the under-hood fuse/relay box
  • Faulty windshield washer motor relay circuit
  • Faulty windshield/rear window washer motor
  • An open or high resistance in the wire
C13 YEL Disconnect the windshield wiper control unit/motor 6P connector Check for continuity between terminal C13 and windshield wiper control unit/motor 6P connector terminal No. 4:
There should be continuity.
An open or high resistance in the wire

5. Reconnect the connectors to the body control module, and do the following input tests:

Cavity Wire Test condition Test: Desired result Possible cause if desired result is not obtained
E1 BLU Vehicle ON mode Measure the voltage to ground:
There should be battery voltage.
  • Blown No. B8 (15 A) *4/(20 A) *5 fuse in the under-dash fuse/relay box
  • An open or high resistance in the wire
A2 BLK In all power modes Measure the voltage to ground:
There should be less than 0.2 V.
  • Poor ground (G501)
  • An open or high resistance in the ground wire
A6 BLK In all power modes Measure the voltage to ground:
There should be less than 0.2 V.
  • Poor ground (G501)
  • An open or high resistance in the ground wire

*1: CVT

*2: M/T

*3: With intermittent dwell time controller

*4: Except K20C1 engine

*5: K20C1 engine

Cavity Wire Test condition Test: Desired result Possible cause if desired result is not obtained
A8 BLK In all power modes Measure the voltage to ground:
There should be less than 0.2 V.
  • Poor ground (G501)
  • An open or high resistance in the ground wire
C1 *1 GRN Shift lever in P position/mode Measure the voltage to ground:
There should be less than 0.2 V.
  • Faulty or improperly adjusted transmission range switch
  • Poor ground (G201) or an open in the ground wire
  • An open or high resistance in the wire
Shift lever in any other position/mode than P Measure the voltage to ground:
There should be battery voltage.
  • Faulty or improperly adjusted transmission range switch
  • A short to ground in the wire
C24 LT GRN Shift lever in R position/mode *1 Measure the voltage to ground:
There should be battery voltage.
  • Blown No. B7 (10 A) fuse in the under-dash fuse/relay box
  • An open or high resistance in the wire
Shift lever in reverse *2 Measure the voltage to ground:
There should be battery voltage.
  • Blown No. B21 (10 A) fuse in the under-dash fuse/relay box
  • An open or high resistance in the wire
C25 GRY Brake pedal pressed Measure the voltage to ground:
There should be battery voltage.
  • Blown No. A8 (10 A) fuse in the under-hood fuse/relay box
  • Faulty brake pedal position switch
  • An open or high resistance in the wire
D2
D9
BLU
BRN
Windshield wiper switch (INT or LO) ON Measure the voltage to ground:
There should be less than 0.2 V.
  • Faulty windshield wiper/washer switch
  • An open or high resistance in the wire
Windshield wiper switch OFF Measure the voltage to ground:
There should be battery voltage.
  • Faulty windshield wiper/washer switch
  • A short to ground in the wire
D4
D9
GRN
BRN
Windshield wiper switch (MIST) ON Measure the voltage to ground:
There should be less than 0.2 V.
  • Faulty windshield wiper/washer switch
  • An open or high resistance in the wire
Windshield wiper switch OFF Measure the voltage to ground:
There should be battery voltage.
  • Faulty windshield wiper/washer switch
  • A short to ground in the wire
D3
D9
WHT
BRN
Windshield wiper switch (LO or HI) ON Measure the voltage to ground:
There should be less than 0.2 V.
  • Faulty windshield wiper/washer switch
  • An open or high resistance in the wire
Windshield wiper switch OFF Measure the voltage to ground:
There should be battery voltage.
  • Faulty windshield wiper/washer switch
  • A short to ground in the wire

*1: CVT

*2: M/T

*3: With intermittent dwell time controller

*4: Except K20C1 engine

*5: K20C1 engine

Cavity Wire Test condition Test: Desired result Possible cause if desired result is not obtained
D5
D9
YEL
BRN
Windshield washer switch ON Measure the voltage to ground:
There should be less than 0.2 V.
  • Faulty windshield wiper/washer switch
  • An open or high resistance in the wire
Windshield washer switch OFF Measure the voltage to ground:
There should be battery voltage.
  • Faulty windshield wiper/washer switch
  • A short to ground in the wire
D6
D9
LT BLU
BRN
Rear window wiper/washer switch (INT) ON Measure the voltage to ground:
There should be less than 0.2 V.
  • Faulty windshield wiper/washer switch
  • An open or high resistance in the wire
Rear window wiper/washer switch (INT) OFF Measure the voltage to ground:
There should be about battery voltage.
  • Faulty windshield wiper/washer switch
  • A short to ground in the wire
D7
D9
PNK
BRN
Rear window wiper/washer switch ON Measure the voltage to ground:
There should be less than 0.2 V.
  • Faulty windshield wiper/washer switch
  • An open or high resistance in the wire
Rear window wiper/washer switch OFF Measure the voltage to ground:
There should be about battery voltage.
  • Faulty windshield wiper/washer switch
  • A short to ground in the wire
D8
D9
BLU
BRN
Rear window washer switch ON Measure the voltage to ground:
There should be less than 0.2 V.
  • Faulty windshield wiper/washer switch
  • An open or high resistance in the wire
Rear window washer switch OFF Measure the voltage to ground:
There should be about battery voltage.
  • Faulty windshield wiper/washer switch
  • A short to ground in the wire
E21*3
D9
GRY
BRN
Windshield wiper switch (Intermittent dwell time controller) turned ON. Measure the voltage between terminals E21 and D9:
The voltage should vary between 0 to 5 V.
  • Faulty windshield wiper/washer switch
  • An open or high resistance in the ground wire
  • A short to ground in the wire

*1: CVT

*2: M/T

*3: With intermittent dwell time controller

*4: Except K20C1 engine

*5: K20C1 engine

Windshield Wiper Control Unit/Motor 

6. Turn the vehicle to the OFF (LOCK) mode.

7. Disconnect the windshield wiper control unit/motor 6P connector.

GHH407561Courtesy of HONDA, U.S.A., INC.

8. Inspect the connectors and socket terminals to be sure they are all making good contact:

9. With the connectors still disconnected, do the following input tests:

Cavity Wire Test condition Test: Desired result Possible cause if desired result is not obtained
2 BLU Under all conditions Measure the voltage to ground:
There should be battery voltage.
  • Blown No. A2-5 (30 A) fuse in the under-hood fuse/relay box
  • An open or high resistance in the wire
1 BLK Under all conditions Measure the voltage to ground:
There should be less than 0.2 V.
  • Poor ground (G302)
  • An open or high resistance in the ground wire
3 WHT Disconnect body control module connector B (36P) Check for continuity between terminal No. 3 and body control module connector B (36P) terminal No. 10:
There should be continuity.
An open or high resistance in the wire
4 YEL Disconnect body control module connector C (28P) Check for continuity between terminal No. 4 and body control module connector C (28P) terminal No. 13:
There should be continuity.
An open or high resistance in the wire

10. If multiple failures are found on more than one control unit, replace the body control module . If input failures are related to a particular control unit, replace the windshield wiper control unit/motor .