LEMON Manuals: Even more car manuals for everyone: 1960-2025
Home >> Honda >> 2017 >> Civic LX-P >> Repair and Diagnosis (Single Page) >> Electrical >> Gauges >> Gauges - Testing & Troubleshooting >> Input Test >> Reminder Systems (Body Control Module and Gauge Control Module) Input Test (2/4-door)
April 5, 2026: LEMON Manuals is launched! Read the announcement.

Reminder Systems (Body Control Module and Gauge Control Module) Input Test (2/4-door)

NOTE: 

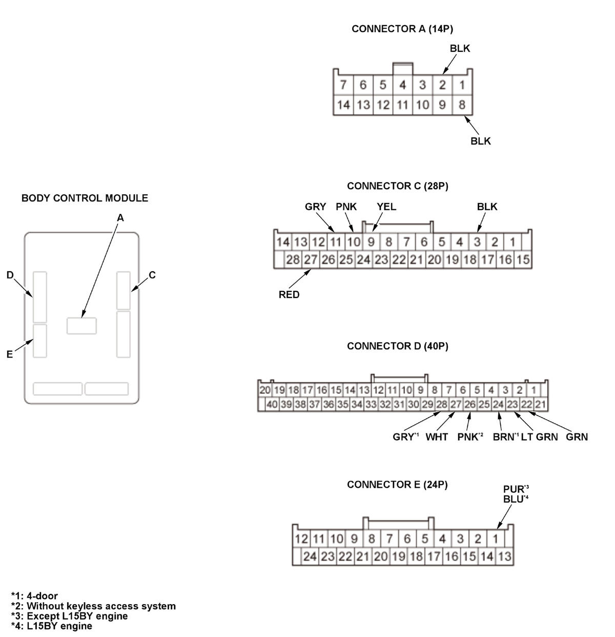
Body Control Module 

1. Turn the vehicle to the OFF (LOCK) mode.

2. Disconnect body control module connectors A, C, D, and E .

NOTE:  All connector views are shown from the wire side of the female terminals.

GHH408633Courtesy of HONDA, U.S.A., INC.

Inspect the connectors and socket terminals to be sure they are all making good contact:

Reconnect the connectors to the body control module, and do the following input tests:

Cavity Wire Test condition Test: Desired result Possible cause if desired result is not obtained
C27 RED Under all conditions Measure the voltage to ground: There should be battery voltage.

*1: 4-door

*2: 2-door

*3: Without keyless access system

*4: Except L15BY engine

*5: L15BY engine

Cavity Wire Test condition Test: Desired result Possible cause if desired result is not obtained
E1 PUR *4BLU *5 Vehicle ON mode Measure the voltage to ground: There should be battery voltage.
A2 BLK In all power modes Measure the voltage to ground: There should be less than 0.2 V.
  • Poor ground (G501)
  • An open or high resistance in the ground wire
A8 BLK In all power modes Measure the voltage to ground: There should be less than 0.2 V.
  • Poor ground (G501)
  • An open or high resistance in the ground wire
D22 GRN Driver's door open Measure the voltage to ground: There should be less than 0.2 V.
  • Faulty driver's door switch
  • Faulty driver's door switch ground
  • An open or high resistance in the wire
Driver's door closed Measure the voltage to ground: There should be battery voltage.
  • Faulty driver's door switch
  • A short to ground in the wire
D23 *1 LT GRN Front passenger's door open Measure the voltage to ground: There should be less than 0.2 V.
  • Faulty front passenger's door switch
  • Faulty front passenger's door switch ground
  • An open or high resistance in the wire
Front passenger's door closed Measure the voltage to ground: There should be battery voltage.
  • Faulty front passenger's door switch
  • A short to ground in the wire
D23 *2 LT GRN Passenger's door open Measure the voltage to ground: There should be less than 0.2 V.
  • Faulty passenger's door switch
  • Faulty passenger's door switch ground
  • An open or high resistance in the wire
Passenger's door closed Measure the voltage to ground: There should be battery voltage.
  • Faulty passenger's door switch
  • A short to ground in the wire
D24 *1 BRN Left rear door open Measure the voltage to ground: There should be less than 0.2 V.
  • Faulty left rear door switch
  • Faulty left rear door switch ground
  • An open or high resistance in the wire
Left rear door closed Measure the voltage to ground: There should be battery voltage.
  • Faulty left rear door switch
  • A short to ground in the wire
D28 *1 GRY Right rear door open Measure the voltage to ground: There should be less than 0.2 V.
  • Faulty right rear door switch
  • Faulty right rear door switch ground
  • An open or high resistance in the wire
Right rear door closed Measure the voltage to ground: There should be battery voltage.
  • Faulty right rear door switch
  • A short to ground in the wire

*1: 4-door

*2: 2-door

*3: Without keyless access system

*4: Except L15BY engine

*5: L15BY engine

Cavity Wire Test condition Test: Desired result Possible cause if desired result is not obtained
D27 WHT Trunk lid open Measure the voltage to ground: There should be less than 0.2 V.
  • Faulty trunk lid latch switch
  • Poor ground (G701) or an open in the ground wire
  • An open or high resistance in the wire
Trunk lid closed Measure the voltage to ground: There should be battery voltage.
  • Faulty trunk lid latch switch
  • A short to ground in the wire
D26 *3 PNK Ignition key inserted into the ignition key switch Measure the voltage to ground: There should be less than 0.2 V.
  • Faulty ignition key switch
  • Poor ground (G503) or an open in the ground wire
  • An open or high resistance in the wire
Ignition key removed from the ignition key switch Measure the voltage to ground: There should be battery voltage.
  • Faulty ignition key switch
  • A short to ground in the wire
C10*C3 PNK*BLK Combination light switch OFF Measure the voltage between terminals C10 and C3: There should be less than 0.2 V.
  • Faulty combination light switch
  • An open or high resistance in the wire
Combination light switch in any position other than OFF Measure the voltage between terminals C10 and C3: There should be battery voltage.
  • Faulty combination light switch
  • A short to ground in the wire
C11*C3 GRY*BLK Combination light switch (PARKING position) ON Measure the voltage between terminals C11 and C3: There should be less than 0.2 V.
  • Faulty combination light switch
  • An open or high resistance in the wire
Combination light switch OFF Measure the voltage between terminals C11 and C3: There should be battery voltage.
  • Faulty combination light switch
  • A short to ground in the wire
C9*C3 YEL*BLK Combination light switch (headlight) ON Measure the voltage between terminals C9 and C3: There should be less than 0.2 V.
  • Faulty combination light switch
  • An open or high resistance in the wire
Combination light switch OFF Measure the voltage between terminals C9 and C3: There should be battery voltage.
  • Faulty combination light switch
  • A short to ground in the wire

*1: 4-door

*2: 2-door

*3: Without keyless access system

*4: Except L15BY engine

*5: L15BY engine

Gauge Control Module 

5. Turn the vehicle to the OFF (LOCK) mode.

6. Disconnect the gauge control module connector A (32P)

.

GHH408634Courtesy of HONDA, U.S.A., INC.

Inspect the connector and socket terminals to be sure they are all making good contact:

With the connector still disconnected, do the following input tests:

Cavity Wire Test condition Test: Desired result Possible cause if desired result is not obtained
A10 PNK Disconnect the VSA modulator-control unit 46P connector Check for continuity between terminal No. A10 and VSA modulator-control unit 46P connector terminal No. 16: There should be continuity. An open or high resistance in the wire

Reconnect the connector, and do the following input tests:

Cavity Wire Test condition Test: Desired result Possible cause if desired result is not obtained
A1 RED Under all conditions Measure the voltage to ground: There should be battery voltage.
A17 BRN Vehicle ON mode Measure the voltage to ground: There should be battery voltage.
  • Blown No. B7 fuse
  • An open or high resistance in the wire
Cavity Wire Test condition Test: Desired result Possible cause if desired result is not obtained
A4 BLK In all power modes Measure the voltage to ground: There should be less than 0.2 V.
  • Poor ground (G501)
  • An open or high resistance in the ground wire
A32 BLK In all power modes Measure the voltage to ground: There should be less than 0.2 V.
  • Poor ground (G501)
  • An open or high resistance in the ground wire

10. If multiple failures are found on more than one control unit, replace the body control module . If input failures are related to a particular control unit, replace the gauge control module .