LEMON Manuals: Even more car manuals for everyone: 1960-2025
Home >> Honda >> 2017 >> Civic LX-P >> Repair and Diagnosis (Single Page) >> Electrical >> Gauges >> Gauges - Testing & Troubleshooting >> Input Test >> Safety Indicator System (Body Control Module and Gauge Control Module) Input Test (2/4-door)
April 5, 2026: LEMON Manuals is launched! Read the announcement.

Safety Indicator System (Body Control Module and Gauge Control Module) Input Test (2/4-door)

NOTE: 

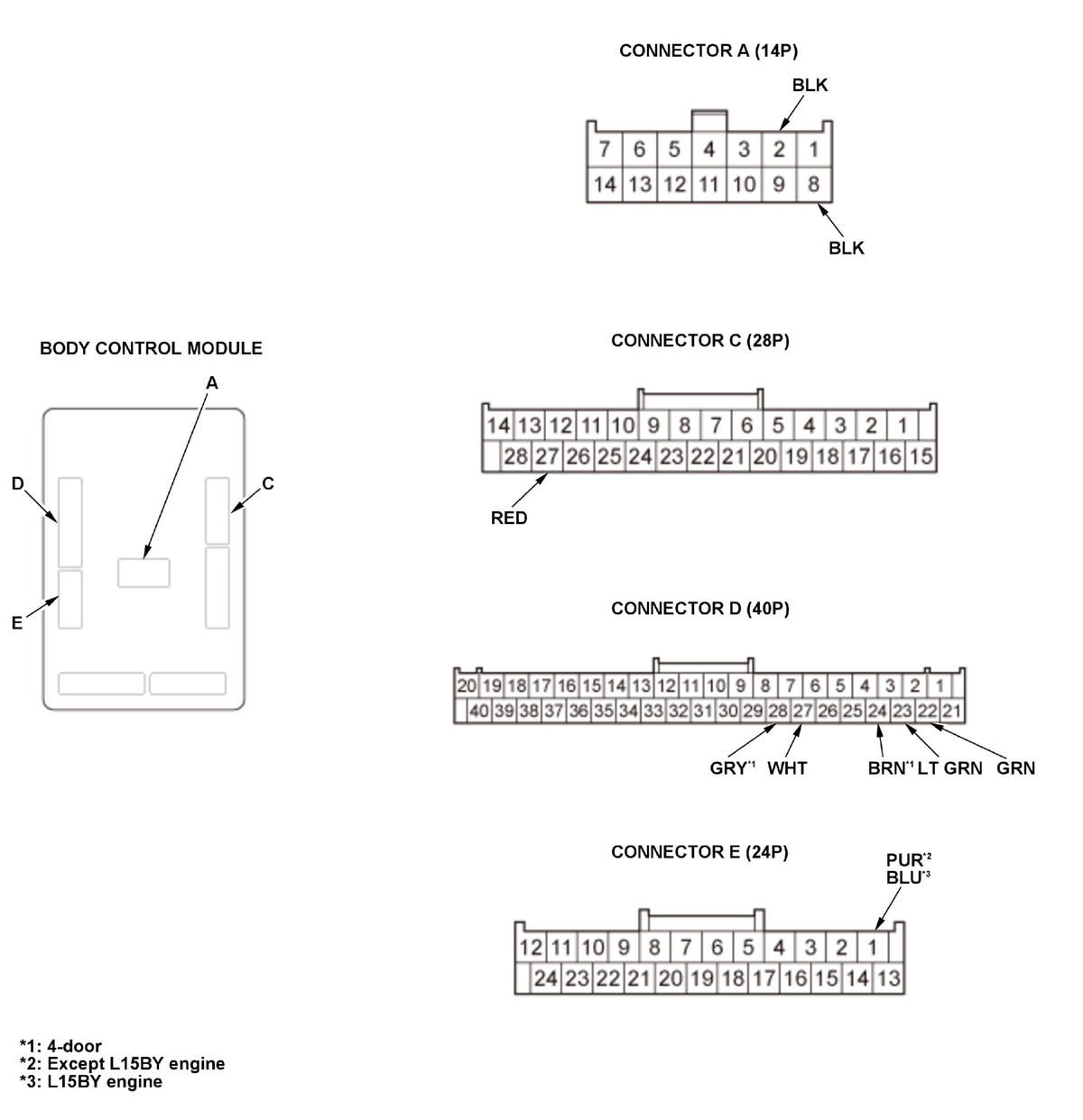
Body Control Module 

1. Turn the vehicle to the OFF (LOCK) mode.

2. Disconnect body control module connectors A, C, D, and E .

NOTE:  All connector views are shown from the wire side of the female terminals.

GHH408637Courtesy of HONDA, U.S.A., INC.

Inspect the connectors and socket terminals to be sure they are all making good contact:

Reconnect the connectors to the body control module, and do the following input tests:

Cavity Wire Test condition Test: Desired result Possible cause if desired result is not obtained
C27 RED Under all conditions Measure the voltage to ground: There should be battery voltage.

*1: 4-door

*2: 2-door

*3: Except L15BY engine

*4: L15BY engine

Cavity Wire Test condition Test: Desired result Possible cause if desired result is not obtained
E1 PUR *3BLU *4 Vehicle ON mode Measure the voltage to ground: There should be battery voltage.
A2 BLK In all power modes Measure the voltage to ground: There should be less than 0.2 V.
  • Poor ground (G501)
  • An open or high resistance in the ground wire
A8 BLK In all power modes Measure the voltage to ground: There should be less than 0.2 V.
  • Poor ground (G501)
  • An open or high resistance in the ground wire
D22 GRN Driver's door open Measure the voltage to ground: There should be less than 0.2 V.
  • Faulty driver's door switch
  • Faulty driver's door switch ground
  • An open or high resistance in the wire
Driver's door closed Measure the voltage to ground: There should be battery voltage.
  • Faulty driver's door switch
  • A short to ground in the wire
D23 *1 LT GRN Front passenger's door open Measure the voltage to ground: There should be less than 0.2 V.
  • Faulty front passenger's door switch
  • Faulty front passenger's door switch ground
  • An open or high resistance in the wire
Front passenger's door closed Measure the voltage to ground: There should be battery voltage.
  • Faulty front passenger's door switch
  • A short to ground in the wire
D23 *2 LT GRN Passenger's door open Measure the voltage to ground: There should be less than 0.2 V.
  • Faulty passenger's door switch
  • Faulty passenger's door switch ground
  • An open or high resistance in the wire
Passenger's door closed Measure the voltage to ground: There should be battery voltage.
  • Faulty passenger's door switch
  • A short to ground in the wire
D24 *1 BRN Left rear door open Measure the voltage to ground: There should be less than 0.2 V.
  • Faulty left rear door switch
  • Faulty left rear door switch ground
  • An open or high resistance in the wire
Left rear door closed Measure the voltage to ground: There should be battery voltage.
  • Faulty left rear door switch
  • A short to ground in the wire
D28 *1 GRY Right rear door open Measure the voltage to ground: There should be less than 0.2 V.
  • Faulty right rear door switch
  • Faulty right rear door switch ground
  • An open or high resistance in the wire
Right rear door closed Measure the voltage to ground: There should be battery voltage.
  • Faulty right rear door switch
  • A short to ground in the wire

*1: 4-door

*2: 2-door

*3: Except L15BY engine

*4: L15BY engine

Cavity Wire Test condition Test: Desired result Possible cause if desired result is not obtained
D27 WHT Trunk lid open Measure the voltage to ground: There should be less than 0.2 V.
  • Faulty trunk lid latch switch
  • Poor ground (G701) or an open in the ground wire
  • An open or high resistance in the wire
Trunk lid closed Measure the voltage to ground: There should be battery voltage.
  • Faulty trunk lid latch switch
  • A short to ground in the wire

*1: 4-door

*2: 2-door

*3: Except L15BY engine

*4: L15BY engine

Gauge Control Module 

5. Turn the vehicle to the OFF (LOCK) mode.

6. Disconnect the gauge control module connector A (32P)

.

GHH408638Courtesy of HONDA, U.S.A., INC.

Inspect the connector and socket terminals to be sure they are all making good contact:

Reconnect the connector, and do the following input tests:

Cavity Wire Test condition Test: Desired result Possible cause if desired result is not obtained
A1 RED Under all conditions Measure the voltage to ground: There should be battery voltage.
A17 BRN Vehicle ON mode Measure the voltage to ground: There should be battery voltage.
  • Blown No. B7 fuse
  • An open or high resistance in the wire
A4 BLK In all power modes Measure the voltage to ground: There should be less than 0.2 V.
  • Poor ground (G501)
  • An open or high resistance in the ground wire
A32 BLK In all power modes Measure the voltage to ground: There should be less than 0.2 V.
  • Poor ground (G501)
  • An open or high resistance in the ground wire

9. If multiple failures are found on more than one control unit, replace the body control module . If input failures are related to a particular control unit, replace the gauge control module .