LEMON Manuals: Even more car manuals for everyone: 1960-2025
Home >> Honda >> 2017 >> HR-V EX-L, AWD >> Repair and Diagnosis (Single Page) >> Accessories & Equipment >> Anti-Theft Systems >> Security System Keyless Entry System - Testing & Troubleshooting >> Test >> Power Relay Test (2019 2020 2021) >> Test
April 5, 2026: LEMON Manuals is launched! Read the announcement.

Power Relay Test (2019 2020 2021): Test

  1. Power Relay - Test

    Use this chart to identify the types of the relay, then do the test listed for it.

    Relay Test
    A/C compressor clutch relay Normally-Open four-terminal type
    A/C condenser fan relay
    ACC relay (with keyless access system)
    Blower motor relay
    Console accessory power socket relay (with center console armrest)
    Daytime running light relay
    Electronic throttle control system (ETCS) control relay
    Front fog light relay (with front fog light)
    Front seat heater relay (with seat heater)
    Heated windshield wiper area relay (with heated windshield wiper area)
    Horn relay
    Ignition coil relay
    Interior light cut relay
    Lighting relay
    PGM-FI main relay 1
    PGM-FI main relay 2
    Power window relay
    Radiator fan relay
    Rear accessory power socket relay (with rear accessory power socket)
    Rear window defogger relay
    Rear wiper motor relay (with keyless access system)
    Security horn relay
    Starter cut relay (without keyless access system)
    Starter cut relay 1 (with keyless access system)
    Starter cut relay 2 (with keyless access system)
    Taillight relay
    Windshield wiper motor relay (with keyless access system)
    Brake light relay Five-terminal type
    Fan control relay
    Windshield wiper high/low relay
    Windshield wiper intermittent relay

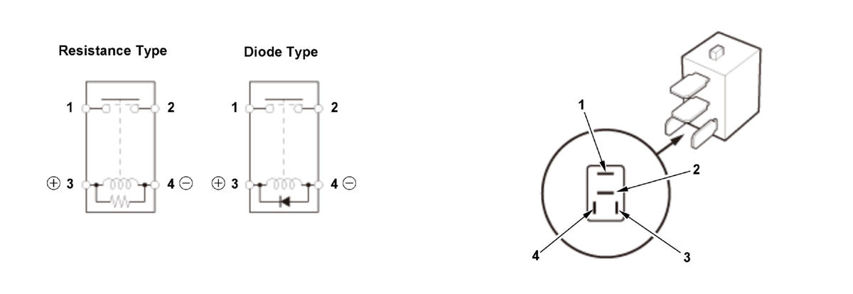
    Normally-Open Four-Terminal Type 

    Check for continuity between the terminals:

    • There should be continuity between terminals No. 1 and No. 2 when 12 volt battery power is connected to terminal No. 3, and ground is connected to terminal No. 4.
    • There should be no continuity between terminals No. 1 and No. 2 when 12 volt battery power is disconnected.
    GHH438377Courtesy of HONDA, U.S.A., INC.

    Five-Terminal Type 

    Check for continuity between the terminals:

    • There should be continuity between terminals No. 1 and No. 2 when 12 volt battery power is connected to terminal No. 3, and ground is connected to terminal No. 5.
    • There should be continuity between terminals No. 1 and No. 4 when 12 volt battery power is disconnected.
    GHH438378Courtesy of HONDA, U.S.A., INC.