LEMON Manuals: Even more car manuals for everyone: 1960-2025
Home >> Honda >> 2017 >> HR-V LX, FWD, Standard Trans >> Repair and Diagnosis >> Engine Performance >> Engine Control Systems >> Engine Control System / Engine Mechanical - Service, Testing And Troubleshooting >> Inspection >> Block and Piston Inspection >> Inspection
April 5, 2026: LEMON Manuals is launched! Read the announcement.

Block and Piston Inspection: Inspection

  1. Crankshaft - Remove 
  2. Piston - Remove
  3. Piston - Inspect
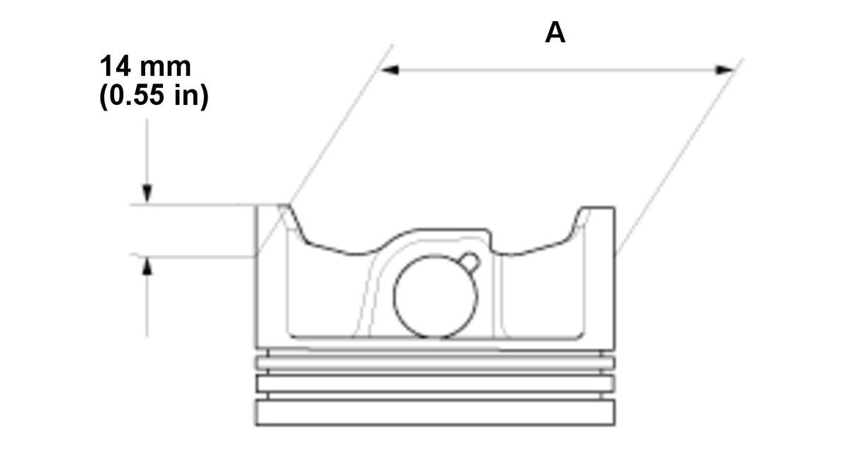
    GHH435219GHH435220Courtesy of HONDA, U.S.A., INC.HONDA, U.S.A., INC.
    GHH435219GHH435220Courtesy of HONDA, U.S.A., INC.HONDA, U.S.A., INC.
    1. Check the pistons for distortion or cracks.

    2. Measure the piston skirt diameter (A) at a point 14 mm (0.55 in) from the bottom of the skirt.

    Piston Skirt Diameter 

    Oversize Piston Skirt Diameter 

    0.25:  81.230-81.240 mm (3.19803-3.19842 in) 
    Standard (New):  80.980-80.990 mm (3.18818-3.18858 in) 
    Service Limit:  80.93 mm (3.1862 in) 
  4. Block - Inspect
    GHH435221Courtesy of HONDA, U.S.A., INC.
    1. Measure the wear and taper in direction X and Y at three levels in each cylinder as shown. If the measurements in any cylinder are beyond the oversize bore service limit, replace the engine block. If the engine block has to be rebored, check the piston-to-cylinder bore clearance.

    Cylinder Bore Size 

    Oversize Bore 

    Bore Taper 

    2. Hone any scored or scratched cylinder bores  if needed.

    Limit:  (Difference between first and third measurement) 0.050 mm (0.00197 in) 
    Reboring limit:  0.25 mm (0.0098 in) max. 
    0.25:  81.250-81.265 mm (3.19881-3.19940 in) 
    Standard (New): 
    Direction X:  81.000-81.020 mm (3.18897-3.18976 in) 
    Direction Y:  81.000-81.015 mm (3.18897-3.18956 in) 
    Service Limit:  81.070 mm (3.19173 in) 
    GHH435222GHH435223Courtesy of HONDA, U.S.A., INC.HONDA, U.S.A., INC.
    GHH435222GHH435223Courtesy of HONDA, U.S.A., INC.HONDA, U.S.A., INC.
    3. Check the top of the engine block for warpage. Measure along the edges and across the center as shown.

    Engine Block Warpage 

    Standard (New):  0.07 mm (0.002 in) max. 
  5. Piston-to-Cylinder Clearance - Inspect
    GHH435224Courtesy of HONDA, U.S.A., INC.
    1. Calculate the difference between the cylinder bore diameter and the piston diameter. If the clearance is near or exceeds the service limit, inspect the piston and the cylinder bore for excessive wear.

    Piston-to-Cylinder Bore Clearance 

    Standard (New):  0.010-0.035 mm (0.00039-0.00138 in) 
    Service Limit:  0.05 mm (0.0020 in) 
  6. All Removed Parts - Install
    1. Install the parts in the reverse order of removal.