LEMON Manuals: Even more car manuals for everyone: 1960-2025
Home >> Honda >> 2017 >> Odyssey EX >> Repair and Diagnosis (Single Page) >> Transmission >> Automatic Trans >> Automatic Transmission - 6-Speed >> System Description >> Electronic Control System >> Lock-Up Control
April 5, 2026: LEMON Manuals is launched! Read the announcement.

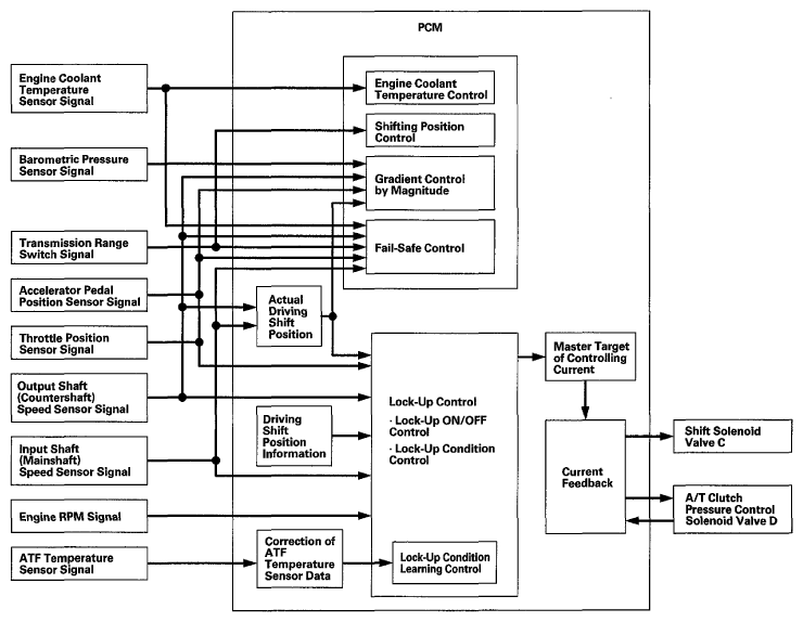
Lock-Up Control

Shift solenoid valve C and A/T clutch pressure control solenoid valve D control the hydraulic pressure to switch the lock-up shift valve and lock-up ON and OFF. When the PCM actuates shift solenoid valve C and A/T clutch pressure control solenoid valve D ON, lock-up starts. A/T clutch pressure control solenoid valve D applies and regulates hydraulic pressure to the lock-up control valve to control the amount of lock-up.

The lock-up mechanism operates: