LEMON Manuals: Even more car manuals for everyone: 1960-2025
Home >> Honda >> 2017 >> Odyssey EX >> Repair and Diagnosis (Single Page) >> Transmission >> Automatic Trans >> Automatic Transmission - 6-Speed >> System Description >> Electronic Control System >> Shift Control - Grade Logic Control
April 5, 2026: LEMON Manuals is launched! Read the announcement.

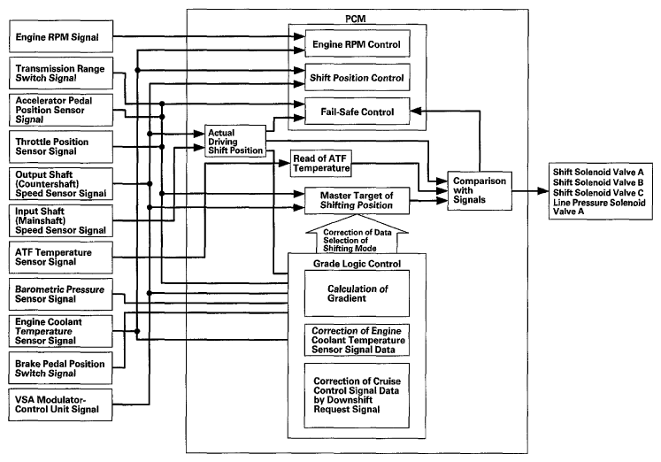
Shift Control - Grade Logic Control

The grade logic control system is used to control shifting in D. The PCM compares actual driving conditions with programmed driving conditions, based on the input signal from the throttle position sensor, the engine coolant temperature sensor, the barometric pressure sensor, the brake pedal position switch, and the transmission range switch, to switch shifting control from the normal control to the ascending or descending control when the PCM determines that the vehicle is ascending a slope or being driven down a slope.

Fig 1: Shift Control - Grade Logic Control Diagram
G06968915Courtesy of AMERICAN HONDA MOTOR CO., INC.