LEMON Manuals: Even more car manuals for everyone: 1960-2025
Home >> Honda >> 2017 >> Odyssey EX >> Repair and Diagnosis >> Body & Frame >> Windows >> Glass >> Windshield Replacement
April 5, 2026: LEMON Manuals is launched! Read the announcement.

Windshield Replacement

NOTE:
  • Wear eye protection while cutting the glass adhesive with piano wire.
  • Put on gloves to protect your hands.
  • Use seat covers to avoid damaging any surfaces.
  • Glass adhesive can be efficiently cut with a commercially available auto glass tool. See the tool manufacturer's instructions for details.
  1. Remove these items:
  2. Remove the windshield molding (A) from the upper edge of the windshield (B). If necessary, cut the windshield molding with a utility knife.
    Fig 1: Identifying Windshield Molding
    G06967582Courtesy of AMERICAN HONDA MOTOR CO., INC.
  3. If the original windshield is to be reinstalled, make alignment marks across the glass and the body with a grease pencil.
  4. Pull down the front area of the headliner (see HEADLINER REMOVAL/INSTALLATION ).
    NOTE: Take care not to bend the headliner excessively, or you may crease or break it.
  5. Apply protective tape along the edge of the dashboard and the body. Make a hole through the rubber dam with an awl or similar tool, and the adhesive from inside the vehicle at a corner of the windshield. Push a piece of piano wire through the hole, and wrap each end around a piece of wood.
  6. With a helper on the outside, pull the piano wire (A) back and forth in a sawing motion. Hold the piano wire as close to the windshield (B) as possible to prevent damage to the body and the dashboard. Carefully cut through the rubber dam and the adhesive (C) around the entire windshield.
    Fig 2: Pulling Piano Wire
    G06967583Courtesy of AMERICAN HONDA MOTOR CO., INC.

    Cutting positions 

    Fig 3: Identifying Cutting Positions
    G06967584Courtesy of AMERICAN HONDA MOTOR CO., INC.
  7. Carefully remove the windshield.
  8. Scrape smooth the original adhesive with a knife until there is a thickness of about 2 mm (0.08 in) on the bonding surface around the entire windshield opening flange:
    • Do not scrape down to the painted surface of the body; damaged paint will interfere with proper bonding.
    • Remove the rubber dam from the body.
    • Replace the dashboard seal with a new one.
  9. Clean the body bonding surface with a shop towel dampened with isopropyl alcohol. After cleaning, keep oil, grease, and water from getting on the clean surface.
  10. If you are reinstalling the original windshield, scrape off all of the original adhesive, the upper clips and the rubber dams from the windshield with a putty knife. Clean the bonding surfaces on the inside face and the edge of the windshield with isopropyl alcohol. Make sure the bonding surface is kept free of water, oil, and grease.
  11. Before installing a new windshield, attach the new rearview mirror harness cover base to the inside face of the windshield
  12. Apply glass primer to the upper clips mounting areas on the windshield (A), and let dry. Remove the adhesive backing and attach the rubber dam (B) and the upper clips (C) to the inside of the windshield as shown in the figure:
    • Make sure the rubber dams and the upper clips line up with the alignment marks (D).
    • Be careful not to touch the windshield where the adhesive will be applied.
      Fig 4: Identifying Windshield Rubber Dam, Upper Clips And Alignment Marks
      G06967585Courtesy of AMERICAN HONDA MOTOR CO., INC.
  13. Attach the windshield molding (A) with adhesive tape (B) to the upper edge of the windshield (C).
    NOTE: Be careful not to touch the windshield where the adhesive is applied.
    Fig 5: Attaching Windshield Molding With Adhesive Tape To Upper Edge Of Windshield
    G06967586Courtesy of AMERICAN HONDA MOTOR CO., INC.
  14. Apply primer to the molding (A), then attach the upper seal (B) with adhesive tape to the inside surface of the molding as shown in the figure.
    Fig 6: Applying Primer To Molding
    G06967587Courtesy of AMERICAN HONDA MOTOR CO., INC.
  15. Set the windshield in the opening, and center it. Make alignment marks (A) across the windshield and the body with a grease pencil at the four points shown in the figure. Make sure both clips (B) contact with the edge of the body holes. Be careful not to touch the windshield where the adhesive will be applied.
    Fig 7: Identifying Alignment Marks And Clips
    G06967588Courtesy of AMERICAN HONDA MOTOR CO., INC.
  16. Remove the windshield.
  17. Apply a light coat of glass primer around the edge of the windshield (A) between the rubber dam (B) and the windshield molding (C) as shown in the figure, then lightly wipe it off with gauze or cheesecloth:
    • Apply glass primer to the molding.
    • Do not apply body primer to the windshield, and do not mix up the body and glass primer applicators.
    • Allow the primer to dry for at least 10 minutes.
    • Never touch the primed surfaces with your hands. If you do, the adhesive may not bond to the windshield properly, causing a leak after the windshield is installed.
    • Keep water, dust, and abrasive materials away from the primed surface.
      Fig 8: Identifying Glass Primer Applying Locations
      G06967589Courtesy of AMERICAN HONDA MOTOR CO., INC.
  18. Carefully apply a light coat of body primer to any exposed paint on the windshield mounting flange. Let the body primer dry for at least 10 minutes:
    • Do not apply body primer to any remaining original adhesive on the flange.
    • Cover on the dashboard before priming the flange.
    • Be careful not to mix up the body and glass primer applicators.
    • Never touch the primed surfaces with your hands.
      Fig 9: Identifying Exposed Paint Location
      G06967590Courtesy of AMERICAN HONDA MOTOR CO., INC.
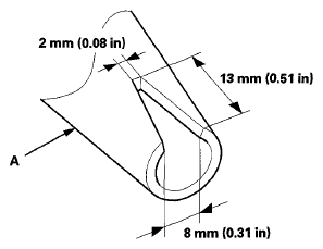
  19. Cut a "V" in the end of the adhesive cartridge nozzle (A) as shown in the figure.
    Fig 10: Identifying Nozzle End V Cut Dimensions
    G06967591Courtesy of AMERICAN HONDA MOTOR CO., INC.
  20. Put the cartridge in a caulking gun, and run a continuous bead of the adhesive (A) around the edge of the windshield (B) along the edge of the rubber dam (C) and the windshield molding (D) as shown in the figure:
    • Apply the adhesive within 30 minutes after applying the glass primer.
    • Make a slightly thicker bead at each corner.
      Fig 11: Identifying Windshield Molding, Edges Of Windshield And Rubber Dam
      G06967592Courtesy of AMERICAN HONDA MOTOR CO., INC.
  21. Hold the windshield with suction cups over the opening, align it with the alignment marks made in step  15, and set it down on the adhesive. Lightly push on the windshield until its edges are fully seated on the adhesive all the way around.
    NOTE: Do not open or close any of the doors for about an hour until adhesive is dry.
  22. Remove the excess adhesive with a putty knife or a shop towel dampened with isopropyl alcohol.
  23. Wait at least an hour for the adhesive to dry, then spray water over the windshield and check for leaks. Mark the leaking area, let the windshield dry, then seal with sealant. Let the vehicle stand for at least 4 hours after windshield installation. If the vehicle has to be used within the first 4 hours, it must be driven slowly.
  24. Reinstall all removed parts.
    NOTE: Advise the customer not to do the following things for 2 to 3 days:
    • Slam the doors with all the windows rolled up.
    • Twist the body excessively (such as when going in and out of driveways at an angle or driving over rough, uneven roads).