LEMON Manuals: Even more car manuals for everyone: 1960-2025
Home >> Honda >> 2017 >> Odyssey EX >> Repair and Diagnosis >> Steering >> Power Steering >> Steering System >> Steering Gearbox Overhaul >> Exploded View >> Reassembly
April 5, 2026: LEMON Manuals is launched! Read the announcement.

Exploded View: Reassembly

  1. 24. Coat the piston seal ring guide with power steering fluid, then slide it onto the rack, big end first.
  2. 25. Position the new O-ring (A) and new piston seal ring (B) on the piston seal ring guide, then slide them down toward the big end of the tool.

    Note these items during reassembly:

    • Do not over expand the resin seal ring. Install the resin seal ring with care so as not to damage them. After installation, make sure you contract the seal ring using the sizing tool.
    • Replace the piston's O-ring and seal ring as a set.
      Fig 1: Positioning O-Ring And Piston Seal Ring
      G06970542Courtesy of AMERICAN HONDA MOTOR CO., INC.
  3. 26. Pull the O-ring off into the piston groove, then pull the piston seal ring off into the piston groove on top of the O-ring.
  4. 27. Coat the piston seal ring (A) and the inside of the piston seal ring sizing tool with power steering fluid, then carefully slide the tool onto the rack and over the piston seal ring.
    Fig 2: Sliding Piston Seal Ring Sizing Tool Onto Rack And Over Piston Seal Ring
    G06970543Courtesy of AMERICAN HONDA MOTOR CO., INC.
  5. 28. Move the piston seal ring sizing tool back and forth several times to make sure the piston seal ring seats snugly in groove of the piston.
  6. 29. Wrap vinyl tape around the rack teeth and rack end edges, make sure that the vinyl tape is wrapped carefully so that there is no stepped portion. Coat the surface of the tape with power steering fluid.
    Fig 3: Identifying Power Steering Fluid Coating Area
    G06970544Courtesy of AMERICAN HONDA MOTOR CO., INC.
  7. 30. Coat the inside surface of the new cylinder end seal (A) with power steering fluid, then install it onto the steering rack with its grooved side toward the piston. When installing the cylinder end seal, be careful not to damage the lip of the seal with the edges or teeth of the steering rack.
    Fig 4: Installing Cylinder End Seal
    G06970545Courtesy of AMERICAN HONDA MOTOR CO., INC.
  8. 31. Remove the vinyl tape from the steering rack, then remove any adhesive residue.
  9. 32. Apply steering grease to the steering rack teeth, then insert the steering rack into the gearbox housing. Be careful not to damage the inner surface of the cylinder wall with the rack edges.
    Fig 5: Identifying Steering Rack Teeth Grease Applying Area
    G06970546Courtesy of AMERICAN HONDA MOTOR CO., INC.
  10. 33. Insert an appropriate sized socket (A) onto the steering rack as shown.
    Fig 6: Inserting Socket Onto Steering Rack
    G06970547Courtesy of AMERICAN HONDA MOTOR CO., INC.
  11. 34. Install the new cylinder end seal (B) into the bottom of the cylinder by pressing on the tool with a press. Do not push on the tool with excessive force as it may damage the cylinder end seal.
  12. 35. Remove the tool, and center the steering rack.
  13. 36. Wrap vinyl tape around the rack end edges, and coat the surface of the tape with power steering fluid. Make sure that the vinyl tape is wrapped carefully so that there is no stepped portion.
    Fig 7: Identifying Rack End Edge Power Steering Fluid Applying Area
    G06970548Courtesy of AMERICAN HONDA MOTOR CO., INC.
  14. 37. Coat the inside surface of the new cylinder end seal (A) with power steering fluid, then press it into the rack bushing (B) using the driver handle and bearing driver attachment.
    Fig 8: Installing Cylinder End Seal Into Rack Bushing
    G06970549Courtesy of AMERICAN HONDA MOTOR CO., INC.
  15. 38. Coat the new O-ring (C) with power steering fluid, and carefully fit it in the groove of the rack bushing.
  16. 39. Install the rack bushing onto the steering rack with the cylinder end seal grooved side toward the piston. Push in the rack bushing with your finger.
    Fig 9: Identifying Rack Bushing And Steering Rack
    G06970550Courtesy of AMERICAN HONDA MOTOR CO., INC.
  17. 40. Remove the vinyl tape from the steering rack, then remove any adhesive residue.
  18. 41. Install the rack stop (A) onto the steering rack so the hole (B) is aligned with the slot (C) on the cylinder housing.
    Fig 10: Identifying Rack Stop, Hole And Slot On Cylinder Housing
    G06970551Courtesy of AMERICAN HONDA MOTOR CO., INC.
  19. 42. Insert the end of the new circlip (A) into the hole (B) of the rack stop (C). Turn the rack stop counterclockwise until the circlip is fully seated in the rack stop.
    Fig 11: Turning Rack Stop Counterclockwise
    G06970552Courtesy of AMERICAN HONDA MOTOR CO., INC.
  20. 43. Wrap vinyl tape (A) over the pinion shaft/sleeve (B), then coat the vinyl tape with power steering fluid.
    Fig 12: Identifying Power Steering Fluid Applying Area
    G06970553Courtesy of AMERICAN HONDA MOTOR CO., INC.
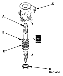
  21. 44. Insert the pinion shaft/sleeve and a new valve oil seal (C) into the valve housing (D). Be careful not to damage the valve seal rings (E).
  22. 45. Remove the vinyl tape from the pinion shaft, then remove any residue from the tape adhesive.
  23. 46. Press the new valve oil seal (A) into the valve housing with a hydraulic press, bearing driver attachment (B), and oil seal driver (C). Check that the pinion shaft/sleeve turns smoothly by hand after installing it.
    Fig 13: Pressing Valve Oil Seal Into Valve Housing Using Hydraulic Press
    G06970554Courtesy of AMERICAN HONDA MOTOR CO., INC.
  24. 47. Apply steering grease to the bearings (A) in the gearbox housing, and install the valve body unit (B) and new gasket (C) by engaging the gears. Note the valve body unit installation position (direction of line connections). Then loosely install the two flange bolts and connector bracket.
    Fig 14: Bearing Grease Applying Area With Torque Specifications
    G06970555Courtesy of AMERICAN HONDA MOTOR CO., INC.
  25. 48. Coat the new O-rings (C) with power steering fluid, then install the O-rings to connector A and connector B.
    Fig 15: Connector And O-Ring Steering Fluid Applying Area With Torque Specifications
    G06970556Courtesy of AMERICAN HONDA MOTOR CO., INC.
  26. 49. Install connector A and connector B to the steering gearbox, and tighten them to the specified torque.
  27. 50. Before installing the cylinder lines, coat the new O-rings with power steering fluid, then install the lines.

    Note these items during reassembly:

    • Thoroughly clean the joints of the cylinder lines. The joints must be free of foreign material.
    • Install the cylinder lines by tightening the flare nuts by hand first, then tighten the flare nuts to the specified torque.
    • Use a second wrench when tightening the cylinder lines to avoid damaging the fittings on the steering gearbox.
      Fig 16: Cylinder Lines Torque Specification
      G06970557Courtesy of AMERICAN HONDA MOTOR CO., INC.
  28. 51. Apply steering grease to the sliding surface of the rack guide (A), and install it onto the gearbox housing.
    Fig 17: Identifying Rack Guide, Screw, Spring And Lock Nut With Rack Guide Grease Applying Area
    G06970558Courtesy of AMERICAN HONDA MOTOR CO., INC.
  29. 52. Remove the old sealant from the rack guide screw (B), and apply new sealant (Loctite 565) to the middle of the threads of the rack guide screw, then install the spring (C), rack guide screw, and locknut (D).
    NOTE: If more than 5 minutes has passed after applying the sealant, remove the old sealant and residue, and reapply new sealant.
  30. 53. Adjust the rack guide screw (see RACK GUIDE ADJUSTMENT  ). After adjusting, check that the rack moves smoothly by sliding it right and left.
  31. 54. Hold the gearbox housing using a C-clamp (A) and wooden blocks (B) as shown. Do not clamp the cylinder part of the gearbox housing in a vise.
    Fig 18: Holding Gearbox Housing Using C-Clamp And Wooden Blocks
    G06970559Courtesy of AMERICAN HONDA MOTOR CO., INC.
  32. 55. Install a new lock washer (A). Align the lock washer tabs (B) with the slots (C) on the rack end (D) while holding the lock washer in place. Repeat this step for the other side of the rack.
    Fig 19: Lock Washer, Lock Washer Tabs With Slots On Rack End With Torque Specifications
    G06970560Courtesy of AMERICAN HONDA MOTOR CO., INC.
  33. 56. Hold the flat surface sections of the steering rack with one wrench, and tighten both rack ends with another wrench. Be careful not to damage the rack surface with the wrench.
  34. 57. Bend the lock washer (A) back against the flat spots on the rack end joint housing.
    Fig 20: Bending Lock Washer Back Against Flat Spots On Rack End Joint Housing
    G06970561Courtesy of AMERICAN HONDA MOTOR CO., INC.
  35. 58. Install the nut (A) onto the pinion shaft end, and tighten to the specified torque.
    Fig 21: Pinion Shaft End Nut With Torque Specification
    G06970562Courtesy of AMERICAN HONDA MOTOR CO., INC.
  36. 59. Tighten the flange bolts on the valve body unit to the specified torque.
  37. 60. Remove the old sealant from the end plug (B), and apply new sealant (Loctite 565) all the way around the threads on the end plug, install the end plug onto the gearbox housing, and tighten it to the specified torque.
    NOTE: If more than 5 minutes has passed after applying the sealant, remove the old sealant and residue, and reapply new sealant.
  38. 61. After tightening, use a drift to stake (A) the end plug shoulder against the gearbox housing.
    Fig 22: Identifying End Plug Shoulder Staking Area
    G06970563Courtesy of AMERICAN HONDA MOTOR CO., INC.
  39. 62. Apply a light coat of silicone grease to the boot grooves (A) on the rack ends.
    Fig 23: Identifying Boot Groove Grease Applying Area
    G06970564Courtesy of AMERICAN HONDA MOTOR CO., INC.
  40. 63. Center the steering rack within its stroke.
  41. 64. Clean off any grease or contamination from the boot installation grooves (A) on the gearbox housing. Install the boots (B) on the rack ends with the tie-rod clips (C), and fit the boot end on the housing properly.
    Fig 24: Identifying Boot, Boot Installation Grooves, Clips And Rack End Threaded Section
    G06970565Courtesy of AMERICAN HONDA MOTOR CO., INC.
  42. 65. After installing the boots, wipe the grease off the threaded section (D) of the rack end.
  43. 66. Install the new boot bands by aligning the tabs (A) with the holes (B) of the band.
    Fig 25: Identifying Boot Band Aligning Tabs And Holes
    G06970566Courtesy of AMERICAN HONDA MOTOR CO., INC.
  44. 67. Close the ear portion (A) of the band with commercially available pincers Oetiker 1098 or equivalent (B).
    Fig 26: Closing Ear Portion Of Band Using Commercially Available Pincers Oetiker 1098
    G06970567Courtesy of AMERICAN HONDA MOTOR CO., INC.
  45. 68. Slide the rack right and left to be certain that the boots are not deformed or twisted.
  46. 69. Install the tie-rod end to the rack end.
  47. 70. Install the steering gearbox (see INSTALLATION  ).