LEMON Manuals: Even more car manuals for everyone: 1960-2025
Home >> Honda >> 2017 >> Pilot EX, AWD >> Repair and Diagnosis >> Steering >> Manual Steering >> Steering System - Service, Testing And Troubleshooting >> Replacement >> Steering Tie-Rod End Ball Joint Boot Replacement >> Replacement
April 5, 2026: LEMON Manuals is launched! Read the announcement.

Steering Tie-Rod End Ball Joint Boot Replacement: Replacement

  1. Vehicle - Lift
  2. Front Wheel - Remove
  3. Tie-Rod End Ball Joint - Disconnect
    GHH312679Courtesy of HONDA, U.S.A., INC.
    1. Remove the cotter pin (A).

    2. Remove the nut (B).

    3. Disconnect the tie-rod end ball joint from the knuckle using the ball joint thread protector and the ball joint remover

    NOTE:

    Be careful not to damage the ball joint boot when installing the ball joint remover.

  4. Tie-Rod End Ball Joint Boot - Remove
    GHH312680Courtesy of HONDA, U.S.A., INC.
    1. Remove the ball joint boot (A) from the tie-rod end.

    2. Wipe the old grease off the ball pin.

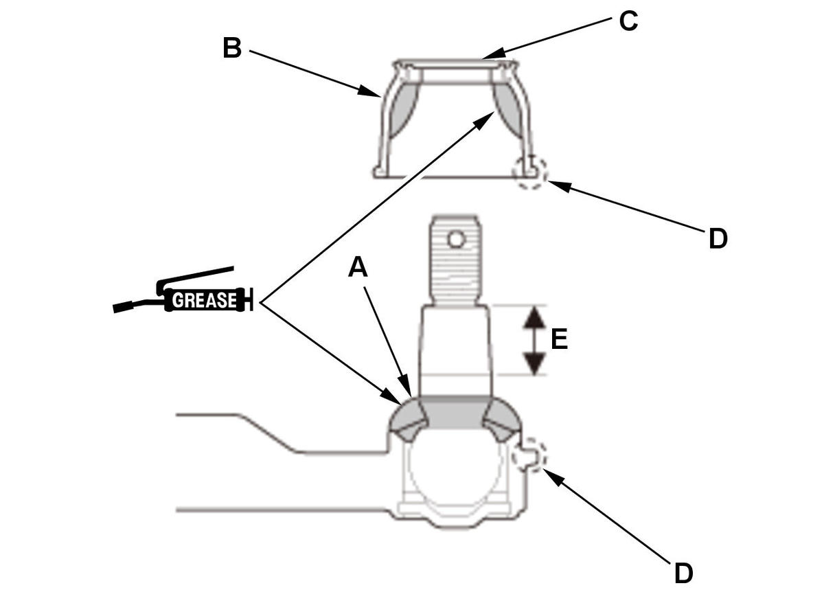
  5. Tie-Rod End Ball Joint Boot - Install
    GHH312681Courtesy of HONDA, U.S.A., INC.
    1. Pack the lower area of the ball pin (A) with fresh multipurpose grease.

    2. Pack the interior of the new ball joint boot (B) and the lip (C) with fresh multipurpose grease. Note these items when installing new grease:

    • Keep grease off the boot mounting area (D) and the tapered section (E) of the ball pin.
    • Do not allow dust, dirt, or other foreign materials to enter the boot.
    GHH312682Courtesy of HONDA, U.S.A., INC.
    3. Install the ball joint boot (A) using the bearing driver attachment.

    4. The ball joint boot must not have a gap at the ball joint boot installation sections (B).

    5. After installing the ball joint boot, check the ball pin tapered section for grease contamination.

    6. Wipe the ball pin tapered section if necessary.

  6. Tie-Rod End Ball Joint - Connect
    Fig 1: Tie-Rod End Ball Joint Replacement Components With Torque Specifications
    GHH312683Courtesy of HONDA, U.S.A., INC.
    1. Wipe off any grease contamination from the ball joint tapered section and threads.

    2. Connect the tie-rod ball joint (A) to the knuckle.

    3. Install a new nut (B) and tighten to the specified torque.

    4. Install a new cotter pin (C).

    NOTE:

    Bend the cotter pin as shown.

  7. Front Wheel - Install