LEMON Manuals: Even more car manuals for everyone: 1960-2025
Home >> Honda >> 2017 >> Ridgeline RTL, AWD >> Repair and Diagnosis (Single Page) >> Steering >> Manual Steering >> Steering System - Testing & Troubleshooting >> Description & Operation >> EPS System Description - System Diagram (2017 2018 2019)
April 5, 2026: LEMON Manuals is launched! Read the announcement.

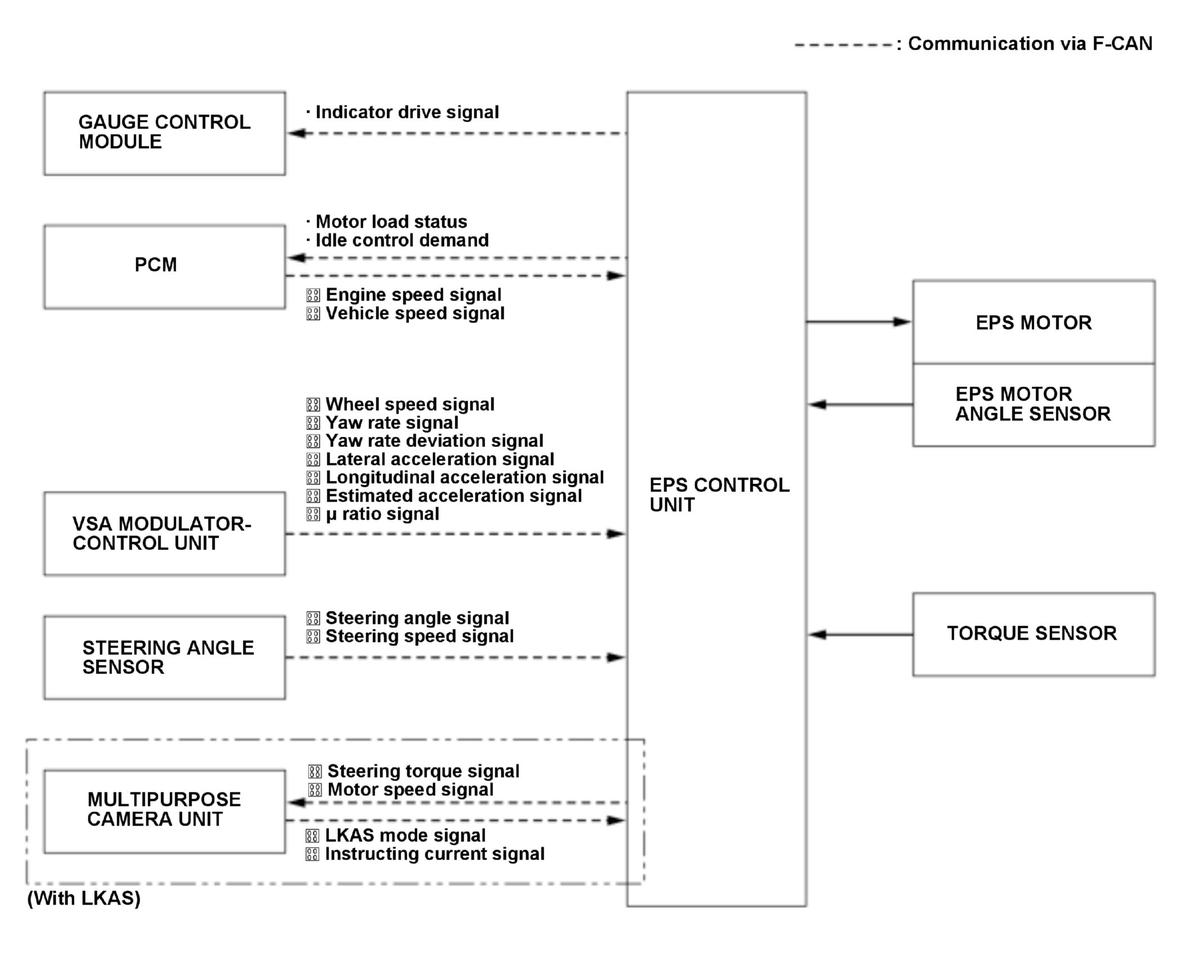
EPS System Description - System Diagram (2017 2018 2019)

GHH460129Courtesy of HONDA, U.S.A., INC.

For locations of each component on vehicle, refer to Component Location Index: