LEMON Manuals: Even more car manuals for everyone: 1960-2025
Home >> Honda >> 2017 >> Ridgeline RTS, AWD >> Repair and Diagnosis (Single Page) >> Accessories & Equipment >> Communication Devices >> Integrated Control Systems - Testing & Troubleshooting >> Input Test >> MICU Input Test (2017 2018 2019)
April 5, 2026: LEMON Manuals is launched! Read the announcement.

MICU Input Test (2017 2018 2019)

NOTE:
  • Before testing, check for DTCs. If any DTCs are indicated, troubleshoot those DTCs first.
  • If you are troubleshooting multiple DTCs, be sure to follow the instructions in B-CAN System Diagnosis Test Mode A .
  • Before testing, make sure the fuses associated with the system is OK.

1. Turn the vehicle to the OFF (LOCK) mode.

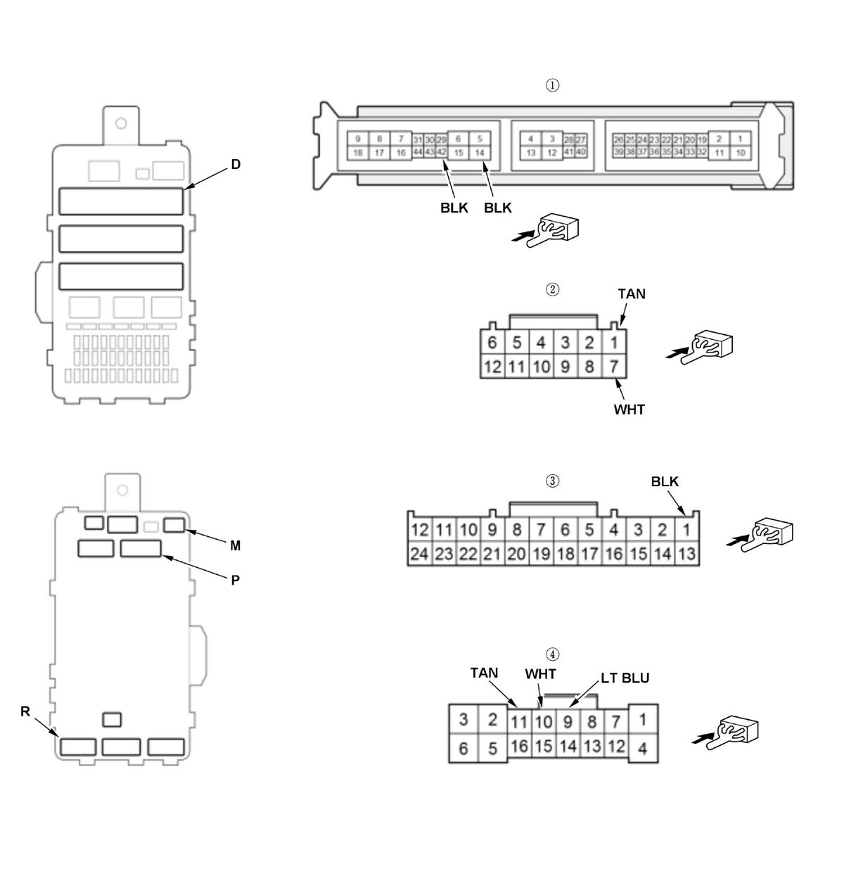
2. Disconnect under-dash fuse/relay box connectors.

UNDER-DASH FUSE/RELAY BOX CONNECTOR D (44P) (female terminals):  UNDER-DASH FUSE/RELAY BOX CONNECTOR M (12P) (female terminals): UNDER-DASH FUSE/RELAY BOX CONNECTOR P (24P) (female terminals): UNDER-DASH FUSE/RELAY BOX CONNECTOR R (16P) (female terminals):

GHH457386Courtesy of HONDA, U.S.A., INC.

3. Inspect the connectors and socket terminals to be sure they are all making good contact:

4. With the connectors still disconnected, do the following input tests:

Cavity Wire Test condition Test: Desired result Possible cause if desired result is not obtained
M7 WHT Disconnect the power window master switch 37P connector Check for continuity between terminal M7 and power window master switch 37P connector terminal No. 28: There should be continuity. An open in the B-CAN wire
M1 TAN Check for continuity between terminal M1 and power window master switch 37P connector terminal No. 30: There should be continuity.
M7* 1 WHT Disconnect audio unit connector B (20P) Check for continuity between terminal M7 and audio unit connector B (20P) terminal No. 13: There should be continuity. An open in the B-CAN wire
M1* 1 TAN Check for continuity between terminal M1 and audio unit connector B (20P) terminal No. 3: There should be continuity.
M7* 2 WHT Disconnect audio unit connector C (24P) Check for continuity between terminal M7 and audio unit connector C (24P) terminal No. 24: There should be continuity. An open in the B-CAN wire
M1* 2 TAN Check for continuity between terminal M1 and audio unit connector C (24P) terminal No. 12: There should be continuity.
M7* 3 WHT Disconnect audio-navigation unit connector B (20P) Check for continuity between terminal M7 and audio-navigation unit connector B (20P) terminal No. 13: There should be continuity. An open in the B-CAN wire
M1* 3 TAN Check for continuity between terminal M1 and audio-navigation unit connector B (20P) terminal No. 3: There should be continuity.

*1: Without navigation (display audio type)

*2: Without navigation (color audio type)

*3: With navigation

*4: With climate control

*5: Without climate control

*6: With DPMS

*7: With automatic wiper

*8: Without automatic wiper

*9: With BSI

*10: With ventilated seat

*11: With rear seat heater

*12: With auto high-beam

Cavity Wire Test condition Test: Desired result Possible cause if desired result is not obtained
M7 WHT Disconnect gauge control module 32P connector Check for continuity between terminal M7 and gauge control module 32P connector terminal No. 26: There should be continuity. An open in the B-CAN wire
M1 TAN Check for continuity between terminal M1 and gauge control module 32P connector terminal No. 27: There should be continuity.
M7* 4 WHT Disconnect climate control unit connector A (32P) Check for continuity between terminal M7 and climate control unit connector A (32P) terminal No. 23: There should be continuity. An open in the B-CAN wire
M1* 4 TAN Check for continuity between terminal M1 and climate control unit connector A (32P) terminal No. 24: There should be continuity.
M7* 5 WHT Disconnect HVAC control unit connector A (32P) Check for continuity between terminal M7 and HVAC control unit connector A (32P) terminal No. 23: There should be continuity. An open in the B-CAN wire
M1* 5 TAN Check for continuity between terminal M1 and HVAC control unit connector A (32P) terminal No. 24: There should be continuity.
R10* 6 WHT Disconnect power seat control unit connector A (20P) Check for continuity between terminal R10 and power seat control unit connector A (20P) terminal No. 16: There should be continuity. An open in the B-CAN wire
R11* 6 TAN Check for continuity between terminal R11 and power seat control unit connector A (20P) terminal No. 17: There should be continuity.
M7* 7 WHT Disconnect the automatic lighting/rain sensor 5P connector Check for continuity between terminal M7 and automatic lighting/rain sensor 5P connector terminal No. 4: There should be continuity. An open in the B-CAN wire
M1* 7 TAN Check for continuity between terminal M1 and automatic lighting/rain sensor 5P connector terminal No. 3: There should be continuity.

*1: Without navigation (display audio type)

*2: Without navigation (color audio type)

*3: With navigation

*4: With climate control

*5: Without climate control

*6: With DPMS

*7: With automatic wiper

*8: Without automatic wiper

*9: With BSI

*10: With ventilated seat

*11: With rear seat heater

*12: With auto high-beam

Cavity Wire Test condition Test: Desired result Possible cause if desired result is not obtained
M7* 8 WHT Disconnect the automatic lighting control unit-sensor 5P connector Check for continuity between terminal M7 and automatic lighting control unit-sensor 5P connector terminal No. 1: There should be continuity. An open in the B-CAN wire
M1* 8 TAN Check for continuity between terminal M1 and automatic lighting control unit-sensor 5P connector terminal No. 2: There should be continuity.
M7 WHT Disconnect the parking and back-up sensor control unit 16P connector Check for continuity between terminal M7 and parking and back-up sensor control unit 16P connector terminal No. 9: There should be continuity. An open in the B-CAN wire
M1 TAN Check for continuity between terminal M1 and parking and back-up sensor control unit 16P connector terminal No. 2: There should be continuity.
R10* 9 WHT Disconnect the left side BSI radar unit 6P connector Check for continuity between terminal R10 and left side BSI radar unit 6P connector terminal No. 3: There should be continuity. An open in the B-CAN wire
R11* 9 TAN Check for continuity between terminal R11 and left side BSI radar unit 6P connector terminal No. 5: There should be continuity.
R10* 9 WHT Disconnect the right side BSI radar unit 6P connector Check for continuity between terminal M10 and right side BSI radar unit 6P connector terminal No. 3: There should be continuity. An open in the B-CAN wire
R11* 9 TAN Check for continuity between terminal R11 and right side BSI radar unit 6P connector terminal No. 5: There should be continuity.
R10* 10 WHT Disconnect the ventilated seat control unit 14P connector Check for continuity between terminal R10 and ventilated seat control unit 14P connector terminal No. 11: There should be continuity. An open in the B-CAN wire
R11* 10 TAN Check for continuity between terminal R11 and ventilated seat control unit 14P connector terminal No. 10: There should be continuity.

*1: Without navigation (display audio type)

*2: Without navigation (color audio type)

*3: With navigation

*4: With climate control

*5: Without climate control

*6: With DPMS

*7: With automatic wiper

*8: Without automatic wiper

*9: With BSI

*10: With ventilated seat

*11: With rear seat heater

*12: With auto high-beam

Cavity Wire Test condition Test: Desired result Possible cause if desired result is not obtained
R10* 11 WHT Disconnect the rear seat heater control unit 14P connector Check for continuity between terminal R10 and rear seat heater control unit 14P connector terminal No. 11: There should be continuity. An open in the B-CAN wire
R11* 11 TAN Check for continuity between terminal R11 and rear seat heater control unit 14P connector terminal No. 10: There should be continuity.
M7* 12 WHT Disconnect the auto high-beam control unit 6P connector Check for continuity between terminal M7 and auto high-beam control unit 6P connector terminal No. 2: There should be continuity. An open in the B-CAN wire
M1* 12 TAN Check for continuity between terminal M1 and auto high-beam control unit 6P connector terminal No. 3: There should be continuity.
R9 LT BLU Under all conditions Check for continuity between terminal R9 and data link connector (DLC) terminal No. 7: There should be continuity. An open in the K-LINE wire

*1: Without navigation (display audio type)

*2: Without navigation (color audio type)

*3: With navigation

*4: With climate control

*5: Without climate control

*6: With DPMS

*7: With automatic wiper

*8: Without automatic wiper

*9: With BSI

*10: With ventilated seat

*11: With rear seat heater

*12: With auto high-beam

5. Reconnect the connectors to the under-dash fuse/relay box, and do the following input tests:

Cavity Wire Test condition Test: Desired result Possible cause if desired result is not obtained
D14 BLK In all power modes Measure the voltage to ground: There should be less than 0.2 V.
  • Poor ground (G601)
  • An open or high resistance in the ground wire
D42 BLK In all power modes Measure the voltage to ground: There should be less than 0.2 V.
  • Poor ground (G601)
  • An open or high resistance in the ground wire
P1 BLK In all power modes Measure the voltage to ground: There should be less than 0.2 V.
  • Poor ground (G401)
  • An open or high resistance in the ground wire