LEMON Manuals: Even more car manuals for everyone: 1960-2025
Home >> Honda >> 2018 >> Civic LX-P >> Repair and Diagnosis (Single Page) >> Body & Frame >> Exterior/Interior Trim >> Exterior Panels / Trim - Testing & Troubleshooting >> Input Test >> Wipers/Washers (Body Control Module and Windshield Wiper Control Unit) Input Test (2/4-door)
April 5, 2026: LEMON Manuals is launched! Read the announcement.

Wipers/Washers (Body Control Module and Windshield Wiper Control Unit) Input Test (2/4-door)

NOTE: 

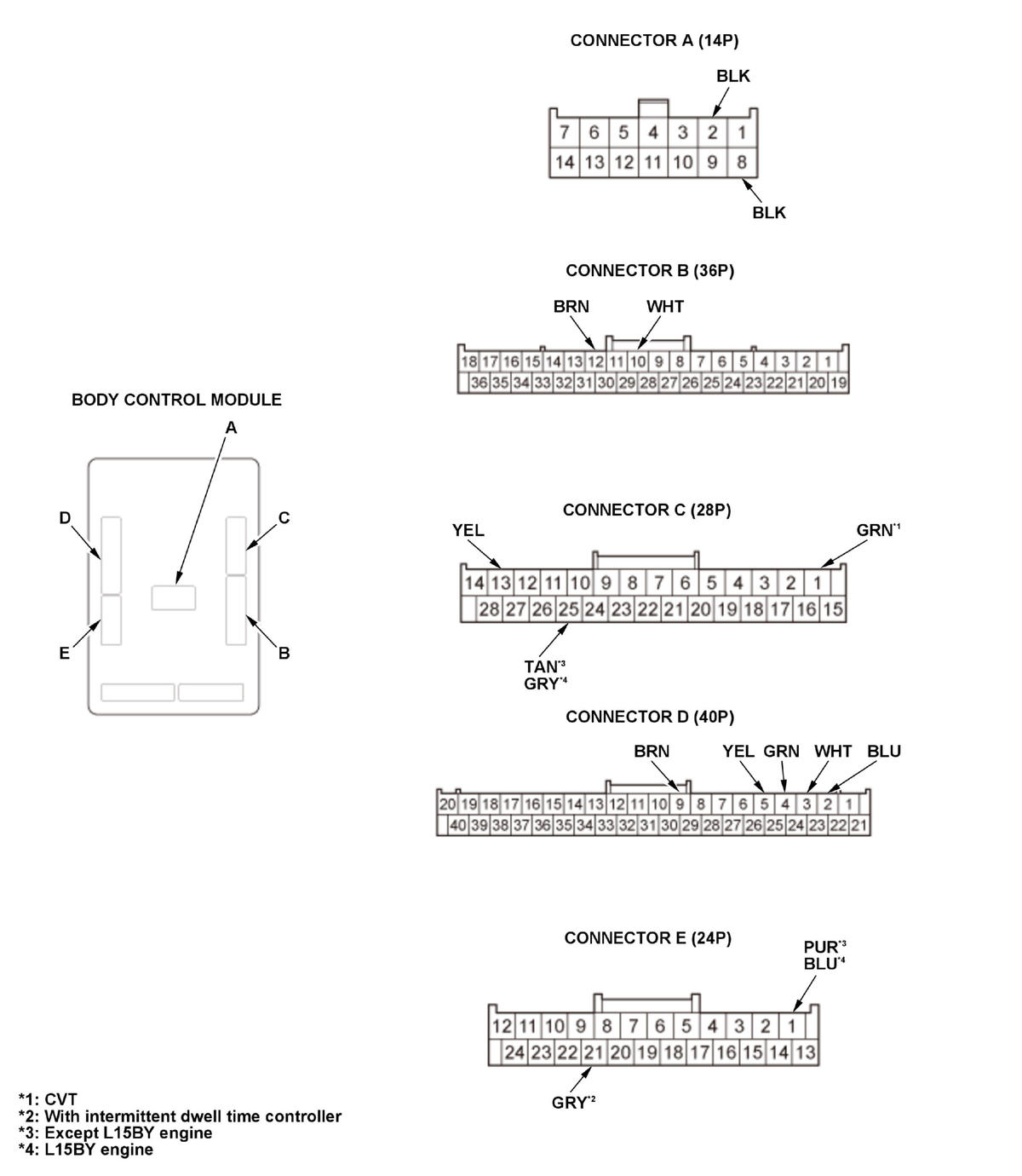
Body Control Module 

1. Turn the vehicle to the OFF (LOCK) mode.

2. Disconnect body control module connectors A, B, C, D, and E .

NOTE:  All connector views are shown from the wire side of the female terminals.

GHH407558Courtesy of HONDA, U.S.A., INC.

3. Inspect the connectors and socket terminals to be sure they are all making good contact:

4. With the connectors still disconnected, do the following input tests:

Cavity Wire Test condition Test: Desired result Possible cause if desired result is not obtained
B10 WHT Disconnect the windshield wiper control unit/motor 6P connector Check for continuity between terminal B10 and windshield wiper control unit/motor 6P connector terminal No. 3:
There should be continuity
An open or high resistance in the wire
B12 BRN Under all conditions Connect to ground with a jumper wire:
The windshield washer motor should run.
  • Blown No. A6 fuse
  • Faulty windshield washer motor relay circuit
  • Faulty windshield washer motor
  • Poor ground (G302 *2, G305 *1) or an open in the ground wire
  • An open or high resistance in the wire
C13 YEL Disconnect the windshield wiper control unit/motor 6P connector Check for continuity between terminal C13 and windshield wiper control unit/motor 6P connector terminal No. 4:
There should be continuity.
An open or high resistance in the wire

*1: Except L15BY engine

*2: L15BY engine

5. Reconnect the connectors to the body control module, and do the following input tests:

Cavity Wire Test condition Test: Desired result Possible cause if desired result is not obtained
E1 PUR *3
BLU *4
Vehicle ON mode Measure the voltage to ground:
There should be battery voltage.
A2 BLK In all power modes Measure the voltage to ground:
There should be less than 0.2 V.
  • Poor ground (G501)
  • An open or high resistance in the ground wire
A8 BLK In all power modes Measure the voltage to ground:
There should be less than 0.2 V.
  • Poor ground (G501)
  • An open or high resistance in the ground wire
C1 *1 GRN Shift lever in P position/mode Measure the voltage to ground:
There should be less than 0.2 V.
  • Faulty or improperly adjusted transmission range switch
  • Poor ground (G201) or an open in the ground wire
  • An open or high resistance in the wire
Shift lever in any other position/mode than P Measure the voltage to ground:
There should be battery voltage.
  • Faulty or improperly adjusted transmission range switch
  • A short to ground in the wire
C25 TAN *3
GRY *4
Brake pedal pressed Measure the voltage to ground:
There should be battery voltage.

*1: CVT

*2: With intermittent dwell time controller

*3: Except L15BY engine

*4: L15BY engine

Cavity Wire Test condition Test: Desired result Possible cause if desired result is not obtained
D2
D9
BLU
BRN
Windshield wiper switch (INT or LO) ON Measure the voltage to ground:
There should be less than 0.2 V.
  • Faulty windshield wiper/washer switch
  • An open or high resistance in the wire
Windshield wiper switch OFF Measure the voltage to ground:
There should be battery voltage.
  • Faulty windshield wiper/washer switch
  • A short to ground in the wire
D4
D9
GRN
BRN
Windshield wiper switch (MIST) ON Measure the voltage to ground:
There should be less than 0.2 V.
  • Faulty windshield wiper/washer switch
  • An open or high resistance in the wire
Windshield wiper switch OFF Measure the voltage to ground:
There should be battery voltage.
  • Faulty windshield wiper/washer switch
  • A short to ground in the wire
D3
D9
WHT
BRN
Windshield wiper switch (LO or HI) ON Measure the voltage to ground:
There should be less than 0.2 V.
  • Faulty windshield wiper/washer switch
  • An open or high resistance in the wire
Windshield wiper switch OFF Measure the voltage to ground:
There should be battery voltage.
  • Faulty windshield wiper/washer switch
  • A short to ground in the wire
D5
D9
YEL
BRN
Windshield washer switch ON Measure the voltage to ground:
There should be less than 0.2 V.
  • Faulty windshield wiper/washer switch
  • An open or high resistance in the wire
Windshield washer switch OFF Measure the voltage to ground:
There should be battery voltage.
  • Faulty windshield wiper/washer switch
  • A short to ground in the wire
E21*2
D9
GRY
BRN
Windshield wiper switch (Intermittent dwell time controller) turned ON. Measure the voltage between terminals E21 and D9:
The voltage should vary between 0 to 5 V.
  • Faulty windshield wiper/washer switch
  • An open or high resistance in the ground wire
  • A short to ground in the wire

*1: CVT

*2: With intermittent dwell time controller

*3: Except L15BY engine

*4: L15BY engine

Windshield Wiper Control Unit/Motor 

6. Turn the vehicle to the OFF (LOCK) mode.

7. Disconnect the windshield wiper control unit/motor 6P connector

.

GHH407559Courtesy of HONDA, U.S.A., INC.

8. Inspect the connectors and socket terminals to be sure they are all making good contact:

9. With the connectors still disconnected, do the following input tests:

Cavity Wire Test condition Test: Desired result Possible cause if desired result is not obtained
2 BLU Under all conditions Measure the voltage to ground:
There should be battery voltage.
1 BLK Under all conditions Measure the voltage to ground:
There should be less than 0.2 V.
  • Poor ground (G301 *1, G302 *2)
  • An open or high resistance in the ground wire
3 WHT Disconnect body control module connector B (36P) Check for continuity between terminal No. 3 and body control module connector B (36P) terminal No. 10:
There should be continuity.
An open or high resistance in the wire
4 YEL Disconnect body control module connector C (28P) Check for continuity between terminal No. 4 and body control module connector C (28P) terminal No. 13:
There should be continuity.
An open or high resistance in the wire

*1: Except L15BY engine

*2: L15BY engine

10. If multiple failures are found on more than one control unit, replace the body control module . If input failures are related to a particular control unit, replace the windshield wiper control unit/motor .