LEMON Manuals: Even more car manuals for everyone: 1960-2025
Home >> Honda >> 2019 >> Clarity Plug-In Hybrid >> Repair and Diagnosis >> Engine Performance >> System >> Engine Control System - Advanced Diagnostics (P081C - U160B) (Plug-In) >> Advanced Diagnostics >> DTC P1719
April 5, 2026: LEMON Manuals is launched! Read the announcement.

DTC P1719

DTC P1719:  Park Pawl System Stuck Malfunction

General Description 

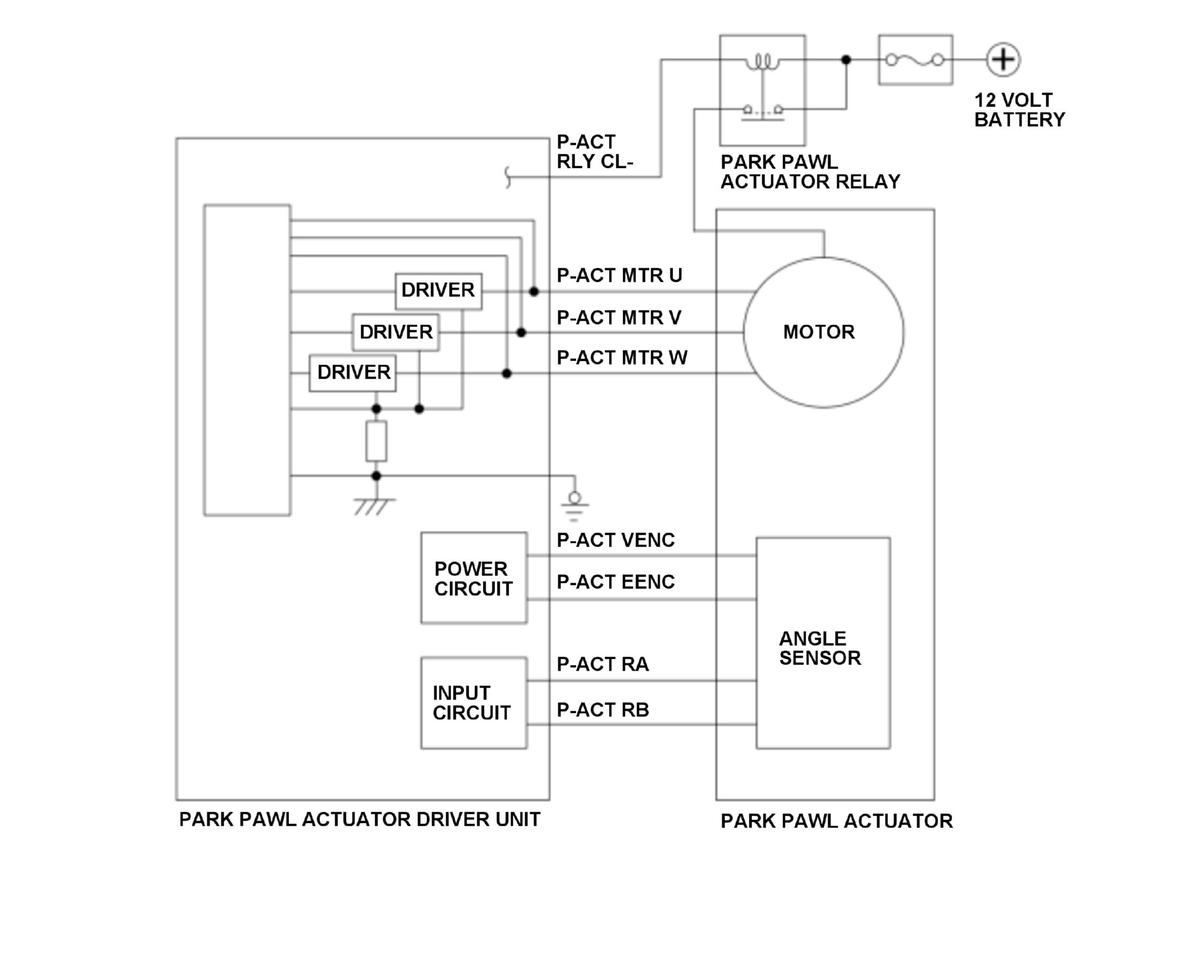
GHH416834Courtesy of HONDA, U.S.A., INC.

The park pawl actuator driver unit controls shifting/releasing of the park pawl actuator to/from the P position. If the shifting to/releasing from P position operation does not complete for a specified length of time or more after a shifting to/releasing from P position command is output from the park pawl actuator driver unit, the powertrain control module (PCM) receives malfunction from the park pawl actuator driver unit, and stores a DTC.

Monitor Execution, Sequence, Duration, DTC Type 

Execution -
Sequence None
Duration 5.0 seconds or more
DTC Type One drive cycle, MIL off, Shift position indicator blinks

Enable Conditions 

Condition Minimum Maximum
12 volt battery voltage [Battery Voltage] 10.5 V -

[ ]: HDS Parameter

Malfunction Threshold 

The shifting to/releasing from P position operation does not complete for at least 5.0 seconds after a shifting to/releasing from P position command is output from the park pawl actuator driver unit.

Possible Cause 

NOTE: The causes shown may not be a complete list of all potential problems, and it is possible that there may be other causes.
  • Park pawl actuator internal failure
  • Park mechanism failure

Confirmation Procedure 

Operating Condition 

  1. Turn the vehicle to the ON mode, and wait for at least at 10 seconds.
  2. While pressing the brake pedal, shift to N position/mode, then shift to P position/mode and wait at least 5 seconds.

With the HDS 

None.

Diagnosis Details 

Conditions for setting the DTC 

When a malfunction is detected, the shift position indicator blinks and a Pending DTC, a Confirmed DTC, and the freeze data are stored in the PCM memory. The MIL does not come on.

Conditions for clearing the DTC 

The shift position indicator comes off by turning the vehicle to the OFF (LOCK) mode. The Pending DTC, the Confirmed DTC, and the freeze data can be cleared with the scan tool Clear command or by disconnecting the 12 volt battery.