LEMON Manuals: Even more car manuals for everyone: 1960-2025
Home >> Honda >> 2019 >> Clarity Plug-In Hybrid >> Repair and Diagnosis >> Engine Performance >> System >> Engine Control System - Advanced Diagnostics (P081C - U160B) (Plug-In) >> Advanced Diagnostics >> DTC P1720
April 5, 2026: LEMON Manuals is launched! Read the announcement.

DTC P1720

DTC P1720:  Park Pawl Motor Current Range/Performance

General Description 

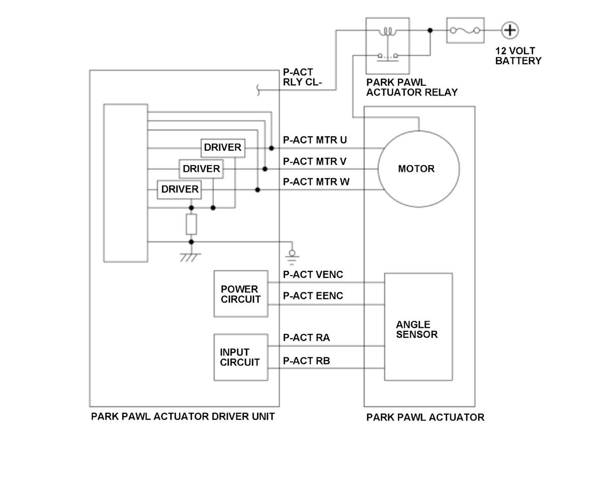
GHH416838Courtesy of HONDA, U.S.A., INC.

The park pawl actuator driver unit controls shifting/releasing of the park pawl actuator to/from the P position. The park pawl actuator driver unit monitors the current flowing into the park pawl actuator. If the current flowing into the park pawl actuator continues to be a specified value or more for a specified length of time or more, the powertrain control module (PCM) receives malfunction from the park pawl actuator driver unit, and stores a DTC.

Monitor Execution, Sequence, Duration, DTC Type 

Execution -
Sequence None
Duration 48 milliseconds or more
DTC Type One drive cycle, MIL on, Shift position indicator blinks

Enable Conditions 

Condition  
Vehicle ON mode

Malfunction Threshold 

The total value of the current flowing into the park pawl actuator (P-ACT MTR U, P-ACT MTR V, and P-ACT MTR W lines) continues to be 50 A or more for at least 48 milliseconds.

Possible Cause 

NOTE: The causes shown may not be a complete list of all potential problems, and it is possible that there may be other causes.
  • Park pawl actuator driver unit P-ACT MTR U line short to power
  • Park pawl actuator driver unit P-ACT MTR V line short to power
  • Park pawl actuator driver unit P-ACT MTR W line short to power
  • Park pawl actuator driver unit internal failure
  • Park pawl actuator internal failure

Confirmation Procedure 

Operating Condition 

Turn the vehicle to the ON mode, and wait for at least 10 seconds.

With the HDS 

None.

Diagnosis Details 

Conditions for setting the DTC 

When a malfunction is detected, the MIL comes on, the shift position indicator blinks and a Pending DTC, a Confirmed DTC, and the freeze data are stored in the PCM memory.

Conditions for clearing the DTC 

The shift position indicator comes off by turning the vehicle to the OFF (LOCK) mode. The MIL is cleared if the malfunction does not return in three consecutive trips in which the diagnostic runs the MIL, the Pending DTC, the Confirmed DTC, and the freeze data can be cleared with the scan tool Clear command or by disconnecting the 12 volt battery.