LEMON Manuals: Even more car manuals for everyone: 1960-2025
Home >> Honda >> 2019 >> Clarity Plug-In Hybrid >> Repair and Diagnosis >> Engine Performance >> System >> Engine Control System - Advanced Diagnostics (P081C - U160B) (Plug-In) >> Advanced Diagnostics >> DTC P1722
April 5, 2026: LEMON Manuals is launched! Read the announcement.

DTC P1722

DTC P1722:  Park Pawl Motor Torque Malfunction of learning mode

General Description 

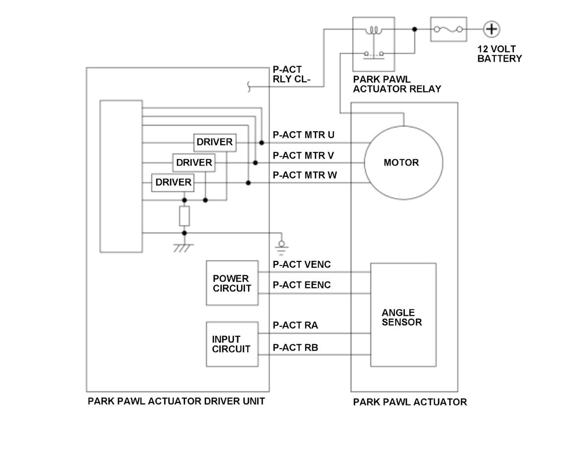
GHH416840Courtesy of HONDA, U.S.A., INC.

The park pawl actuator driver unit controls shifting/releasing of the park pawl actuator to/from the P position. The park pawl actuator driver unit performs the initial learning when the vehicle is turned to the ON mode and controls to limit the current flowing into the park pawl actuator. If the current flowing into the park pawl actuator during the initial learning continues to be a specified value or more for a specified length of time or more, the powertrain control module (PCM) receives malfunction from the park pawl actuator driver unit, and stores a DTC.

Monitor Execution, Sequence, Duration, DTC Type 

Execution -
Sequence None
Duration 32 milliseconds or more
DTC Type Two drive cycle, MIL off, Shift position indicator off

Enable Conditions 

Condition Minimum Maximum
12 volt battery voltage [Battery Voltage] 7.0 V -

[ ]: HDS Parameter

Malfunction Threshold 

The total value of the current flowing into the park pawl actuator during the initial learning (P-ACT MTR U, P-ACT MTR V, and P-ACT MTR W lines) continues to be 15 A or more for at least 32 milliseconds.

Possible Cause 

NOTE: The causes shown may not be a complete list of all potential problems, and it is possible that there may be other causes.
  • Park pawl actuator driver unit internal failure

Confirmation Procedure 

Operating Condition 

Turn the vehicle to the ON mode, and wait for at least 10 seconds.

With the HDS 

None.

Diagnosis Details 

Conditions for setting the DTC 

When a malfunction is detected during the first drive cycle, a Pending DTC is stored in the PCM memory. If the malfunction returns in the next (second) drive cycle, a Confirmed DTC and the freeze data are stored. The MIL does not come on and the shift position indicator does not blink.

Conditions for clearing the DTC 

The Pending DTC, the Confirmed DTC, and the freeze data can be cleared with the scan tool Clear command or by disconnecting the 12 volt battery.