LEMON Manuals: Even more car manuals for everyone: 1960-2025
Home >> Honda >> 2019 >> Clarity Plug-In Hybrid >> Repair and Diagnosis >> Engine Performance >> System >> Engine Control System - Advanced Diagnostics (P081C - U160B) (Plug-In) >> Advanced Diagnostics >> DTC P1723
April 5, 2026: LEMON Manuals is launched! Read the announcement.

DTC P1723

DTC P1723:  Park Pawl System Initial Check Error

General Description 

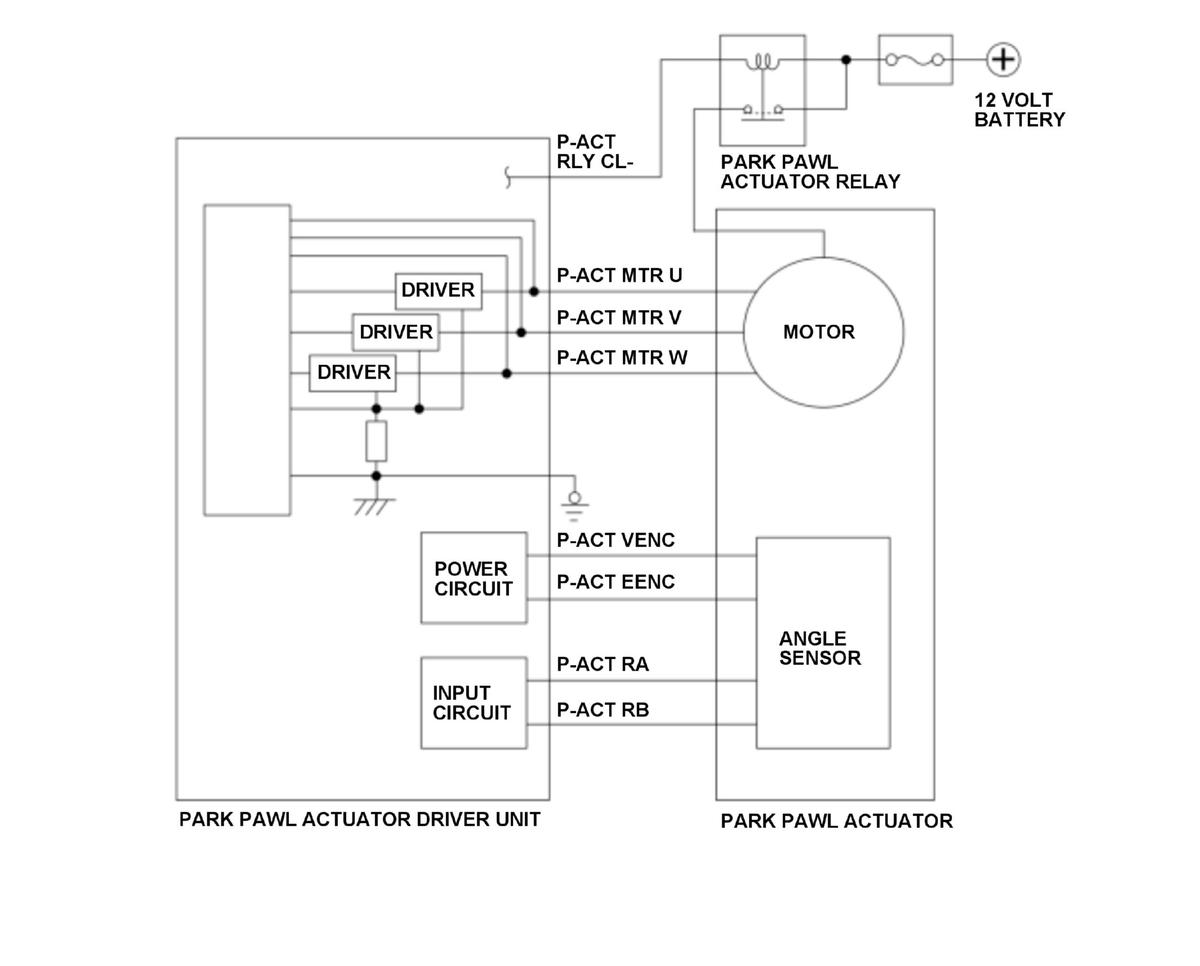
GHH416841Courtesy of HONDA, U.S.A., INC.

The park pawl actuator driver unit controls shifting/releasing of the park pawl actuator to/from the P position. The park pawl actuator driver unit performs the initial learning when the vehicle is turned to the ON mode. If the initial learning does not complete even when a specified length of time or more has passed after the vehicle is turned to the ON mode, the powertrain control module (PCM) receives malfunction from the park pawl actuator driver unit, and stores a DTC.

Monitor Execution, Sequence, Duration, DTC Type 

Execution -
Sequence None
Duration 5.0 seconds or more
DTC Type One drive cycle, MIL off, Shift position indicator blinks

Enable Conditions 

Condition Minimum Maximum
12 volt battery voltage [Battery Voltage] 10.5 V -

[ ]: HDS Parameter

Malfunction Threshold 

The initial learning continues to be performed for 5.0 seconds or more after the vehicle is turned to the ON mode.

Possible Cause 

NOTE: The causes shown may not be a complete list of all potential problems, and it is possible that there may be other causes.
  • Park pawl actuator internal failure
  • Park mechanism failure

Confirmation Procedure 

Operating Condition 

Turn the vehicle to the ON mode, and wait for at least 10 seconds.

With the HDS 

None.

Diagnosis Details 

Conditions for setting the DTC 

When a malfunction is detected, the shift position indicator blinks and a Pending DTC, a Confirmed DTC, and the freeze data are stored in the PCM memory. The MIL does not come on.

Conditions for clearing the DTC 

The shift position indicator comes off by turning the vehicle to the OFF (LOCK) mode. The Pending DTC, the Confirmed DTC, and the freeze data can be cleared with the scan tool Clear command or by disconnecting the 12 volt battery.