LEMON Manuals: Even more car manuals for everyone: 1960-2025
Home >> Honda >> 2019 >> Clarity Plug-In Hybrid >> Repair and Diagnosis >> Engine Performance >> System >> Engine Control System - Advanced Diagnostics (P081C - U160B) (Plug-In) >> Advanced Diagnostics >> DTC P1728
April 5, 2026: LEMON Manuals is launched! Read the announcement.

DTC P1728

DTC P1728:  Park Pawl Motor Voltage Low

General Description 

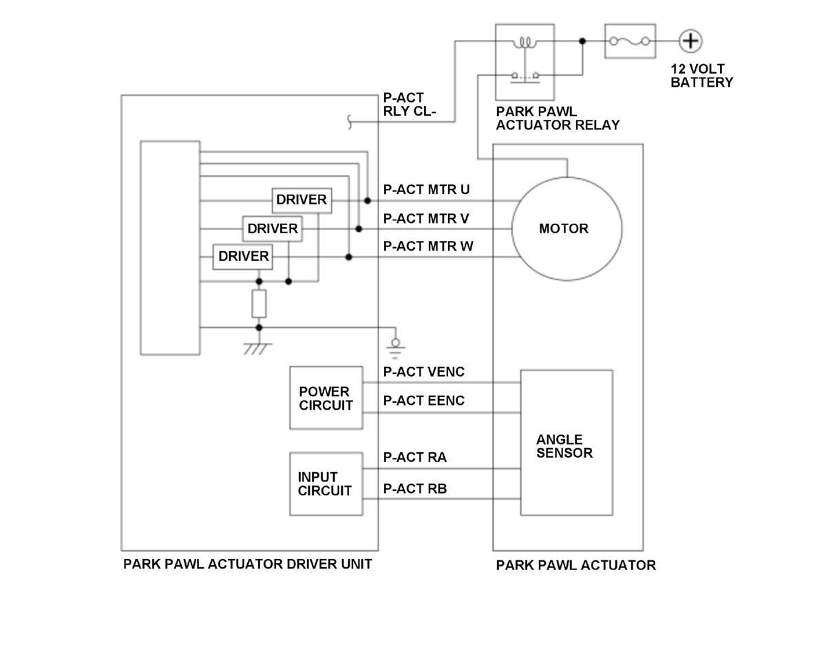
GHH416845Courtesy of HONDA, U.S.A., INC.

The park pawl actuator driver unit controls shifting/releasing of the park pawl actuator to/from the P position. The park pawl actuator driver unit monitors the voltage supplied to the park pawl actuator using three lines (P-ACT MTR U, P-ACT MTR V, and P-ACT MTR W). If the voltage input to the park pawl actuator continues to be a specified value or less for a specified length of time or more, the powertrain control module (PCM) receives malfunction from the park pawl actuator driver unit, and stores a DTC.

Monitor Execution, Sequence, Duration, DTC Type 

Execution -
Sequence None
Duration 40 milliseconds or more
DTC Type One drive cycle, MIL on, Shift position indicator blinks

Enable Conditions 

Condition Minimum Maximum
12 volt battery voltage [BATTERY VOLTAGE] 10.5 V -
Other After 56 milliseconds have passed since the park pawl actuator relay was turned ON.

[ ]: HDS Parameter

Malfunction Threshold 

The voltage input to the park pawl actuator continues to be 2.76 V or less for 40 milliseconds or more.

Possible Cause 

NOTE: The causes shown may not be a complete list of all potential problems, and it is possible that there may be other causes.
  • Park pawl actuator driver unit P-ACT MTR U line open (includes a loose or disconnected connector)
  • Park pawl actuator driver unit P-ACT MTR V line open (includes a loose or disconnected connector)
  • Park pawl actuator driver unit P-ACT MTR W line open (includes a loose or disconnected connector)
  • Park pawl actuator driver unit P-ACT RLY CL- line open (includes a loose or disconnected connector)
  • Park pawl actuator BMA line open (includes a loose or disconnected connector)
  • Park pawl actuator driver unit P-ACT MTR U line short to ground
  • Park pawl actuator driver unit P-ACT MTR V line short to ground
  • Park pawl actuator driver unit P-ACT MTR W line short to ground
  • Park pawl actuator driver unit P-ACT RLY CL- line short to power
  • Park pawl actuator driver unit internal failure

Confirmation Procedure 

Operating Condition 

  1. Turn the vehicle to the ON mode, and wait for at least 10 seconds

With the HDS 

None.

Diagnosis Details 

Conditions for setting the DTC 

When a malfunction is detected, the MIL comes on, the shift position indicator blinks and a Pending DTC, a Confirmed DTC, and the freeze data are stored in the PCM memory.

Conditions for clearing the DTC 

The shift position indicator comes off by turning the vehicle to the OFF (LOCK) mode. The MIL is cleared if the malfunction does not return in three consecutive trips in which the diagnostic runs the MIL, the Pending DTC, the Confirmed DTC, and the freeze data can be cleared with the scan tool Clear command or by disconnecting the 12 volt battery.