LEMON Manuals: Even more car manuals for everyone: 1960-2025
Home >> Honda >> 2019 >> Fit EX, Standard Trans >> Repair and Diagnosis >> Engine Performance >> Engine Control Systems >> Engine Control System & Engine Mechanical - Service Information >> Removal & Installation >> PCM Removal and Installation >> Removal
April 5, 2026: LEMON Manuals is launched! Read the announcement.

PCM Removal and Installation: Removal

NOTE: 

  1. HDS - Connect
    GHH81356Courtesy of HONDA, U.S.A., INC.
    1. Turn the vehicle to the ON mode, but do not start the engine.

    2. Connect the HDS to the DLC (A) located under the driver's side of the dashboard.

    3. Make sure the HDS communicates with the PCM and other vehicle systems. If it doesn't, go to the DLC circuit troubleshooting .

  2. READ DATA (Engine Oil Life) - Select (USA and Canada Models)
      1. Select the PGM-FI system with the HDS

    2. Select the REPLACE PCM MENU, then select READ DATA, and follow the screen prompts.

    NOTE: 

    • Doing this step copies (READS) the engine oil life data from the original PCM so you can later download (WRITES) them into the new PCM.
    • If the READ DATA indicates FAILED, continue with this procedure.
  3. SCS - Short
      1. Jump the SCS line with the HDS

    2. Turn the vehicle to the OFF (LOCK) mode.

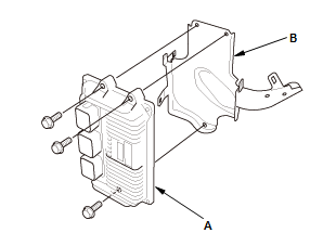
  4. PCM - Remove
    GHH81357Courtesy of HONDA, U.S.A., INC.
    1. Remove the PCM cover (A).
    GHH81358Courtesy of HONDA, U.S.A., INC.
    2. Disconnect PCM connectors A, B, and C.

    NOTE:  PCM connectors A, B, and C have symbols (A=□, B=Δ, C=◦) embossed on them for identification

    3. Remove the PCM bracket (D) with the PCM (E).

    GHH81359Courtesy of HONDA, U.S.A., INC.
    4. Remove the PCM (A) from the PCM bracket (B).