LEMON Manuals: Even more car manuals for everyone: 1960-2025
Home >> Honda >> 2020 >> Accord EX >> Repair and Diagnosis (Single Page) >> Accessories & Equipment >> Anti-Theft Systems >> Security System / Keyless Entry System - Testing & Troubleshooting (Except Hybrid) >> Description & Operation >> Keyless/Power Door Locks/Security System Description
April 5, 2026: LEMON Manuals is launched! Read the announcement.

Keyless/Power Door Locks/Security System Description

Overview 

Keyless Entry System 

The non-selectable unlock function: When you press the LOCK button, all doors lock. When you press the UNLOCK button, all doors unlock. The doors will not lock with the remote if a door is not fully closed, or if the vehicle is in the ON mode.

The selectable unlock function; When you press the LOCK button, all doors lock. When you press the UNLOCK button once, only the driver's door unlocks. The other doors will unlock when you press the button a second time. (Depending on the settings in the multi-information display (MID) all the doors may unlock when you press the button the first time). The doors will not lock with the transmitter if a door is not fully closed, or if the vehicle is in the ON mode.

When the switch for the interior light is in the DOOR position, it comes on when the UNLOCK button is pressed.If a door is not opened, the light goes off and the doors will relock in about 30 seconds. If the doors are locked with the transmitter within 30 seconds, the light goes off immediately.

Door Lock Control 

The door lock control function allows the body control module to detect the status of various switch signals and control each actuator in order to lock and unlock the doors.

The system has three circuits between the door lock actuators and the body control module to improve safety of the system. One is for the driver's door lock actuator, and others are for the left rear door lock actuator and passenger's side door lock actuators. The door lock actuator circuit has two fuses. When one fuse is blown, another fuse in the same circuit must be checked.

GHH397956Courtesy of HONDA, U.S.A., INC.

Trunk Lid Control 

The trunk lid control function allows the body control module to detect the status of various switch signals and control trunk lid release actuator in order to lock and unlock the trunk.

GHH397957Courtesy of HONDA, U.S.A., INC.

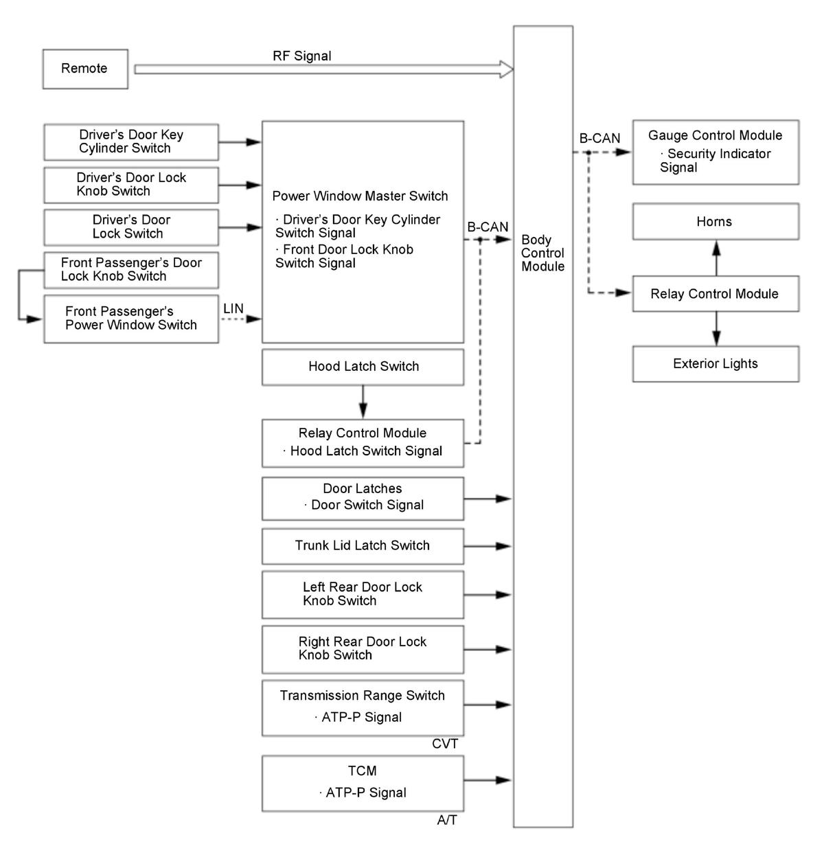
Keyless Door Lock Control 

The remote transmits a lock or unlock signal to the body control module, which then controls the door lock actuator by the B-CAN and other various switch signals. The customization menu can set the relock timer value.

GHH397958Courtesy of HONDA, U.S.A., INC.

Keyless Door Lock Control (Trunk Lid) 

The remote transmits a unlock signal to the body control module, which then controls the trunk lid release actuator.

GHH397959Courtesy of HONDA, U.S.A., INC.

Keyless Answer Back Control 

When using the remote, the body control module provides an answer back function to alert the operator that the body control module received a lock or unlock command from the remote. When the body control module receives a lock signal, the body control module sends the turn signal light signal once. When the body control module receives an unlock signal, it sends the turn signal light signal two times.

Lock 

GHH397960Courtesy of HONDA, U.S.A., INC.

Unlock 

GHH397961Courtesy of HONDA, U.S.A., INC.

Key Lockout Prevent Function 

The body control module monitors whether or not there is a remote in the vehicle. If a remote is in the vehicle, the system will not lock the doors. If the driver manually locks and closes the doors with the remote in the vehicle, the body control module energizes the driver's door lock actuator and unlocks the driver's door.

GHH397962Courtesy of HONDA, U.S.A., INC.

Automatic Door Lock/Unlock Control 

The automatic door lock/unlock control function allows the body control module to detect the status of B-CAN and other various switch signals and controls each actuator in order to automatically lock/unlock the doors.

Automatic Door Lock Function: 

Automatic Door Unlock Function: 

Customizing Function: 

The locking method can be set as non-link, link to vehicle speed, link to shift position/mode, or link to engine start/stop switch by the customizing function. For more information about customize options, refer to the Owner's manual.

Security Control 

When the security alarm is set, the body control module sends the security set signal using the B-CAN.

GHH397963Courtesy of HONDA, U.S.A., INC.

Security system operating term 

Start setting
  • Lock the door using a mechanical key
  • Lock the door by using the remote
  • Lock the door by pressing the door outer handle lock sensor while having the remote *
  • Operate a keyless relock
Cancellation
  • Unlock the door by using the remote
  • Unlock the door by smart function *
  • Press the engine start/stop switch button while having the remote
Setting conditions (related systems are normally operated)
  • Door switch OFF (Door close)
  • Door unlock knob switch OFF (Lock)
  • Trunk lid latch switch OFF (Trunk close)
  • Driver's door key cylinder switch OFF
  • Hood latch switch ON (Hood close)
  • Vehicle OFF (LOCK) mode
  • Shift P position/mode (Except MT)
Start the alarm When any of the monitoring switch signal inputs are received without the signal for cancelling setting
Cancel the alarm Compliant with the conditions for cancelling setting

*: With keyless access system

Security Setting 

When the security alarm is set, the body control module sends the security set signal using the B-CAN. When the gauge control module receives a security set signal from the body control module, the security indicator flashes at a slower pace to indicate the system has armed.

GHH397964Courtesy of HONDA, U.S.A., INC.

Security Alarm 

With the security system armed, manually opening the hood, the trunk, moving the door lock knob to the unlock position, or shift to other than P position/mode activates the security alarm. Alternatively, the security alarm sounds, the headlights low beam, the front parking lights, the taillights, the license plate light, and the side marker lights blink, repeating this alarm (one cycle is 120 seconds). Even if you remove the 12 volt battery, the alarming state cannot be changed. The alarm starts again when reinstalling the 12 volt battery.

GHH397965Courtesy of HONDA, U.S.A., INC.

Security Answer Back Control 

When the body control module receives a lock signal, the body control module sends signals once to the turn signal lights, and the keyless buzzer will sound once when you operates the lock again within 5 seconds.

GHH397966Courtesy of HONDA, U.S.A., INC.