LEMON Manuals: Even more car manuals for everyone: 1960-2025
Home >> Honda >> 2021 >> CR-V EX, AWD >> Repair and Diagnosis (Single Page) >> Accessories & Equipment >> Anti-Theft Systems >> Security System / Keyless Entry System - Testing & Troubleshooting (Except Hybrid) >> Description And Operation >> Keyless Access System >> Keyless Access System Description
April 5, 2026: LEMON Manuals is launched! Read the announcement.

Keyless Access System Description

Smart Entry Function 

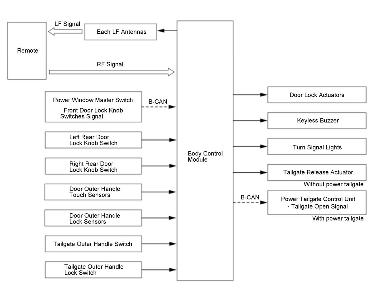
The body control module detects the input signal of the door outer handle touch sensor, the outer handle lock sensor, or the tailgate outer handle switch, the tailgate lock switch, and authenticates 2-way communication with the remote. The body control module then activates the door lock/unlock actuator or tailgate release actuator and an answer back. For details on the illumination patterns of the warning lights and the functional check of the system, refer to keyless access system symptom troubleshooting information .

GHH430588Courtesy of HONDA, U.S.A., INC.

Keyless Entry Function 

The body control module receives the keyless transmitter LOCK/UNLOCK signals from the remote. The body control module authenticates the RF signal from the remote, then activates the door and tailgate release actuator (without power tailgate), and the power tailgate control unit (with power tailgate) via B-CAN.

GHH430589Courtesy of HONDA, U.S.A., INC.

Lighting and Indicator Function 

The body control module controls the engine start/stop switch light, displays information on the information display *1 or the multi-information display (MID) *2, and illuminates the keyless access indicators in the gauge control module.

*1: Without multi-information display (MID)

*2: With multi-information display (MID)

Remote Search Function 

The function determines if the remote is present inside the vehicle during certain operations or functions. It also detects when the door is opened and closed with the vehicle in the ACCESSORY/ON mode. When the remote is taken out of the vehicle, the keyless buzzer will sound and the gauge control module (Only when the vehicle is in the ON mode) will show a warning.

Backup Communication Function 

When key authentication between the remote and the body control module is not possible because of a system abnormality or a drop of the battery voltage of the remote, the immobilizer function can be canceled by pressing the engine start/stop switch once and bringing the remote close to the engine start/stop switch while the light (white) of the engine start/stop switch is flashing. This causes the immobilizer signal to be sent to the body control module via the LF antenna of the engine start/stop switch.

GHH430590Courtesy of HONDA, U.S.A., INC.

Remote Engine Start System (With Remote Engine Start) 

Start the Engine 

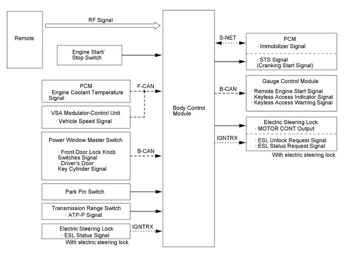
The remote engine start feature is initiated by first pressing the lock button, then pressing and holding the "START" button within 5 seconds on the remote transmitter. An RF signal from the remote transmitter is received by the body control module, which then sends the request to start the engine to the PCM. At the same time, the body control module authenticates the key for the immobilizer system. The PCM starts the engine and sends feedback to the body control module indicating the status of the engine.

GHH430591Courtesy of HONDA, U.S.A., INC.

Electric Steering Lock (For some models) 

The electric steering lock control unit is built into the electric steering lock and controls the steering lock motor. When the remote code is identified, the electric steering lock control unit unlocks the steering lock by controlling the steering lock motor.

GHH430592Courtesy of HONDA, U.S.A., INC.

Key Lockout Prevent Function 

The lockout prevent function monitors whether or not there is a remote in the vehicle. If the remote is inside the vehicle, the system will not lock the doors. If the driver manually locks and closes the doors with the remote in the vehicle, the body control module energizes the driver's door lock actuator and unlocks the driver's door. Additionally, if the tailgate is closed with the remote left in the rear cargo area, the external RF unit detects its location and does not lock the tailgate.

GHH430593Courtesy of HONDA, U.S.A., INC.

Immobilizer Function 

The immobilizer function provides mutual authentication between the body control module, the PCM, and the VSA modulator-control unit the vehicle is turned to the ON mode. The engine stays running after engine start-up if the immobilizer signal matches. The body control module authenticates the VSA modulator-control unit and the immobilizer signal only one time, when the vehicle is turned to the ON mode after resetting of the battery, removing and installing the back-up fuse or removing and installing the VSA modulator-control unit.For some models, the brake pedal must be depressed to perform the immobilizer authentication.

GHH430594Courtesy of HONDA, U.S.A., INC.

Alarm Function 

Detects if the doors are opened or closed with the vehicle in the ACCESSORY/ON mode. When the remote is taken out of the vehicle, the keyless buzzer will sound and the gauge control module (during vehicle ON mode) will show a warning. Before the remote battery level falls to the point where the remote cannot be detected, the gauge control module will show a warning and an alarm will sound.

Registration Facility 

The body control module can store up to 6 remotes with the HDS.

Fault Diagnosis Function 

The system has a fault diagnosis function. If any malfunction occurs, the keyless access indicator comes on in the gauge control module.

Customer Emergency 

When the engine start/stop switch is pressed continuously at least twice or once for 1.5 seconds or longer in an emergency while driving, the engine turns off, and the vehicle mode switches to ACCESSORY. In this mode, the steering wheel remains unlocked.

Panic Function 

When you press the PANIC button on the remote, the body control module sounds the horn, and activates the exterior lights.

Walk Away Auto Lock Function (If Equipped) 

The walk away auto lock system detects where the remote is and locks all doors and the tailgate when all the doors and the tailgate are closed and the remote is outside of the vehicle and out of the range. To operate the walk away auto lock system, it is necessary to enter the auto lock mode. To enter the auto lock mode, the following conditions must be met:

Once the system enters the auto lock mode, the keyless beeper sounds once. When the remote is carried beyond 2 m (6 ft) from the vehicle and remains outside of this range for more than 2 seconds, the system engages and locks all of the doors including the tailgate. At that time, the keyless buzzer sounds and some exterior lights will flash. However, if the remote remains within 2 m (6 ft) from the vehicle for 30 seconds or more after entering the auto lock mode, the doors and tailgate will automatically lock.

The system does not work under the following conditions:

The following conditions will cause a delay for the system to engage:

The walk away auto lock system can be cancelled temporarily by using the customized settings. See the owner's manual for more information.

Keyless Access System Operation Manual Customize 

The keyless access system can be enabled and disabled by the operation according to the table shown below. The system is enabled and disabled each time the unlock button is pressed on the remote during the customize mode.

GHH430595Courtesy of HONDA, U.S.A., INC.

Failsafe Function 

If there is a failure in the keyless access system that terminates the keyless access features, the system enters the failsafe mode and the keyless access indicator flashes.